THRUSTMASTER TCA Quadrant Add On Airbus Edition Ergonomic Airbus Replicas Throttle

TECHNICAL FEATURES


- Speed brake (air brake) axis
- 4 detents on the axis + 5 virtual buttons
- 6 action buttons
- Flaps axis
- 4 detents on the axis
- 4 action buttons
- Friction adjustment screw on each module
- Mechanism to disable/enable the detents on each axis
- SATA connectors for TCA Quadrant Airbus Edition (sold separately)
CONNECTING THE TCA QUADRANT ADD-ON AIRBUS EDITION MODULES TO THE TCA QUADRANT AIRBUS EDITION*
*Sold separately
In order to use the TCA Quadrant Add-On Airbus Edition modules, you must own a TCA Quadrant Airbus Edition (sold separately). The TCA Quadrant Add-On Airbus Edition modules are an extension of the TCA Quadrant Airbus Edition throttle quadrant, and only work when connected to both sides of the TCA Quadrant Airbus Edition.
This modularity adds new axes and action buttons, and lets you extend the kinematics (takeoff, in-flight and landing) of the TCA Quadrant Airbus Edition.
- Turn all of the devices upside down and, using a screwdriver with the corresponding head shape (not included), screw on the four attachment pieces included with the TCA Quadrant Airbus Edition and the TCA Quadrant Add-On Airbus Edition modules, to attach everything together.
- Connect the speed brake module to the left of the TCA Quadrant Airbus Edition and the flaps module to the right, using the SATA cables included with the TCA Quadrant Add-On Airbus Edition.



![]() – To avoid damaging the products, use a screwdriver with the corresponding head shape (not included) to tighten/untighten the screws. |
INSTALLATION ON PC
- Please visit https://support.thrustmaster.com. Click Joysticks / TCA Quadrant Airbus Edition (or TCA Quadrant Add-On Airbus Edition), and select Drivers.
Download and install the PC driver and its customized interface for the Windows Control Panel. - Once the PC driver has been installed, connect the USB connector for the TCA Quadrant Airbus Edition to one of the USB ports on your PC.
- To access the Control Panel, click Start / Apps / Thrustmaster / Control Panel (in Windows® 10 / 8.1 / 8).
The Game Controllers dialog box appears.
The accessory is listed onscreen with the name TCA Q-Eng 1&2 (or TCA Q-Eng 3&4, depending on the position of the selector switch for the engines [5] on the TCA Quadrant Airbus Edition), along with OK status. - In the Game Controllers dialog box, click Properties to test and view all features, including those related to the TCA Quadrant Add-On Airbus Edition modules.

Enable virtual buttons: This feature lets you enable or disable the virtual buttons available on the axes for the throttle quadrant, and the speed brake module. Click Apply once you have selected the mode you want to use.
You are now ready to play!
![]() – In order to use the TCA Quadrant Add-On Airbus Edition modules, you must own a TCA Quadrant Airbus Edition (sold separately). |



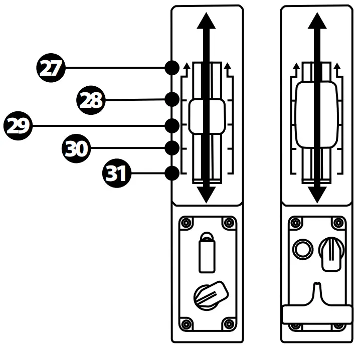
MAKING CHANGES TO THE AXES ON THE TCA QUADRANT ADD-ON AIRBUS EDITION MODULES
The TCA Quadrant Add-On Airbus Edition modules feature mechanical selectors allowing you to disable the detents/notches on each axis. Doing so allows you to have smooth axes, while maintaining virtual buttons 27 through 31 on the speed brake module.
This option lets you change the piloting sensations according to the type of aircraft being used in your simulation (commercial aircraft or civil aircraft).
- Turn the TCA Quadrant Add-On Airbus Edition modules upside down, and unscrew the two screws for each of the selectors using a screwdriver with the corresponding head shape (not included).
- Switch the position of the selectors, using the indicators as a guide: this will let you choose either a smooth axis, or an axis with detents/notches, for each axis on the TCA Quadrant Add-On Airbus Edition modules.

ADJUSTING THE FRICTION
IMPORTANT NOTES:
– The friction on the TCA Quadrant Add-On Airbus Edition modules is set to 50% by default.
– In order to allow for precise adjustment according to your preferences, you can use a screwdriver with the corresponding head shape (not included) — or the crossbar included with the TCA Quadrant Airbus Edition — to turn the friction adjustment screws.
- Push both TCA Quadrant Add-On Airbus Edition module levers forward to their maximum values, and then access the friction adjustment screw at the back of each module.
- To increase the friction, turn the friction adjustment screw clockwise.

- To decrease the friction, turn the friction adjustment screw counterclockwise.

![]() – To avoid damaging the friction system, be careful not to over-tighten the adjustment screws: stop turning the screws when you feel resistance. |
ATTACHING THE TCA QUADRANT AIRBUS EDITION* AND THE TCA QUADRANT ADD-ON AIRBUS EDITION MODULES TO THE TM FLYING CLAMP*, A COCKPIT* OR OTHER STATIONARY SURFACE
*Sold separately
You can use the 6 perforations located on the underside of the TCA Quadrant Airbus Edition, when connected to the TCA Quadrant Add-On Airbus Edition modules, to attach all of the devices to a stationary surface, using M6 screws (not included).

Attachment diagram for the TM Flying Clamp* (*sold separately):

T.A.R.G.E.T ADVANCED PROGRAMMING SOFTWARE
(Thrustmaster Advanced pRogramming Graphical EdiTor)
Please visit https://support.thrustmaster.com. Click Joysticks / TCA Quadrant Airbus Edition (or TCA Quadrant Add-On Airbus Edition), then select Software. Download and install the T.A.R.G.E.T advanced programming software.
Main features of T.A.R.G.E.T:
– Different possible configurations for the axes.
– Different possible programming levels: Basic, Advanced and Script.
– Use of the Drag and Drop principle.
– Ability to combine the TCA Quadrant Airbus Edition throttle quadrant with various Thrustmaster joysticks (HOTAS Cougar, HOTAS Warthog, T.16000M, MFD Cougar Pack, all of which are also compatible with T.A.R.G.E.T), allowing them to be recognized as a single USB device.
– Access to advanced profiles created by the Thrustmaster community.
TROUBLESHOOTING AND WARNING
Visit https://support.thrustmaster.com to download the package containing the drivers allowing you to update the product’s firmware, providing you with more detailed control of the product’s features. |
- My TCA Quadrant Add-On Airbus Edition modules aren’t working properly, or seem to be improperly calibrated, when connected to the TCA Quadrant Airbus Edition.
– Visit https://support.thrustmaster.com to check whether a more recent firmware version is available: if so, follow the instructions to download and install it.
– Power off your PC, and disconnect the USB connector for the TCA Quadrant Airbus Edition throttle quadrant. Make sure that both SATA cables are properly connected to the devices.
– Power off your PC, and disconnect the USB connector for the TCA Quadrant Airbus Edition throttle quadrant. Then reconnect the USB connector, power on your PC again, and restart your game.
– When connecting the USB connector for the TCA Quadrant Airbus Edition throttle quadrant, always leave the rudder axis centered if you are using the TFRP rudder system (sold separately): never put your feet on the TFRP rudder system’s pedals when doing so. - I can’t configure my TCA Quadrant Add-On Airbus Edition modules with my TCA Quadrant Airbus Edition throttle quadrant.
– In your game’s Options / Controller / Gamepad or Joystick menu, select the appropriate configuration or completely reconfigure the controller’s options.
– Visit https://support.thrustmaster.com to check whether a more recent firmware version is available: if so, follow the instructions to download and install it.
– For more information, please refer to your game’s user manual or online help.
– You can also use the T.A.R.G.E.T (Thrustmaster Advanced pRogramming Graphical EdiTor) advanced programming software. - My TCA Quadrant Add-On Airbus Edition modules are too sensitive, or not sensitive enough.
– The axes for the TCA Quadrant Add-On Airbus Edition modules automatically calibrate themselves after a few movements, and after having reached the physical stops for the axes.
– In your game’s Options / Controller / Gamepad or Joystick menu, adjust the sensitivity and dead zones for your controller (if these options are available).
– You can also use the T.A.R.G.E.T (Thrustmaster Advanced pRogramming Graphical EdiTor) advanced programming software.
These devices are intended for use with respect to gaming entertainment purposes only. It is strictly forbidden to use these devices for professional training activities. |
CONSUMER WARRANTY INFORMATION
Worldwide, Guillemot Corporation S.A., whose registered office is located at Place du Granier, B.P. 97143, 35571 Chantepie, France (hereinafter “Guillemot”) warrants to the consumer that this Thrustmaster product shall be free from defects in materials and workmanship, for a warranty period which corresponds to the time limit to bring an action for conformity with respect to this product. In the countries of the European Union, this corresponds to a period of two (2) years from delivery of the Thrustmaster product.
In other countries, the warranty period corresponds to the time limit to bring an action for conformity with respect to the Thrustmaster product according to applicable laws of the country in which the consumer was domiciled on the date of purchase of the Thrustmaster product (if no such action exists in the corresponding country, then the warranty period shall be one (1) year from the original date of purchase of the Thrustmaster product). Not with standing the above, rechargeable batteries are covered by a warranty period of six (6) months from the date of original purchase.
Should the product appear to be defective during the warranty period, immediately contact Technical Support, who will indicate the procedure to follow. If the defect is confirmed, the product must be returned to its place of purchase (or any other location indicated by Technical Support).
Within the context of this warranty, the consumer’s defective product shall, at Technical Support’s option, be either replaced or returned to working order. If, during the warranty period, the Thrustmaster product is subject to such reconditioning, any period of at least seven (7) days during which the product is out of use shall be added to the remaining warranty period (this period runs from the date of the consumer’s request for intervention or from the date on which the product in question is made available for reconditioning, if the date on which the product is made available for reconditioning is subsequent to the date of the request for intervention). If permitted under applicable law, the full liability of Guillemot and its subsidiaries (including for consequential damages) is limited to the return to working order or the replacement of the Thrustmaster product. If permitted under applicable law, Guillemot disclaims all warranties of merchantability or fitness for a particular purpose.
This warranty shall not apply: (1) if the product has been modified, opened, altered, or has suffered damage as a result of inappropriate or abusive use, negligence, an accident, normal wear, or any other cause unrelated to a material or manufacturing defect (including, but not limited to, combining the Thrustmaster product with any unsuitable element, including in particular power supplies, rechargeable batteries, chargers, or any other elements not supplied by Guillemot for this product); (2) if the product has been used for any use other than home use, including for professional or commercial purposes (game rooms, training, competitions, for example); (3) in the event of failure to comply with the instructions provided by Technical Support; (4) to software, said software being subject to a specific warranty; (5) to consumables (elements to be replaced over the product’s lifespan: disposable batteries, audio headset of headphone ear pads, for example); (6) to accessories (cables, cases, pouches, bags, wrist straps, for example); (7) if the product was sold at public auction.
This warranty is nontransferable.
The consumer’s legal rights with respect to laws applicable to the sale of consumer goods in his or her country are not affected by this warranty.
Additional warranty provisions
During the warranty period, Guillemot shall not provide, in principle, any spare parts, as Technical Support is the only party authorized to open and/or recondition any Thrustmaster product (with the exception of any reconditioning procedures which Technical Support may request that the consumer carry out, by way of written instructions – for example, due to the simplicity and the lack of confidentiality of the reconditioning process – and by providing the consumer with the required spare part(s), where applicable).
Given its innovation cycles and in order to protect its know-how and trade secrets, Guillemot shall not provide, in principle, any reconditioning notification or spare parts for any Thrustmaster product whose warranty period has expired.
In the United States of America and in Canada, this warranty is limited to the product’s internal mechanism and external housing. In no event shall Guillemot or its affiliates be held liable to any third party for any consequential or incidental damages resulting from the breach of any express or implied warranties. Some States/Provinces do not allow limitation on how long an implied warranty lasts or exclusion or limitation of liability for consequential or incidental damages, so the above limitations or exclusions may not apply to you. This warranty gives you specific legal rights, and you may also have other rights which vary from State to State or Province to Province.
Liability
If permitted under applicable law, Guillemot Corporation S.A. (hereinafter “Guillemot”) and its subsidiaries disclaim all liability for any damages caused by one or more of the following: (1) the product has been modified, opened or altered; (2) failure to comply with assembly instructions; (3) inappropriate or abusive use, negligence, an accident (an impact, for example); (4) normal wear; (5) the use of the product for any use other than home use, including for professional or commercial purposes (game rooms, training, competitions, for example). If permitted under applicable law, Guillemot and its subsidiaries disclaim all liability for any damages unrelated to a material or manufacturing defect with respect to the product (including, but not limited to, any damages caused directly or indirectly by any software, or by combining the Thrustmaster product with any unsuitable element, including in particular power supplies, rechargeable batteries, chargers, or any other elements not supplied by Guillemot for this product).
DECLARATION OF CONFORMITY
CANADIAN COMPLIANCE NOTICE: this Class B digital apparatus meets all requirements of the Canadian Interference-Causing Equipment Regulations.
USA COMPLIANCE NOTICE: this equipment has been tested and found to comply with the limits for a Class B digital device, pursuant to Part 15 of the FCC rules. Operation is subject to the following two conditions:
(1) This device may not cause harmful interference, and
(2) This device must accept any interference received, including interference that may cause undesired operation.
These limits are designed to provide reasonable protection against harmful interference in a residential installation. This equipment generates, uses and can radiate radio frequency energy and, if not installed and used in accordance with the instructions, may cause harmful interference to radio communications. However, there is no guarantee that interference will not occur in a particular installation. If this equipment does cause harmful interference to radio or television reception, which can be determined by turning the equipment on and off, the user is encouraged to try to correct the interference by one or more of the following measures:
– Reorient or relocate the receiving antenna.
– Increase the separation between the equipment and receiver.
– Connect the equipment into an outlet on a circuit different from that to which the receiver is connected.
– Consult the dealer or an experienced radio/TV technician for help.
COPYRIGHT
© 2022 Guillemot Corporation S.A. All rights reserved. Thrustmaster® is a registered trademark of Guillemot Corporation S.A. Windows® is a registered trademark of Microsoft Corporation in the United States and/or other countries.
AIRBUS, its logo and product and service marks are registered trademarks of Airbus. All rights reserved.
© Airbus 2022. All rights reserved. Officially licensed by Airbus.
All other trademarks and brand names are hereby acknowledged and are property of their respective owners. Illustrations not binding. Contents, designs and specifications are subject to change without notice and may vary from one country to another. Made in China.
For more information go to www.P65Warnings.ca.gov |
ENVIRONMENTAL PROTECTION RECOMMENDATION
In the European Union: At the end of its working life, this product should not be disposed of with standard household waste, but rather dropped off at a collection point for the disposal of Waste Electrical and Electronic Equipment (WEEE) for recycling.
This is confirmed by the symbol found on the product, user manual or packaging.
Depending on their characteristics, the materials may be recycled. Through recycling and other forms of processing Waste Electrical and Electronic Equipment, you can make a significant contribution towards helping to protect the environment.
Please contact your local authorities for information on the collection point nearest you.
For all other countries: Please adhere to local recycling laws for electrical and electronic equipment.
Retain this information. Colors and decorations may vary.
Plastic fasteners and adhesives should be removed from the product before it is used.
www.thrustmaster.com
*Applicable to EU, UK and Turkey only

![]()
TECHNICAL SUPPORT
https://support.thrustmaster.com



























