Virtual Fly TQ6 Flight Sim Throttle Quadrant

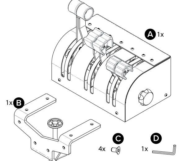
IN THE BOX
- A) TQ6 / TQ6+
- B) Clamp
- C) Allen Screws
- D) Allen Key

HARDWARE SETUP
Two possible ways of setting up the included clamp are: (1) on the backside or (2) on the bottom side. If setting the clamp on the bottom side, make sure you unscrew the two front rubber feet before.
Finally, connect the USB cable to the computer where the flight simulation software is running.
Changing the levers’ hardness
Your TQ6/TQ6+ offers the possibility to adapt the levers’ hardness to your preference. You can do so by turning the knobs, K or J, as seen in the picture, on the left and right sides of the TQ6/TQ6+. Once you have adjusted the knobs, move all the levers, from top to bottom, at the same time at least ten times.
SOFTWARE SETUP
The TQ6/TQ6+ interacts with any computer as a joystick
(HID), so it is compatible with any flight simulation software. Below, you have two options for setting up your TQ6/TQ6+ with the most popular flight simulation software: MSFS, Prepar3D, and X-Plane.
Using VFHUB
VFHub is the software built by Virtual Fly to reduce the complicated to the simple. It is the recommended software setup for your TQ6/TQ6+. With VFHub, you can fly your favorite flight simulation software without worrying about configuring your Virtual Fly flight controls.
You can download the VFHub installer from https://www.virtual-fly.com/downloads. The VFHub installer takes care of installing VFHub together with all the required modules. Connect the TQ6/TQ6+ to your computer, open VFHub, and start flying right away. VFHub takes care of making your TQ6/TQ6+ work with MSFS, Prepar3D, and X-Plane.
- If your device is a TQ6, make sure to calibrate the device in VFHub. For more details, check the VFHub user’s manual at
https://downloads.virtual-fly.com/docs/vfhub/latest/ VFHUB_USER’S_ MANUAL.pdf - If you use MSFS or X-Plane, set a blank profile to the TQ6/TQ6+ in the controls or joysticks setup menu before using your device. You can find the detailed steps on how to set a blank profile here: https://downloads.virtual-fly.com/docs/vfhub/latest/VFHUB_SET_BLANK_PROFILES.pdf
- If you want to customize how your TQ6/TQ6+ works, make sure you read the VFHub user’s manual available at
https://downloads.virtual-fly.com/docs/vfhub/latest/VFHUB_USER’S_MANUAL. pdf for detailed instructions on all the tuning and customization possibilities.
Using an alternative joystick configuration
Since the TQ6/TQ6+ interacts with any computer as a joystick (HID), it is compatible with any flight simulation software. Below, you have a general scheme for setting up your TQ6/TQ6+ with the most popular flight simulation software: MSFS, Prepar3D, and X-Plane.
MSFS
If you own a TQ6+, your device is ready to be used in MSFS. If you have a TQ6, don’t worry, you only need to calibrate it on Windows/MacOS/Linux first. Assign the axes inside the controls menu, and the TQ6/TQ6+ will be ready to be used.
Finally, restart MSFS and verify that the device is configured correctly. Please note that reverse zones do not work if you do not use VFHub.
Prepar3D
If you own a TQ6+, your device is ready to be used in Prepar3D. If you have a TQ6, don’t worry, you only need to calibrate it on Windows/MacOS/Linux first. Open Prepar3D and go to the controls menu. Inside, select the ‘TQ6/TQ6+’ from the devices list. Assign the axes as you please. Then calibrate the device following the instructions.
Finally, restart Prepar3D and verify that the device is configured correctly. Please note that reverse zones do not work if you do not use VFHub.
X-Plane
If you own a TQ6+, your device is ready to be used in X-Plane. If you have a TQ6, don’t worry, you only need to calibrate it on Windows/MacOS/Linux first. Your TQ6/TQ6+ needs to be calibrated inside X-Plane since axes are automatically assigned. Open X-Plane, go to Configuration\ Joystick, and follow the calibration steps for your device. Finally, restart X-Plane and verify that the device is configured correctly. Please note that reverse zones need to be set up if you do not use VFHub. Refer to the X-Plane manual to do so.





















