STIHL RE 90.0 High Pressure Washer

Introduction
Dear Customer,
Thank you for choosing STIHL. We develop and manufacture our quality products to meet our customers’ requirements. The products are designed for reliability even under extreme conditions.
- STIHL also stands for premium service quality. Our dealers guarantee competent advice and instruction as well as comprehensive service support.
- STIHL expressly commits itself to sustainable and responsible handling of natural resources. This user manual is intended to help you use your STIHL product safely and in an environmentally friendly manner over a long service life.
We thank you for your confidence in us and hope you will enjoy working with your STIHL product.
Dr. Nikolas Stihl
IMPORTANT! READ BEFORE USING AND KEEP IN A SAFE PLACE FOR REFERENCE.
Guide to Using this Manual
Applicable documents
The local safety regulations apply.
- In addition to this Instruction Manual please read the following documents, make sure you have understood them and keep them in a safe place for future reference:
- Instruction Manual and packaging of the accessory used
- Instruction Manual and packaging of the detergent used
Warning Notices in Text
DANGER
- This notice refers to risks that result in serious or fatal injury.
- Serious or fatal injuries can be avoided by taking the precautions mentioned.
WARNING
- This notice refers to risks which can result in serious or fatal injury.
- Serious or fatal injuries can be avoided by taking the precautions mentioned.
NOTICE
- This notice refers to risks which can result in damage to property.
- Damage to property can be avoided by tak‐ing the precautions mentioned.
Symbols in Text
This symbol refers to a chapter in this instruction manual.
Overview
High-pressure washer
- Handle
The handle is used when carrying the high-pressure washer. - Holders
The holder is used for storing the spray gun. - Holders
The holder is used for storing the spray attachment. - Locking lever
The locking lever holds the connector in the high-pressure washer. - Carrying handle
The carrying handle is used to carry the high-pressure washer. - Rocker switch
The rocker switch is used to switch the high-pressure washer on and off. - Holders
The holder is used to store the high-pressure hose. - Holders
The holder is used to store the connecting cable. - Connecting cable
The connecting cable connects the high-pressure washer to the mains plug. - Connector
The connector is used to connect the water hose. - Mains plug
The mains plug connects the connecting cable to a socket. - Compartments
The compartments are used to store the supplied nozzles. - Holders
The holder is used to store the spraying set.
Rating plate with machine number
Spray attachment
- Spray lance
The spray lance connects the spray gun to the nozzle. - Spray gun
The spray gun is used to hold and control the spray attachment. - Trigger
The trigger opens and closes the valve in the spray gun. The trigger starts and stops the water jet. - Retaining latch
The retaining latch releases the trigger. - Locking lever
The locking lever holds the connector in the spray gun. - High-pressure hose
The high-pressure hose transports the water from the high-pressure pump to the spray gun. - Connector
The connector connects the high-pressure hose with the high-pressure pump and the spray gun. - Cleaning pin
The cleaning pin is used to clean the nozzles. - Spraying set2
The spraying set is used when cleaning with detergents. - Spray nozzle
The spray nozzle adds the detergent to the water. - Bottle
The bottle contains the detergent. - Rotary nozzle
The rotary nozzle creates a strong, rotating water jet. - Fan-jet nozzle
The fan-jet nozzle produces a flat jet of water.
Symbols
The symbols may appear on the pressure washer, the spray attachment or the sprayingset. Their meaning is as follows:
- In this position the retaining latch unlocks the lever.
- In this position the retaining latch locks the lever.
- Drain the spraying set before transport or secure it so that it cannot topple over and cannot move.
- Do not dispose of product with the household refuse.
- Guaranteed sound power level in accordance with Directive 2000/14/EC in dB(A) so that noise levels of different products can be compared.
- These symbols denote original STIHL spare parts and original STIHL accessories.
Safety Precautions
Warning Symbols
The warning symbols on the high-pressure washer have the following meanings:
- Observe safety notices and take the necessary precautions.
- Read, understand and keep the User Manual.
- Wear safety glasses.
- Do not direct the water jet at people and animals.
- Do not direct the water jet at electrical systems, electrical connections, sockets, and live cables.
- Do not direct the water jet at electrical appliances and the high-pressure washer itself.
- If the connecting cable or the extension cord is damaged: Unplug the mains plug from the socket.
- Do not connect the high-pressure washer directly to the drinking water main.
- Switch off the high-pressure washers during breaks from the operation and before transport, storage, servicing or repair.
- Do not use, transport, and store the high-pressure washers at temperatures below 0 °C.
Intended Use
The pressure washer STIHL RE 90.0 is used for example to clean vehicles, trailers, patios, paths and facades. The high-pressure washer is not suitable for commercial use. The high-pressure washer must not be used in the rain.
WARNING
- Using the high-pressure washer other than for its intended use can result in serious injuries or death and damage to property.
- Always use the high-pressure washer as described in this user manual.
The high-pressure washer STIHL RE 90.0 is not designed to be used for:
- Cleaning asbestos cement and similar surfaces
- Cleaning surfaces painted or varnished with paints containing lead
- Cleaning surfaces that come into contact with foodstuffs
- Cleaning the high-pressure washer itself
Requirements concerning the user
WARNING
Users who have not received instruction are not aware of and cannot assess the dangers of the pressure washer. The user or other people may be seriously injured or killed.
- Read the Instruction Manual, make sure you have understood it and keep it in a safe place for reference.
- If allowing another person to use the pressure washer: Give them the Instruction Manual as well.
- Make sure that the user fulfills the following requirements:
- The user is rested.
- This machine must not be used by persons (including children) with reduced physical, sensory or mental capabilities or lack of experience and knowledge.
- The user can identify and assess the dangers of the pressure washer.
- The user is of legal age or the user is trained in a profession in accordance with national regulations under supervision.
- The user has received instruction from a STIHL servicing dealer or another expert before operating the pressure washer for the first time.
- The user is not under the influence of alcohol, medicines, or drugs.
- If in any doubt: Contact a STIHL servicing dealer.
Clothing and equipment
WARNING
- Objects may be thrown into the air at high speed while working. The user may be injured.
- Wear close-fitting safety glasses. Suitable safety glasses tested to standard EN 166 or national standards and bearing the corresponding mark are available to buy.
- Wear a long-sleeved, close-fitting top and long trousers.
- Spray (aerosols) may form while operating. Breathing in aerosols can be harmful to health and trigger allergic reactions.
- Carry out a risk assessment according to the surface to be cleaned and the surrounding area.
- If the risk assessment shows the formation of aerosols: Wear a respirator of protection class FFP2 or equivalent protection class.
- Wearing unsuitable footwear can cause the user to slip and fall. The user may be injured.
- Wear sturdy, enclosed footwear with nonslip soles.
Work area and surroundings
WARNING
- Bystanders, children and animals are not aware of the dangers of the pressure washer and objects being thrown into the air and cannot assess them. Bystanders, children and animals may be seriously injured and property may be damaged.
- Keep bystanders, children and animals away from the work area.
- Do not leave the pressure washer unattended.
- Ensure that children cannot play with the pressure washer.
- If you work in the rain or in a damp environment, an electric shock may occur. The user may be seriously injured or killed and the pressure washer may be damaged.
- Do not use in rain.
- Position the pressure washer so that it will not be wet by dripping water.
- Position the pressure washer outside the wet work area.
- Electrical components of the pressure washer can produce sparks. Sparks can cause fires and explosions in a flammable or explosive environment. This can result in serious injuries or death and damage to property.
- Do not work in a flammable environment or in an explosive environment.
Safe condition
The high-pressure washer is in a safe condition if the following conditions are fulfilled:
- The high-pressure washer is undamaged.
- The high-pressure hose, the handle, the couplings and the spray attachment are undamaged.
- The high-pressure hose, the handle and the spray attachment are correctly attached.
- The connecting cable, the extension cord and their plugs are undamaged.
- The high-pressure washer is clean and dry.
- The spray attachment is clean.
- The controls function properly and have not been modified.
- An original STIHL accessory for this high-pressure washer is fitted.
- The accessories are correctly attached.
WARNING
- If not in safe condition, components may no longer operate correctly and safety devices may be disabled. This may result in a serious or fatal injury to people.
- Never use a damaged high-pressure washer.
- Work with an undamaged high-pressure hose, an undamaged handle, undamaged couplings, and an undamaged spray attachment.
- Attach the high-pressure hose, handle and spray attachment as described in this user manual.
- Never use a damaged connecting cable, extension cord, or mains plug.
- If the high-pressure washer is dirty or wet: clean the high-pressure washer and allow it to dry.
- If the spray attachment is dirty: Clean the spray attachment.
- Do not modify the high-pressure washer.
- If the controls do not work: Do not operate the high-pressure washer.
- Fit original STIHL accessories for this high pressure washer.
- Attach accessories as described in this User Manual or in the User Manual for the accessories.
- Do not insert objects into the openings in the high-pressure washer.
- Replace worn or damaged labels.
- If you have any doubts, be sure to consult a STIHL dealer.
Working
WARNING
- In certain situations, the user may no longer be able to concentrate on their work. This may result in the user stumbling, falling and suffering serious injury.
- Keep calm and plan your work.
- In poor light conditions and poor visibility:
Do not operate the high-pressure washer. - Use the high-pressure washer on your own.
- Watch out for obstacles.
- Work standing on the ground and keep your balance. If you have to work at a height: Use a mobile elevating work platform or secure scaffolding.
- If you start feeling fatigue: Take a break.
- If the high-pressure washer starts behaving differently or in an unusual way while operating, the high-pressure washer may be in an unsafe condition. This may result in serious injury to people and damage to property.
- Stop working, unplug the mains plug from the socket and consult a STIHL dealer.
- The high-pressure washer must always be operated in an upright position.
- To ensure an adequate exchange of cooling air, do not cover the high-pressure washer.
- When the spray gun trigger is released, the high-pressure pump switches off automatically and water stops flowing out of the nozzle. The high-pressure washer is then in standby mode and is still switched on. If the spray gun trigger is squeezed, the high-pressure pump switches on again automatically and water flows out of the nozzle. This may result in serious injury to people and damage to property.
- When not operating the machine: Lock the spray gun trigger.
- Switch off the high-pressure washer.

- Unplug the mains plug of the high-pressure washer from the socket.
- At temperatures below 0° C water can freeze on the surface to be cleaned and in the components of the high-pressure washer. The user may slip, fall and be seriously injured. Damage to property may occur.
- Do not use the high-pressure washer at temperatures below 0° C.
- Pulling on the high-pressure hose, water hose or connecting cable can cause the high-pressure washer to move and topple over. Damage to property may occur.
- Do not pull on the high-pressure hose, water hose or connecting cable.
- If the high-pressure washer is placed on a sloping, uneven or soft surface it may move and topple over. Damage to property may occur.
- Place the high-pressure washer on a horizontal, flat, hard surface.
- If working at a height, the high-pressure washer or the spray attachment may fall to the ground. This may result in serious injury to people and damage to property.
- Use a lift bucket or secure scaffolding.
- Do not place the high-pressure washer in a lift bucket or on scaffolding.
- If the high-pressure hose does not have sufficient reach: Extend the high-pressure hose by connecting a high-pressure hose extension.
- Secure the spray attachment so that it cannot fall.
- The water jet may detach asbestos fibers from surfaces. Asbestos fibers may spread through the air after drying and be breathed in. Breathing in asbestos fibers can be harmful to health.
- Do not clean surfaces containing asbestos.
- The water jet may remove oil from vehicles or machinery. The oily water may enter the soil, the water system or the drains. That would create an environmental hazard.
- Vehicles or machinery should only be cleaned at places where there is an oil trap in the water drain.
- In combination with leaded paint the water jet can form leaded aerosols and leaded water. Leaded aerosols and leaded water may enter the soil, the water system or the drains. Inhaling aerosols can be harmful to health and trigger allergic reactions. That would create an environmental hazard.
- Do not clean surfaces that are painted or lacquered with leaded paint.
- The water jet can damage sensitive surfaces. Damage to property may occur.
- Do not clean sensitive surfaces with the rotary nozzle.
- Sensitive surfaces made of rubber, fabric, wood and similar materials should be cleaned at a lower operating pressure and from a greater distance.
- If while in use the rotary nozzle is immersed in dirty water and then operated, the rotary nozzle may be damaged.
- Do not use the rotary nozzle with dirty water.
- If cleaning a container: Empty the container and allow the water to flow away while cleaning it.
- Easily combustible and explosive liquids that are sucked in can cause fires and explosions. Persons may be seriously or fatally injured and property may be damaged.
- Do not suck in or spread easily combustible or explosive liquids.
- Drawing in irritant, corrosive and toxic liquids can endanger health and damage components of the high-pressure washer. Persons may be seriously or fatally injured and property may be damaged.
- Do not suck in or spread irritating, caustic or toxic liquids.
- The strong water jet can seriously injure people and animals and cause damage to property.
- Do not direct the water jet at people and animals.

- Do not direct the water jet at places that are not fully visible.
- Do not use the water jet to clean clothing while wearing it.
- Do not use the water jet to clean shoes or boots while wearing them.
- If electrical equipment, electrical connections, sockets and live power cords come into contact with water, electric shock may result. Persons may be seriously or fatally injured and property may be damaged.
- Do not direct the water jet at electrical systems, electrical connections, sockets and live cables.

- Do not direct the water jet at electrical systems, electrical connections, sockets and live cables.
- Do not direct the water jet at the connecting cable or extension cable.
- If electrical appliances or the high-pressure washer come into contact with water, electric shock may result. The user may be seriously injured or killed and property may be damaged.
- Do not direct the water jet at electrical appliances and the high-pressure washer itself.

- Do not direct the water jet at electrical appliances and the high-pressure washer itself.
- Keep electrical appliances and the highpressure washer away from the surface to be cleaned.
- An incorrectly routed high-pressure hose may suffer damage. As a result of the damage, water under high pressure may escape uncontrolled into the surrounding area. This may result in serious injury to people and damage to property.
- Do not direct the water jet at the high-pressure hose.
- Route the high-pressure hose so that it is not under tension or tangled.
- Route the high-pressure hose so that it will not be damaged, kinked or crushed, or chafed.
- Protect the high-pressure hose from heat, oil and chemicals.
- An incorrectly routed water hose may suffer damage and people may trip over it. People may be injured and the water hose may be damaged.
- Do not direct the water jet at the water hose.
- Route and mark the water hose so that people will not trip over it.
- Route the water hose so that it is not under tension or tangled.
- Route the water hose so that it will not be damaged, kinked or crushed, or chafed.
- Protect the water hose from heat, oil and chemicals.
- The strong water jet produces reactive forces. The user may lose control of the spraying system due to the reaction forces that occur. The user may be seriously injured and property damage may occur.
- Hold the spray gun with both hands.
- Work as described in this user manual.
Detergents
WARNING
- If detergents come into contact with the skin or eyes, the skin or eyes may be irritated.
- Observe the user manual for the detergent.
- Avoid contact with detergents.
- If skin contact occurs: Wash affected areas of skin with plenty of water and soap.
- If eye contact occurs: Flush eyes with plenty of water for at least 15 minutes and consult a doctor.
- Using the wrong or inappropriate detergent can damage the pressure washer or the surface of the object being cleaned and be harmful to the environment.
- STIHL recommends the use of genuine STIHL detergents.
- Observe the user manual for the detergent.
- If you have any doubts, be sure to consult a STIHL dealer.
Connecting the water supply
WARNING
- Releasing the spray gun trigger causes a kickback in the water hose. A kickback can force dirty water back into the drinking water main. This can pollute the drinking water.
- Do not connect the high-pressure washer directly to the drinking water main.
- Observe the regulations of the water supply company. If required, use proper system separation (e.g. backflow preventer) when connecting to the drinking water system.
- Dirty or sandy water can damage components of the pressure washer.
- Use clean water.
- If using dirty or sandy water: Use a water filter with the pressure washer.
- If the water supply to the pressure washer is insufficient, components of the pressure washer may be damaged.
- Turn tap fully on.
- Make sure there is a sufficient supply of water to the pressure washer,
18.1.
Connecting to the power supply
Contact with live parts can occur for the following reasons:
- The connecting cord or the extension cord is damaged.
- The mains plug of the connecting cord or extension cord is damaged.
- The socket is not properly installed.
DANGER
- Contact with live parts can result in electric shock. The user may be seriously injured or killed.
- Make sure that the connecting cord, extension cord and their plugs are undamaged.
If the connecting cord or the extension cord is damaged: - Do not touch the damaged areas.
- Unplug the mains plug from the socket.
- Make sure your hands are dry before touching the connecting cord, extension cord or plugs.
- Plug the mains plug of the connecting cord or extension cord into a properly installed, fused socket with the correct fuse rating.
- The mains connection must be carried out by a qualified electrician and meet the requirements of IEC 60364-1. It is recommended that the power supply to this machine should either be connected via an earth leakage circuit breaker, which interrupts the power supply as soon as the leakage current to earth exceeds 30 mA for 30 ms, or has an earth tester.
- A damaged or unsuitable extension cord can result in electric shock. People can be seriously injured or killed.
- Use an extension cord with the correct cross-section,
18.2. - Only use an extension cord which is splashproof and approved for outdoor use.
- Use an extension cord that has the same characteristics as the connecting cord of the pressure washer,
18.2. - It is recommended to use a cable reel that holds the socket at least 60 mm above the floor.
- Use an extension cord with the correct cross-section,
WARNING
- During operation, an incorrect mains voltage or incorrect mains frequency may result in an overvoltage in the pressure washer. The pressure washer may be damaged.
- Make sure that the mains voltage and the mains frequency of the power supply match the data on the rating plate of the pressure washer.
- Electrical components may be overloaded during operation if more than one electric power tool is connected to a multiple socket. The electrical components may heat up and a fire may break out. This can result in serious injuries or death and damage to property.
- Only ever connect one pressure washer to one socket.
- Do not connect pressure washers to multiple sockets.
- An incorrectly routed connecting cord or extension cord may be damaged and people may trip over it. People may be injured and the connecting cord or extension cord may be damaged.
- Route the connecting cord and extension cord so that the water jet cannot touch them.
- Route and mark the connecting cord and extension cord so that people will not trip over them.
- Route the connecting cord and extension cord so that they are not under tension or tangled.
- Route the connecting cord and extension cord so that they will not be damaged, kinked or crushed and will not be chafed.
- Protect the connecting cord and extension cord from heat, oil and chemicals.
- Lay the connecting cord and extension cord on a dry surface.
- The extension cord warms up in operation. If that heat cannot escape, it may cause a fire.
- If using a cable reel: Completely unroll the cable reel.
Transport
WARNING
- The pressure washer may topple over or move during transport. This can result in injuries and damage to property.
- Lock the spray gun trigger.
- Switch off the pressure washer.

- Unplug the mains plug of the pressure washer from the socket.
- Drain the spraying set or secure it so that it cannot topple over and cannot move.

- Secure the pressure washer with lashing straps, belts or a net so that it cannot topple over and cannot move.
- At temperatures below 0° C water can freeze in the components of the pressure washer.
The pressure washer may be damaged.- Drain high-pressure hose and spray attachment.
- If the pressure washer cannot be protected from frost in transport: Protect the pressure washer with glycol-based antifreeze.
Storage
WARNING
- Children are not aware of and cannot assess the dangers of the pressure washer. Children can be seriously injured.
- Lock spray gun trigger.
- Switch off pressure washer.

- Unplug the mains plug of the pressure washer from the socket.
- Store the pressure washer out of the reach of children.
- Moisture may cause the electrical contacts on the pressure washer and metal components to corrode. The pressure washer may be dam‐aged.
- Store the pressure washer in a clean, dry state.
- At temperatures below 0 °C water may freeze in components of the pressure washer. The pressure washer may be damaged.
- Drain high-pressure hose and spray attach‐ment.
- If the pressure washer cannot be stored in a frost-free environment: Protect the pressure washer using a glycol-based antifreeze.
Cleaning, Maintenance and Repair
WARNING
- If the mains plug is plugged into a socket when carrying out cleaning, servicing or repairs, it is possible that the high-pressure washer may be switched on inadvertently.
This may result in serious injury to people and damage to property.- Lock the spray gun trigger.
- Switch off the high-pressure washer.

- Unplug the mains plug of the high-pressure washer from the socket.
- Harsh detergents, cleaning with a water jet or sharp objects can damage the high-pressure washer. If the high-pressure washer is not properly cleaned, parts may not function prop‐erly and safety devices can be disabled. They may cause serious injury to persons.
- Always clean the high-pressure washer as described in this user manual.
- If the high-pressure washer is not properly serviced or repaired, parts may not function properly and safety devices can be disabled. This may result in serous or fatal injury to peo‐ple.
- Do not attempt to service or repair the high-pressure washer yourself.
- If the connecting cable is faulty or dam‐aged: Have the connecting cable replaced by a STIHL dealer. 5 Preparing the pressure washer for operation
- If the high-pressure washer needs to be serviced or repaired: Contact a STIHL dealer.
Preparing the pressure washer for operation
Making the pressure washer ready for use.
The following steps must be performed before commencing work:
- Make sure that the pressure washer, the high-pressure hose, the hose coupling, and the connecting cord are in a safe condition,
4.6. - Cleaning the pressure washer,
14. - Set up the pressure washer on a firm and level base, where it will not slide or tip over.
- Connect the high-pressure hose,
6.2.1. - Connect spray gun,
6.3.1. - Fit spray lance,
6.4.1. - Attach nozzle,
6.5.1. - If using a detergent: Using detergents,
10.4. - Connect the pressure washer to a water source,
7. - Connect pressure washer to power supply,
8.1. - If it is not possible to carry out these steps: Do not use the pressure washer. Consult a STIHL servicing dealer.
Assembling the pressure washer
Assembling the high-pressure washer
Installing the holder
- Slide the holder (1) into the guides (2). The holder (1) engages with an audible click.
- Slide the plugs (3) into the mounts. The plugs (3) engage audibly.
Mounting the Handle
- Slide the handle (1) onto the holder (2).
- Insert screws (3) and tighten.
Installing the holder
- Suspend the holder (1) into the guides (2). The holder (1) engages with an audible click.
Inserting nozzles
- Insert fan-jet nozzle (1) and rotary nozzle (2).
Attaching spraying set
- Insert spraying set (1).
Fitting and removing the high-pressure hose
Connecting high-pressure hose
- Push the connector (1) in the high-pressure washer (2).
The connector (1) engages with an audible click. - If it is difficult to slide the connector (1) into the high-pressure washer: Grease the connector (1) with grease for fittings.
Removing high-pressure hose
- Press and hold the locking lever (2).
- Pull out the connector (2).
Attaching and removing the spray gun
Attaching the spray gun
- Slide the connector (2) into the spray gun (1). The connector (2) engages with an audible click.
- If the connector (2) cannot be easily pushed into the spray gun (1): Grease the gasket on the connector (2) with grease for fittings.
Removing the spray gun
- Press and hold the locking lever (1).
- Pull out the connector (2).
Attaching and removing the spray lance
Attaching the spray lance
- Push spray lance (1) into spray gun (2).
- Twist the spray lance (1) until it engages.
- If the spray lance (1) cannot be pushed easily into the spray gun (2): Grease the gasket on the spray lance (1) with grease for fittings.
Removing the spray lance
- Squeeze spray lance (1) and spray gun (2) together and twist as far as they will go.
- Pull spray lance (1) and spray gun (2) apart.
Attaching and removing the nozzle
Attaching the Nozzle
- Push nozzle (1) onto the spray lance (2).
- Turn the nozzle (1) until it engages
- If the nozzle (1) cannot be pushed easily into the spray lance (2): Grease the gasket on the nozzle (1) with grease for fittings.
Removing the nozzle
- Press nozzle (1) and spray lance (2) together and turn until stop.
- Pull nozzle (1) and spray lance (2) apart.
Connecting to a water source
Connecting the high-pressure washer to the mains water supply
Connecting the water filter
If the high-pressure washer is operated with sandy water or water from cisterns, a water filter must be connected to the high-pressure washer. The water filter filters sand and dirt out of the water and thus protects the components of the high-pressure washer from damage.
Depending on the market, the water filter may be included with the high-pressure washer.
- Unscrew the connector.

- Screw the water filter (1) onto the water supply and tighten by hand.
Connecting the water hose
The water hose must meet the following requirements:
- The water hose has a diameter of 1/2″.
- The water hose is between 10 m and 25 m long.
- Connect the water hose to a tap.
- Turn on the water tap fully and flush the water hose with water.
Sand and dirt will be flushed out of the water hose. The water hose will be vented. - Turn off tap.

- Push the coupling (1) onto the connector (2). The coupling (1) engages with an audible click.
- Turn tap fully on.
- If the spray lance is attached to the spray gun: Remove the spray lance.
- Squeeze the spray gun trigger until an even water jet is delivered from the spray gun.
- Release the spray gun trigger.
- Lock the spray gun trigger.
- Attach the spray lance.
- Attach the nozzle.
Removing the water hose
- Turn off tap.
- To unlock the coupling: Pull the ring (1) or twist and hold it.
- Pull the coupling off the connector (2).
Connecting the high-pressure washer to another water supply
The high-pressure washer can draw in water from water butts, storage tanks and flowing or still rivers and lakes.
So that the water can be drawn in, the height difference between the high-pressure washer and the water source must not exceed the max. suction lift (a),
18.1. The appropriate STIHL suction set must be used. The suction set includes a water hose with a special coupling. Depending on the market, the appropriate STIHL suction set may be included with the high-pres‐sure washer.
Connecting the water filter
If the high-pressure washer is operated with water containing sand from water butts, cisterns or from flowing or still rivers and lakes, a water filter must be connected to the high-pressure washer. Depending on the market, the water filter may be included with the high-pressure washer.
- Unscrew the connector (1).
- Insert water intake screen (2) into the coupling of the water hose (3).
Connecting the water hose
- Fill the water hose (1) with water so that no air is present in the water hose anymore.
- Screw the coupling (2) onto the connector of the pressure washer (3) and tighten by hand.
- Attach the suction cup (4) to the water source so that the suction cup (4) does not touch the ground.
- If the spray gun is fitted to the high-pressure hose: Remove the spray gun.
- Hold the high-pressure hose downwards.
- Switch on the high-pressure washer until an even water jet flows out of the high-pressure hose.
NOTICE
- If the high-pressure washer does not suck in water, the pump may run dry and the high-pressure washer may be damaged.
- If no water escapes from the high-pressure hose after two minutes: Switch off the high-pressure washer and check the water supply.
- Switch off the high-pressure washer.
- Connect the spray gun to the high-pressure hose.
- Press and hold down the spray gun trigger.
- Switch on the high-pressure washer.
Connecting the pressure washer to the power supply
Connecting the pressure washer to an electric power supply
- Set the toggle switch to the 0 positions.
- Remove the connecting cord (2) from the holders (3).
- Plug the plug of the connecting cord into a correctly installed socket.
Switching the pressure washer on and off
Switch on the high-pressure washer
When the pressure washer is switched on, volt‐age fluctuations may occur under unfavorable mains conditions. The voltage fluctuations may negatively affect other connected electrical appliances.
- Set the rocker switch to position I.
Switching off the pressure washer.
- Set the toggle switch to the 0 position.
Operating the pressure washer
Holding and controlling the spray gun
- Hold the spray gun by the handle with one hand, wrapping your thumb around the han‐dle.
- Hold the spray lance firmly with your other hand, wrapping your thumb around the spray lance.
- Point the nozzle at the ground.
Squeezing and locking the spray gun trigger
Pressing the spray gun trigger
- Move the retaining latch (1) to the
position. - Press and hold the trigger (2).
The high-pressure pump starts up automatically and water flows out of the nozzle.
Locking the spray gun trigger
- Release the trigger (2).
The high-pressure pump switches off automatically and water stops flowing out of the nozzle. The high-pressure washer is still switched on. - Move the retaining latch (1) to the position.
Cleaning
According to the application, the following nozzles can be used:
- Fan-jet nozzle: The fan-jet nozzle is designed for cleaning large areas.
- Rotary nozzle: The rotary nozzle is designed for removing stubborn dirt.
The user can work close up to the surface in order to remove stubborn dirt.
The user can work at a distance when cleaning any of the following surfaces:
- Painted surfaces
- Wooden surfaces
- Rubber surfaces

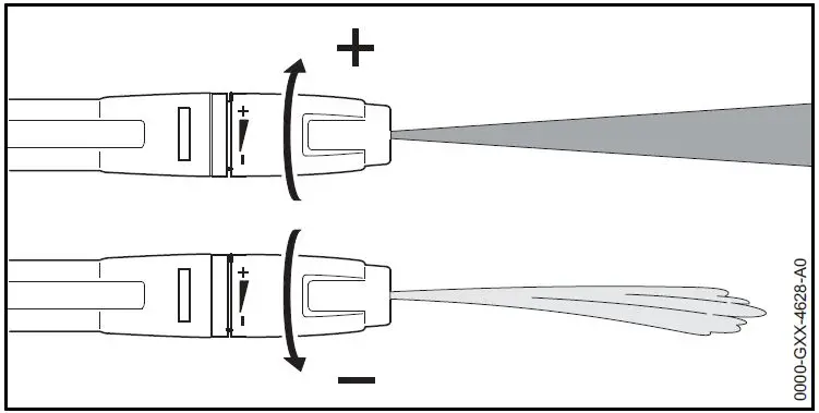
The fan-jet nozzle is adjustable.
Turning the fan-jet nozzle in the + direction increases the working pressure.
Turning the fan-jet nozzle in the – direction reduces the working pressure.
- Before starting work, direct the water jet at an inconspicuous area of the surface and check that the surface does not suffer damage.
- Select the distance between the nozzle and the surface to be cleaned so that the surface to be cleaned is not damaged.
- Adjust the fan-jet nozzle so that the surface to be cleaned is not damaged.

- Move the spray attachment evenly along the surface to be cleaned.
- Move forward slowly in a controlled manner.
Working with Detergent
Detergents can increase the cleaning effect of the water. The use of the STIHL spraying set is required for working with cleaning agents. The STIHL spraying set may be included in the scope of delivery, depending on the market.
- Dose and use the cleaning agent as described in the user manual for the cleaning agent.
- Fill bottle (1) with a maximum of 500 ml of the detergent.
- Screw the spray nozzle (2) onto the bottle (1) and tighten it firmly by hand.

- If a nozzle is attached to the spray lance (3): Remove the nozzle.
- Attach the spray set (4) to the spray lance (3).
- Soak extremely dirty surfaces with water before cleaning them.
- Press the spray gun lever and spray the detergent onto the surface to be cleaned.
- Apply the detergent starting at the bottom and working up and do not allow to dry.
- Remove the spraying set.
- Attach the nozzle.
- Clean the surface.
After Finishing Work
When Work is Finished
- Switch off the high-pressure washer and pull the mains plug out of the socket.
- If the high-pressure washer is connected to the water supply: Turn off water supply.
- Press the spray gun trigger.
- The water pressure is reduced.
- Lock the spray gun trigger.
- Disconnect the high-pressure washer from the water source.
- Remove the water hose.
- Remove the high-pressure hose and let the rest of the water run out of the high-pressure hose.
- Remove and clean the nozzle and spray lance.
- Remove the spray gun and let the rest of the water run out of the spray gun.
- Clean the high-pressure washer.

- Roll up the high-pressure hose (1) and hang it on the holder (2).
- Coil the connecting cable (3) on the holder (4).
- Secure the connecting cable (3) using the clip (5).
- Insert spraying set (6).
- Insert nozzle (7).

- Store the spray attachment in the holders (8) on the high-pressure washer.
Protecting the pressure washer with antifreeze
If the pressure washer cannot be protected from frost during transport or storage, the pressure washer should be protected by a glycol-based antifreeze. The antifreeze prevents the water inside the pressure washer from freezing and causing damage to the pressure washer.
- Remove spray lance
- Connect the shortest possible water hose to the pressure washer.
The shorter the water hose, the less antifreeze is needed. - Mix the antifreeze as described in the anti‐freeze Instruction Manual.
- Pour antifreeze into a clean container.
- Insert water hose into a container of antifreeze.
- Squeeze and hold the spray gun trigger.
- Switch on the pressure washer.
- Hold down the spray gun trigger until an even jet of antifreeze is delivered from the spray gun and point the spray gun into the container.
- Press and release the spray gun trigger several times.
- Switch off the pressure washer and unplug the mains plug from the socket.
- Detach spray gun, high-pressure hose and water hose and allow antifreeze to run into the container.
- Store and dispose of antifreeze in accordance with the applicable regulations and in an environmentally responsible manner.
Transporting
Transporting the high-pressure washer
- Switch off the high-pressure washer and pull the mains plug out of the socket.
- Empty or secure the detergent container so that it cannot topple over, fall down and cannot move.
Carrying or pulling the high-pressure washer
- Pull the high-pressure washer using the handle (1).
- Carry the pressure washer by the handle (1) and the carrying handle (2).
Transporting the high-pressure washer in a vehicle
- Secure the high-pressure washer so that it cannot turn over or move.
- If the high-pressure washer cannot be transported in a frost-proof environment: Protect the high-pressure washer using antifreeze.
Storing
Storing the pressure washer
- Switch off pressure washer and unplug mains plug from the socket.
- The pressure washer should be stored in such a way that the following conditions are fulfilled:
- The pressure washer is out of the reach of children.
- The pressure washer is clean and dry.
- The pressure washer is in an enclosed room.
- The pressure washer is in a temperature range above 0 °C.
- If the pressure washer cannot be protected from frost in storage: Protect the pressure washer with antifreeze.
Cleaning
Cleaning the high-pressure washer and accessories
- Switch off the high-pressure washer and pull the mains plug out of the socket.
- Clean the high-pressure washer, high-pres‐sure hose, spray gun and accessories with a damp cloth.
- Clean the connectors and couplings on the high-pressure washer, high-pressure hose and spray gun with a damp cloth.
- Clean vents with a paintbrush.
Cleaning nozzle and spray lance
- Rinse the nozzle and spray lance under running water and dry with a cloth.

- If the nozzle is clogged: Clean the nozzle with the cleaning pin.
Cleaning the water intake screen
- Unscrew the connector (1) of the water connection.
- Remove the water intake screen (2) from the connection.
- Rinse out the water intake screen (2) under running water.
- Insert water intake screen (2) into the connector.
- Attach the connector (1) and tighten it by hand.
Cleaning the water filter
The water filter must be disassembled to clean it.
- Remove the seal (1) from the filter housing (3).
- Take the filter (2) out of the filter housing (3).
- Rinse out the seal (1) and the filter (2) under running water.
- Grease the gasket (1) with a fitting grease.
- Reassemble the water filter.
Maintenance
Maintenance intervals
Maintenance intervals depend on the ambient conditions and the operating conditions. STIHL recommends the following maintenance inter‐vals:
Monthly
- Clean water intake screen.
Repairing
Repairing the pressure washer
The user cannot personally repair the pressure washer and accessory.
- If the pressure washer or accessory is dam‐aged: Do not use the pressure washer or accessory. Consult a STIHL servicing dealer.
Troubleshooting
Correcting faults in the pressure washer
| Fault | Cause | Remedy |
| The pressure washer does not start alt‐ hough the spray gun trigger is squeezed. | The mains plug of the connecting cable or extension cord is not plugged in. | Plug in mains plug of connecting cord or extension cord. |
| Fault | Cause | Remedy |
| The circuit-breaker (fuse) or the resi‐ dual current circuit breaker has trip‐ ped. There is an electrical overload or a fault in the circuit. | Look for cause of tripping and remedy it. Engage circuit-breaker (fuse) or the residual current circuit breaker. Switch off other loads connected to the same circuit. | |
| The fuse rating of the socket is too low. | Plug the connecting cable into a socket with the correct fuse rating, | |
| The extension cord has an incorrect cross-section. | Use an extension cord with an adequate cross-section, 18.2 | |
| The extension cord is too long. | Use an extension cord with the cor‐ rect length, 18.2 | |
| The electric motor is too warm. | Allow the pressure washer to cool for 5 minutes. Clean the nozzle. | |
| The pressure washer does not start when switched on. The electric motor buz‐ zes. | The mains voltage is too low. | Squeeze and hold the spray gun trigger and switch on the pressure washer. Switch off other loads connected to the same circuit. |
| The extension cord has an incorrect cross-section. | Use an extension cord with an adequate cross-section, 18.2 | |
| The extension cord is too long. | Use an extension cord with the cor‐ rect length, 18.2 | |
| The pressure washer switches off while in operation. | The plug of the connecting cord or extension cord has been pulled out of the socket. | Plug in mains plug of connecting cord or extension cord. |
| The circuit-breaker (fuse) or the resi‐ dual current circuit breaker has trip‐ ped. There is an electrical overload or a fault in the circuit. | Look for cause of tripping and remedy it. Engage circuit-breaker (fuse) or the residual current circuit breaker. Switch off other loads connected to the same circuit. | |
| The fuse rating of the socket is too low. | Plug the connecting cable into a socket with the correct fuse rating, | |
| The electric motor is too warm. | Allow the pressure washer to cool for 5 minutes. Clean the nozzle. | |
| The high-pressure pump repeatedly switches on and off without squeezing the spray gun trigger. | There is a leak in the high-pressure pump, high-pressure hose or spray attachment. | Ask a STIHL servicing dealer to inspect the pressure washer. |
| The working pressure fluctuates or drops. | There is not enough water. | Open water tap fully. Make sure that a sufficient quantity of water is available. |
| The nozzle is blocked. | Clean the nozzle. | |
| The water intake screen or water filter is blocked. | Clean water intake screen and water filter. | |
| The high-pressure pump, high-press‐ ure hose or spray attachment is lea‐ king or faulty. | Ask a STIHL servicing dealer to inspect the pressure washer. |
| Fault | Cause | Remedy |
| The shape of the water jet has chan‐ ged. | The nozzle is blocked. | Clean the nozzle. |
| The nozzle is worn. | Fit a new nozzle. | |
| Detergent additive is not being drawn in. | The container is empty. | Fill container with detergent. |
| The nozzle of the spraying set is blocked. | Clean nozzle of spraying set. | |
| Connections with pressure washer, high-pressure hose, spray gun or spray lance are stiff. | The gaskets of the connections have not been greased. | Lubricate the gaskets. 17.2 |
Lubricating the seals
- Grease the seals (1) with grease for fittings.
Specifications
STIHL RE 90.0 high-pressure washer
Version 100 V / 50-60 Hz
- Fuse (characteristic “C” or “K”): 15 A
- Power consumption: 1.4 kW
- Electrical protection class: II
- Degree of of electrical protection: IPX5
- Working pressure (p): 6.7 MPa (67 bar)
- Max. permissible pressure (p max.): 10 MPa (100 bar)
- Max. water supply pressure (p in max.): 1 MPa (10 bar)
- Max. water throughput (Q max.): 7.5 l/min (450 l/h)
- Minimum water throughput (Q min.): 5.4 l/min (320 l/h)
- Max. suction lift: 0.5 m
- Max. water temperature in pressure mode (t in max): 40 °C
- Max. water temperature in suction mode: 20 °C
- sample inspection
- Length: 340 mm
- Width: 320 mm
- Height: 880 mm
- Length of high-pressure hose: 6 m
- Weight (m) with accessory attached: 8 kg Version 127 V / 60 Hz
- Fuse (characteristic “C” or “K”): 15 A
- Power consumption: 1.5 kW
- Electrical protection class: II
- Degree of of electrical protection: IPX5
- Working pressure (p): 7.2 MPa (72 bar)
- Max. permissible pressure (p max.): 10 MPa (100 bar)
- Max. water supply pressure (p in max.): 1 MPa (10 bar)
- Max. water throughput (Q max.): 7.5 l/min (450 l/h)
- Minimum water throughput (Q min.): 5.5 l/min (330 l/h)
- Max. suction lift: 0.5 m
- Max. water temperature in pressure mode (t in max): 40 °C
- Max. water temperature in suction mode: 20 °C
- sample inspection
- Length: 340 mm
- Width: 320 mm
- Height: 880 mm
- Length of high-pressure hose: 6 m
- Weight (m) with accessory attached: 8 kg Version 120 V – 127 V / 60 Hz
- Fuse (characteristic “C” or “K”): 15 A
- Power consumption: 1.5 kW
- Electrical protection class: II
- Degree of of electrical protection: IPX5
- Working pressure (p): 7.2 MPa (72 bar)
- Max. permissible pressure (p max.): 10 MPa (100 bar)
- Max. water supply pressure (p in max.): 1 MPa (10 bar)
- Max. water throughput (Q max.): 7.2 l/min (430 l/h)
- Minimum water throughput (Q min.): 5.5 l/min (330 l/h)
- Max. suction lift: 0.5 m
- Max. water temperature in pressure mode (t in max): 40 °C
- Max. water temperature in suction mode: 20 °C
- sample inspection
- Length: 340 mm
- Width: 320 mm
- Height: 880 mm
- Length of high-pressure hose: 6 m
- Weight (m) with accessory attached: 8 kg Versions from 220 V to 240 V / from 50 to 60 Hz
- Fuse (“C” or “K” characteristic): 10 A
- Power consumption: 2.1 kW
- Maximum permitted network impedance: 0.21 Ohm
- Protection class: II
- Degree of of electrical protection: IPX5
- Working pressure (p): 10 MPa (100 bar)
- Max. permissible pressure (p max.): 13 MPa (130 bar)
- Max. water supply pressure (p in max.): 1 MPa (10 bar)
- Max. water throughput (Q max.): 7.4 l/min (440 l/h)
- Minimum water throughput (Q min.): 5.8 l/min (350 l/h)
- Max. suction lift: 0.5 m
- Max. water temperature in pressure mode (t in max): 40 °C
- Max. water temperature in suction mode: 20 °C
- sample inspection
- Length: 340 mm
- Width: 320 mm
- Height: 880 mm
- Length of high-pressure hose: 6 m
- Weight (m) with an accessory attached: 8 kg
Parameters dependent on pressure have been measured at an inlet pressure of 0.3 MPa (3 bar).
Extension Cords
If an extension cord is used, it must have a ground wire and the wire gage of its conductors must meet the following minimum requirements –depending on the line voltage and length of the extension cord:
If the rated voltage on the rating label is 220V to 240V:
- Cord length up to 20 m: AWG 15 / 1.5 mm²
- Cord length 20 m up to 50 m: AWG 13 /2.5 mm²
If the rated voltage on the rating label is 100 V to 127 V:
- Cord length up to 10 m: AWG 14 / 2.0 mm²
- Cord length 10 m up to 30 m: AWG 12 / 3.5 mm²
Sound Values and Vibration Values
The K-value for sound pressure levels is 2 dB(A). K-value for sound power levels is 2 dB(A). The K-value for vibration level is 2 m/s².
- Sound pressure level LpA measured according to EN 60335‑2‑79: 80 dB(A)
- Sound power level LwA measured according to EN 60335-2-79: 89 dB(A)
- Vibration level ah measured according to EN 60335‑2‑79, fan-jet nozzle: ≤ 2.5 m/s².
For information on compliance with Employers’ Vibration Directive 2002/44/EC see www.stihl.com/vib.
REACH
REACH is an EC regulation and stands for the Registration, Evaluation, Authorisation and Restriction of Chemical substances.
For information on compliance with the REACH regulation see www.stihl.com/reach.
Spare Parts and Accessories
These symbols indicate original STIHL spare parts and original STIHL accessories.
STIHL recommends the use of original STIHL spare parts and accessories. Despite ongoing market observation, STIHL is unable to judge the reliability, safety, and suitability of other manufacturers’ spare parts and accessories; accordingly, STIHL cannot warrant for the use of those parts. Original STIHL spare parts and original STIHL accessories are available from STIHL dealers.
Disposal
Disposing of the pressure washer
Contact the local authorities or your STIHL dealer for information on disposal.
Improper disposal can be harmful to health and pollute the environment.
- Take STIHL products including packaging to a suitable collection point for recycling in accord‐ance with local regulations.
- Do not dispose with domestic waste.
EC Declaration of Conformity
STIHL RE 90.0 high-pressure washer
ANDREAS STIHL AG & Co. KG Badstraße 115
D-71336 Waiblingen
Germany
declare under our sole responsibility that
- Type: high-pressure washer
- Manufacturer’s brand: STIHL
- Model: RE 90.0
- Serial number: RE02
conforms to the specifications of Directives 2011/65/EU, 2006/42/EC and 2014/30/EU and has been developed and built in compliance with the versions of the following standards valid at the production date: EN 55014‑1, EN 55014‑2, EN 60335‑1, EN 60335‑2‑79, EN 61000‑3‑2, EN 61000‑3‑3, and EN 62233.
The measured and the guaranteed sound power level have been determined in accordance with Directive 2000/14/EC, Annex V, and standard ISO 3744.
- Measured sound power level: 89 dB(A)
- Guaranteed sound power level: 91 dB(A)
The technical documents are stored at ANDREAS STIHL AG & Co. KG Produktzulas‐sung.
The year of construction, country of manufacture and serial number are shown on the high-pressure washer.
Done at Waiblingen, 15.07.2021 ANDREAS STIHL AG & Co. KG
pp
Dr. Jürgen Hoffmann, Director of Product Certification & Regulatory Affairs
UKCA Declaration of Conformity
High-pressure washer STIHL RE 90.0
ANDREAS STIHL AG & Co. KG Badstraße 115
D-71336 Waiblingen
Germany
declare under our sole responsibility that
- Category: high-pressure washer
- Manufacturer’s brand: STIHL
- Model: RE 90.0
- Serial number: RE02
complies with the relevant provisions of the UK regulations The Restriction of the Use of Certain Hazardous Substances in Electrical and Electronic Equipment Regulations 2012, Supply of Machinery (Safety) Regulations 2008 and Electromagnetic Compatibility Regulations 2016 and has been developed and manufactured in accordance with the versions of the following standards valid on the date of manufacture:
- EN 55014‑1, EN 55014‑2,
- EN 60335‑1,
- EN 60335‑2‑79, EN 61000‑3‑2,
- EN 61000‑3‑3, EN 62233.
The measured and guaranteed sound power lev‐els were determined in accordance with the UK regulation Noise Emission in the Environment by Equipment for use Outdoors Regulations 2001, Schedule 8, using the ISO 3744 standard.
- Measured sound power level: 89 dB(A)
- Guaranteed sound power level: 91 dB(A)
The technical documents are stored at ANDREAS STIHL AG & Co. KG Produktzulas‐sung. The year of construction, country of manufacture, and serial number are shown on the high-pressure washer.
Done at Waiblingen, 15.07.2021 ANDREAS STIHL AG & Co. KG
pp
Dr. Jürgen Hoffmann, Director of Product Certification & Regulatory Affairs.



































