BRIGGS STRATTON 020683-00 Pressure Washer

Thank you for purchasing this quality-built Briggs & Stratton® pressure washer. We are pleased that you’ve placed your confidence in the Briggs & Stratton brand. When operated and maintained according to the instructions in this manual, your Briggs & Stratton pressure washer will provide many years of dependable service.
This manual contains safety information to make you aware of the hazards and risks associated with pressure washers and how to avoid them. Because Briggs & Stratton does not necessarily know all the applications this pressure washer could be used for, it is important that you read and understand these instructions thoroughly before attempting to start or operate this equipment. Save these original instructions for future reference.
This pressure washer requires final assembly before use. Refer to the Assembly section of this manual for instructions on final assembly procedures. Follow the instructions completely.
Where to Find Us0
You never have to look far to find Briggs & Stratton support and service for your pressure washer. Consult your
Yellow Pages. There are over 30,000 Briggs & Stratton authorized service dealers worldwide who provide quality
service. You can also contact Briggs & Stratton Customer Service by phone at (800) 743-4115, or on the Internet at BRIGGSandSTRATTON.COM.
Pressure Washer
- Model Number ______________________________
- Revision ___________________________________
- Serial Number ______________________________
- Date Purchased _ ________________________
Engine
- Model Number ______________________________
- Type Number _______________________________
- Serial Number ______________________________
Register Your Product
To ensure prompt and complete warranty coverage, register your product online at www.onlineproductregistration.com.
Operator Safety
Equipment Description
Read this manual carefully and become familiar with your pressure washer. Know its applications, its limitations, and any hazards involved. Save these original instructions for future reference.
This pressure washer operates at a maximum of 2,800 PSI (193 BAR) at a flow rate of up to 2.1 gallons (7.9 l) per minute. This high quality residential system features 10” (25.4 cm) wheels, axial cam pump with stainless steel pistons, automatic cool down system, nozzle extension with quick connect fitting, a variety of quick connect spray tips, heavy duty 25 ft. (7.62 m) hose, and more.
Every effort has been made to ensure that information in this manual is accurate and current. However, we reserve the right to change, alter, or otherwise improve the product and this document at any time without prior notice.
The Emission Control System for this pressure washer is warranted for standards set by the Environmental Protection Agency and the California Air Resources Board.
Important Safety Information
Safety Symbols and Meanings
The safety alert symbol indicates a potential personal injury hazard. A signal word (DANGER, WARNING, or CAUTION) is used with the alert symbol to designate a degree or level of hazard seriousness. A safety symbol may be used to represent the type of hazard. The signal word NOTICE indicates information considered important, but not hazard-related.
DANGER: indicates a hazard which, if not avoided, will result in death or serious injury.
WARNING: indicates a hazard which, if not avoided, could result in death or serious injury.
CAUTION: indicates a hazard which, if not avoided, could result in minor or moderate injury.
NOTICE: indicates information considered important, but not hazard-related
WARNING POISONOUS GAS HAZARD.
Engine exhaust contains carbon monoxide, a poisonous gas that could kill you in minutes. You CANNOT smell it, see it, or taste it. Even if you do not smell exhaust fumes, you could still be exposed to carbon monoxide gas. Some chemicals or detergents could be harmful if inhaled or ingested, resulting in death, serious injury, nausea, fainting or poisoning.
- Operate this product ONLY outside far away from windows, doors and vents to reduce the risk of carbon monoxide gas from accumulating and potentially being drawn towards occupied spaces.
- Install battery-operated carbon monoxide alarms or plug-in carbon monoxide alarms with battery back-up according to the manufacturer’s instructions. Smoke alarms cannot detect carbon monoxide gas.
- DO NOT run this product inside homes, garages, basements, crawlspaces, sheds, or other partiallyenclosed spaces even if using fans or opening doors and windows for ventilation. Carbon monoxide can quickly build up in these spaces and can linger for hours, even after this product has shut off.
- ALWAYS place this product downwind and point the engine exhaust away from occupied spaces. If you start to feel sick, dizzy, or weak while using this product, get to fresh air RIGHT AWAY. See a doctor. You may have carbon monoxide poisoning.
- Use a respirator or mask whenever there is a chance that vapors may be inhaled when using chemicals.
- Read all instructions with mask so you are certain the mask will provide the necessary protection against inhaling harmful vapors when using chemicals
WARNING: Chemical Burn Hazard. Chemicals could cause burns resulting in death or serious injury.
- DO NOT use caustic liquid with pressure washer.
- Use ONLY pressure washer safe detergents/soaps. Follow all manufacturers instructions.
WARNING: The engine exhaust from this product contains chemicals known to the State of California to cause cancer, birth defects, or other reproductive harm.
- This product contains lead and lead compounds, known to the State of California to cause birth defects or other reproductive harm. Wash your hands after handling this product.
- Exhaust heat/gases could ignite combustibles, structures or damage fuel tank causing a fire, resulting in death or serious injury.
Contact with muffler area could cause burns resulting in serious injury.
- DO NOT touch hot parts and AVOID hot exhaust gases.
- Allow equipment to cool before touching.
- Keep at least 5 ft. (1.5 m) of clearance on all sides of pressure washer including overhead.
- It is a violation of California Public Resource Code, Section 4442, to use or operate the engine on any forestcovered, brush-covered, or grass-covered land unless the exhaust system is equipped with a spark arrester, as defined in Section 4442, maintained in effective working order. Other states or federal jurisdictions may have similar laws.
Contact the original equipment manufacturer, retailer, or dealer to obtain a spark arrester designed for the exhaust system installed on this engine. - Replacement parts must be the same and installed in the same position as the original parts.
WARNING: Risk of electrocution. Contact with power source could cause electric shock or burn resulting in death or serious injury.
- NEVER spray near power source
WARNING: Use of pressure washer could create puddles and slippery surfaces causing you to fall resulting in death or serious injury.
Kickback from spray gun could cause you to fall resulting in death or serious injury.
- Operate pressure washer from a stable surface.
- The cleaning area should have adequate slopes and drainage to reduce the possibility of a fall due to slippery surfaces.
- Be extremely careful if you must use the pressure washer from a ladder, scaffolding, or any other similar location.
- Firmly grasp spray gun with both hands when using high pressure spray to avoid injury when spray gun kicks bac
WARNING: Fuel and its vapors are extremely flammable and explosive which could cause burns, fire or explosion resulting in death or serious injury.
WHEN ADDING OR DRAINING FUEL
- Turn pressure washer engine OFF and let it cool at least 2 minutes before removing fuel cap. Loosen cap slowly to relieve pressure in tank.
- Fill or drain fuel tank outdoors.
- DO NOT overfill tank. Allow space for fuel expansion.
- If fuel spills, wait until it evaporates before starting engine.
- Keep fuel away from sparks, open flames, pilot lights, heat, and other ignition sources.
- Check fuel lines, tank, cap and fittings frequently for cracks or leaks. Replace if necessary.
- DO NOT light a cigarette or smoke.
WHEN STARTING EQUIPMENT
- Ensure spark plug, muffler, fuel cap, and air cleaner are in place.
- DO NOT crank engine with spark plug removed. WHEN OPERATING EQUIPMENT
- DO NOT operate this product inside any building, carport, porch, mobile equipment, marine applications, or enclosure.
- DO NOT tip engine or equipment at angle which causes fuel to spill.
- DO NOT spray flammable liquids.
WHEN TRANSPORTING, MOVING OR REPAIRING EQUIPMENT
- Transport/move/repair with fuel tank EMPTY or with fuel shutoff valve OFF (0).
- DO NOT tip engine or equipment at angle which causes fuel to spill.
- Disconnect spark plug wire.
WH STORING FUEL OR EQIPMENRT IN THE FUEL TANK
- Store away from furnaces, stoves, water heaters, clothes dryers, or other appliances that have pilot light or other ignition source because they could ignite fuel vapors.
WARNING: Starter cord kickback (rapid retraction) will pull hand and arm toward engine faster than you can let go which could cause broken bones, fractures, bruises, or sprains resulting in serious injury.
• NEVER pull starter cord without first relieving spray gun pressure.
• When starting engine, pull cord slowly until resistance is felt and then pull rapidly to avoid kickback.
• After each starting attempt, where engine fails to run, always point spray gun in safe direction, press red button and squeeze spray gun trigger to release high pressure.
• Firmly grasp spray gun with both hands when using high pressure spray to avoid injury when spray gun kicks Back.
WARNING: The high pressure stream of water that this equipment produces could cut through skin and its underlying tissues, resulting in serious injury and possible amputation.
Spray gun traps high water pressure, even when engine is stopped and water is disconnected, which could result in serious injury.
- If cut by fluid, call physician immediately. DO NOT treat as a simple cut.
- DO NOT allow CHILDREN to operate pressure washer.
- NEVER repair high pressure hose. Replace it.
- NEVER repair leaking connections with sealant of any kind. Replace o-ring or seal.
- NEVER connect high pressure hose to nozzle extension.
- Keep high pressure hose connected to pump and spray gun while system is pressurized.
- ALWAYS point spray gun in safe direction, press red button and squeeze spray gun trigger to release high pressure, every time you stop engine.
- NEVER aim spray gun at people, animals, or plants.
- DO NOT secure spray gun in open position.
- DO NOT leave spray gun unattended while machine is running.
- NEVER use a spray gun which does not have a trigger lock or trigger guard in place and in working order.
- Always be certain spray gun, nozzles and accessories are correctly attached.
WARNING: Unintentional sparking could cause fire or electric shock resulting in death or serious injury.
WHEN ADJUSTING OR MAKING REPAIRS TO YOUR PRESSURE WASHER
- Disconnect the spark plug wire from the spark plug and place the wire where it cannot contact spark plug.
WHEN TESTING FOR ENGINE SPARK
- Use approved spark plug tester.
- DO NOT check for spark with spark plug removed.
WARNING: Starter and other rotating parts could entangle hands, hair, clothing, or accessories resulting in serious injury.
- NEVER operate pressure washer without protective housing or covers.
- DO NOT wear loose clothing, jewelry or anything that could be caught in the starter or other rotating parts.
- Tie up long hair and remove jewelry.
WARNING: Risk of eye or bodily injury. Spray could splash back or propel objects resulting in serious injury.
- Always wear indirect vented (chemical splash) safety goggles marked to comply with ANSI Z87.1 when using or in vicinity of this equipment.
- NEVER substitute safety glasses or dry-condition goggles for indirect vented safety goggles.
- Always wear protective clothing such as a long-sleeved shirt, long pants and close-toed shoes.
- NEVER operate pressure washer when barefoot or wearing sandals or shorts.
CAUTION: Excessively high operating speeds could result in minor injury.
Excessively low speeds impose a heavy load.
- DO NOT tamper with governor spring, links or other parts to increase engine speed. Pressure washer supplies correct rated pressure and flow when running at governed speed.
- DO NOT modify pressure washer in any way.
NOTICE: High pressure spray could damage fragile items including glass.
- DO NOT point spray gun at glass when using red (0°) spray tip.
- NEVER aim spray gun at plants.
NOTICE Improper treatment of pressure washer could damage it and shorten its life.
- If you have questions about intended use, ask dealer or contact qualified service center.
- NEVER operate units with broken or missing parts, or without protective housing or covers.
- DO NOT by-pass any safety device on this machine.
- DO NOT tamper with governed speed.
- DO NOT operate pressure washer above rated pressure.
- DO NOT modify pressure washer in any way.
- Before starting pressure washer in cold weather, check all parts of the equipment to be sure ice has not formed there.
- NEVER move machine by pulling on hoses. Use handle provided on unit.
- This equipment is designed to be used with Briggs & Stratton authorized parts ONLY. If equipment is used with parts that DO NOT comply with minimum specifications, user assumes all risks and liabilities.
Assembly
Read entire operator’s manual before you attempt to assemble or operate your new pressure washer.
Your pressure washer requires some assembly and is ready for use after it has been properly serviced with the recommended oil and fuel.
If you have any problems with the assembly of your pressure washer, please call the pressure washer helpline at (800) 743‑4115. If calling for assistance, please have the model, revision, and serial number from the identification label available. Unpack Pressure Washer
- Remove the parts bag, accessories, and inserts included with pressure washer.
- Open carton completely by cutting each corner from top to bottom.
- Ensure you have all included items prior to assembly.
Items in the carton include:
- Main Unit
- Handle
- High Pressure Hose
- Spray Gun
- Nozzle Extension with Quick Connect Fitting
- Plastic Accessory Tray
- Oil Pouch
- Parts Bag (which includes the following):
- Operator’s Manual
- Bag of 4 Multi–Colored Quick Connect Spray
Tips
- Handle/Accessory Tray Fastening Hardware
Kit (which includes)
- Carriage Bolts (2)
- Plastic Knobs (2)
- Tree Clips (4)
To prepare your pressure washer for operation, you will need to perform these tasks:
- Attach handle and accessory tray to main unit.
- Add oil to engine crankcase.
- Add fuel to fuel tank.
- connect high pressure hose to spray gun and pump.
- Connect water supply to pump.
- Attach nozzle extension to spray gun.
- Select/attach quick connect spray tip to nozzle extension.
Attach Handle and Accessory Tray
- Place handle (A) onto handle supports connected to main unit. Make sure holes in handle align with holes on handle supports.
- Insert handle carriage bolts (B) through holes from inside of unit and attach a plastic knob (C) from outside of unit. Tighten by hand.
NOTICE: By loosening both knobs to the unthreaded middle section of the attachment bolt, the upper handle can fold forward to store flat atop the cold engine.
DO NOT fold the handle down while the engine is hot. - Place accessory tray (D) over holes (E) on handle (viewing from front of unit). Push the tree clips (F) into the holes until they sit flat against the accessory tray.

Add Engine Oil
- Place pressure washer on a flat, level surface.
- Clean area around oil fill and remove yellow oil fill cap/dipstick.
- Hold neck of supplied oil pouch and remove cap.
- Slowly pour contents of oil pouch into oil fill opening. Checking oil level frequently, fill to FULL mark (top hole) on dipstick.

NOTICE Pause to permit oil to settle. Wipe dipstick clean each time oil level is checked. DO NOT overfill.Improper treatment of pressure washer could damage it and shorten its life.
- DO NOT attempt to crank or start the engine before it has been properly serviced with the recommended oil. This could result in an engine failure. 5. Replace oil fill cap/dipstick and fully tighten.
Add Fuel
Fuel must meet these requirements:
- Clean, fresh, unleaded gasoline.
- A minimum of 87 octane/87 AKI (91 RON). For high altitude use, see High Altitude.
- Gasoline with up to 10% ethanol (gasohol) is acceptable.
NOTICE Use of unapproved fuels could damage generator and voids warranty.
- DO NOT use unapproved gasoline such as E15 and E85.
- DO NOT mix oil in gasoline or modify engine to run on alternate fuels.
To protect the fuel system from gum formation, mix in afuel stabilizer when adding fuel. See Storage. All fuel is not the same. If you experience starting or performance problems after using fuel, switch to a different fuel provider or change brands. This engine is certified to operate on gasoline. The emission control system for this engine is EM (Engine Modifications).
WARNING: Fuel and its vapors are extremely flammable and explosive which could cause burns, fire or explosion resulting in death or serious injury.
WHEN ADDING FUEL
- Turn pressure washer engine OFF and let it cool at least 2 minutes before removing fuel cap. Loosen cap slowly to relieve pressure in tank.
- Fill fuel tank outdoors.
- DO NOT overfill tank. Allow space for fuel expansion.
- If fuel spills, wait until it evaporates before starting engine.
- Keep fuel away from sparks, open flames, pilot lights, heat, and other ignition sources.
- Check fuel lines, tank, cap and fittings frequently for cracks or leaks. Replace if necessary.
- DO NOT light a cigarette or smoke.
- Clean area around fuel fill cap, remove cap.
- Slowly add regular unleaded fuel (A) to fuel tank (B). Be careful not to overfill. To allow for fuel expansion, do not fill above the bottom of the fuel tank neck.
- Install fuel cap and let any spilled fuel evaporate before starting engine.

High Altitude
At altitudes over 5,000 ft. (1524 m), a minimum 85 octane / 85 AKI (89 RON) gasoline is acceptable. To remain emissions compliant, high altitude adjustment is required. Operation without this adjustment will cause decreased performance, increased fuel consumption, and increased emissions. See an Authorized Briggs & Stratton dealer for high altitude adjustment information. Operation of the engine at altitudes below 2,500 ft. (762 m) with the high altitude kit is not recommended.
Lubricate O-Rings
Lubrication of o-rings is extremely important for installation and operation. The use of a lubricant (petroleum or synthetic grease) during assembly helpsseat o-rings properly and provides an improved seal. Italso helps protect the o-ring from damage by abrasion, pinching or cutting and extends the life of the o-ring.
NOTICE ALWAYS: apply a small amount of lubricant on o‑rings prior to assembling the garden hose to the pump (A), high pressure hose (B), spray gun (C), and nozzle extension (D).
Lubricate all connections shown below, following these instructions:
- Inspect and clean connecting surfaces prior to lubrication and assembly.
- Use lubricants sparingly during assembly; a light film is all that is required.
- Use a small brush or cotton swab to apply grease directly to o-rings where they are not accessible
(QC fitting, M22 fitting).
Connect Hose and Water Supply to Pump
NOTICE DO NOT: run the pump without the water supply connected and turned on.
- Damage to equipment resulting from failure to follow this instruction will void warranty.

- NEVER connect high pressure hose to nozzle extension.
- Keep high pressure hose connected to pump and spray gun while system is pressurized.
- Always be certain spray gun, nozzles and accessories are correctly attached.Uncoil high pressure hose and attach one end of hose to base of spray gun. Tighten by hand.
WARNING: The high pressure stream of water that this equipment produces could cut through skin and its underlying tissues, resulting in serious injury and possible amputation.
- Attach other end of high pressure hose to high pressure outlet on pump. Tighten by hand.

- Run water through your garden hose for 30 seconds to clean out any debris.
NOTICE DO NOT: siphon standing water for the water supply. Use ONLY cold water (less than 100°F (38°C)).- There MUST be at least 10 ft. (3 m) of unrestricted garden hose between the pressure washer inlet and any device, such as a vacuum breaker or check valve.
- Damage to equipment resulting from failure to follow this instruction will void warranty.
- Before connecting garden hose to water inlet, inspect inlet screen (A). Clean screen if it contains debris or have it replaced if damaged. DO NOT run pressure washer if inlet screen is damaged.

NOTICE: Using a One Way Valve (vacuum breaker or check valve) at pump inlet could cause pump or inlet connector damage. - Connect the garden hose (not to exceed 50 ft. (15 m) in length) to the water inlet. Tighten by hand.
WARNING: Risk of eye injury. Spray could splash back or propel objects resulting in serious injury.
- Always wear indirect vented (chemical splash) safety goggles marked to comply with ANSI Z87.1 when using or in vicinity of this equipment.
- NEVER substitute safety glasses or dry-condition goggles for indirect vented safety goggles.
- Turn ON the water, press red button (B) on the gun and squeeze the trigger to purge the pump system of air and impurities.
Checklist Before Starting Engine
Review the unit’s assembly to ensure you have performed all of the following.
- Be sure to read Operator Safety and Operation before using pressure washer.
- Make sure handle is in place and secure.
- Check that oil has been added to proper level in the engine crankcase.
- Add proper fuel to fuel tank.
- Check for properly tightened hose connections. Check to make sure there are no kinks, cuts, or damage to high pressure hose.
- Provide a proper water supply at an adequate flow.
Features and Controls
- A – Spray Gun — Controls the application of water onto cleaning surface with trigger device. Includes trigger lock.
- B – Recoil Starter — Used for starting the engine manually.
- C – Oil Fill/Dipstick — Check and fill with oil here.
- D – Engine Identification — Provides model, type and code of engine. Please have these readily available if calling for assistance.
- E – Engine Rocker Switch — Push this switch to ON (I) position before using recoil starter. Push switch to OFF (0) position for shutting off engine.
- F – High Pressure Outlet — Connection for high pressure hose.
- G – Water Inlet — Connection for garden hose.
- H – Pump — Develops high pressure.
- J – Automatic Cool Down System — Cycles water through pump when water reaches 125°-155°F (51°C-68°C). Warm water will discharge from pump onto ground. This system prevents internal pump damage
Air Filter — Protects engine by filtering dust and debris out of intake air. - L – Detergent Siphoning Tube — Use to siphon pressure washer safe detergents into the low pressure stream.
- M – Identification Label — Provides model and serial number of pressure washer. Please have these readily available if calling for assistance.
- N – Fuel Tank — Fill tank with regular unleaded fuel. Always leave room for fuel expansion.
- P – Warning/Operating Instructions Tag — Identifies hazards and proper procedure to start/stop pressure washer.
- R – Nozzle Extension with Quick Connect — Allows you to switch between four different spray tips.
- S – Spray Tips — Detergent, 0°, 15° and 40°: for various high pressure cleaning applications.
- T – Accessory Tray — Provides convenient storage for standard and optional accessories, such as brushes, turbo wands, etc.
- U – High Pressure Hose — Connect one end to water pump and the other end to spray gun.
Operation
If you have any problems operating your pressure washer, please call the pressure washer helpline at (800) 743-4115.
Pressure Washer Location
Carbon Monoxide Poisoning
WARNING POISONOUS GAS HAZARD.
Engine exhaust contains carbon monoxide, a poisonous gas that could kill you in minutes. You CANNOT smell it, see it, or taste it. Even if you do not smell exhaust fumes, you could still be exposed to carbon monoxide gas.
- Operate this product ONLY outside far away from windows, doors and vents to reduce the risk of carbon monoxide gas from accumulating and potentially being drawn towards occupied spaces.
- Install battery-operated carbon monoxide alarms or plug-in carbon monoxide alarms with battery backup according to the manufacturer’s instructions. Smoke alarms cannot detect carbon monoxide gas.
- DO NOT run this product inside homes, garages, basements, crawlspaces, sheds, or other partiallyenclosed spaces even if using fans or opening doors and windows for ventilation. Carbon monoxide can quickly build up in these spaces and can linger for hours, even after this product has shut off.
- ALWAYS place this product downwind and point the engine exhaust away from occupied spaces. If you start to feel sick, dizzy, or weak while using this product, get to fresh air RIGHT AWAY. See a doctor. You may have carbon monoxide poisoning.
How to Start Your Pressure Washer To start your pressure washer for the first time, follow these instructions step-by-step. This starting information also applies if you have let the pressure washer sit idle for at least a day.
- Place pressure washer near an outside water source capable of supplying water at a flow rate greater than 3.1 gallons (11.7 l) per minute and no less than 20 PSI (1.3 BAR) at pressure washer end of garden hose. DO NOT siphon supply water.
- Check that high pressure hose is tightly connected to spray gun and pump. See Assembly section.
- Make sure unit is in a level position.
- Connect garden hose to water inlet on pressure washer pump.NOTICE DO NOT: run the pump without the water supply connected and turned on.
- Damage to equipment resulting from failure to follow this instruction will void warranty.
- Turn ON water, point gun in a safe direction, press red button and squeeze trigger to purge pump system of air and impurities.
- Attach nozzle extension to spray gun. Tighten by hand.

- Choose spray tip you want to use, pull back on collar of nozzle extension, insert spray tip and release collar. Tug on spray tip to make sure it is securely in place. See How to Use Spray Tips

- Push engine rocker switch (A) to ON (I) position.

NOTICE Before starting the pressure washer, be sure you are wearing safety goggles as described below.WARNING: Risk of eye injury. Spray could splash back or propel objects resulting in serious injury.
- Always wear indirect vented (chemical splash) safety goggles marked to comply with ANSI Z87.1 when using or in vicinity of this equipment.
- NEVER substitute safety glasses or dry-condition goggles for indirect vented safety goggles.
NOTICE: This unit is equipped with a ReadyStart® engine. A ReadyStart engine means there is no priming or choking required.
- NEVER pull starter cord without first relieving spray gun pressure.
- When starting engine, pull cord slowly until resistance is felt and then pull rapidly to avoid
kickback. - After each starting attempt, where engine fails to run, always point spray gun in safe direction, press red button and squeeze spray gun trigger to release high pressure.
- Firmly grasp spray gun with both hands when using high pressure spray to avoid injury when spray gun kicks back.When starting engine, position yourself as recommended and grasp starter grip handle and pull slowly until you feel some resistance. Then pull rapidly to start engine.\
WARNING: Starter cord kickback (rapid retraction) will pull hand and arm toward engine faster than you can let go which could cause broken bones, fractures, bruises, or sprains resulting in serious injury.
- Return starter grip handle slowly. DO NOT let rope “snap back” against starter

WARNING
- The high pressure stream of water that this equipment produces could cut through skin and its underlying tissues, resulting in serious injury and possible amputation.
- Spray gun traps high water pressure, even when engine is stopped and water is disconnected, which could result in serious injury.
- DO NOT allow CHILDREN to operate pressure washer.
- Keep high pressure hose connected to pump and spray gun while system is pressurized.
- NEVER aim spray gun at people, animals, or plants.
- DO NOT secure spray gun in open position.
- DO NOT leave spray gun unattended while machine is running.
- NEVER use a spray gun which does not have a trigger lock or trigger guard in place and in working order.
- Always be certain spray gun, nozzles and accessories are correctly attached.
WARNING
- Exhaust heat/gases could ignite combustibles, structures or damage fuel tank causing a fire, resulting in death or serious injury.
- Contact with muffler area could cause burns resulting in serious injury.
- DO NOT touch hot parts and AVOID hot exhaust gases.
- Allow equipment to cool before touching.
- Keep at least 5 ft. (1.5 m) of clearance on all sides of pressure washer including overhead.
- It is a violation of California Public Resource Code, Section 4442, to use or operate the engine on any forest-covered, brush-covered, or grass-covered land unless the exhaust system is equipped with a spark arrester, as defined in Section 4442, maintained in effective working order. Other states or federal jurisdictions may have similar laws.
- Contact the original equipment manufacturer, retailer, or dealer to obtain a spark arrester designed for the exhaust system installed on this engine.
- Replacement parts must be the same and installed in the same position as the original parts.
How to Stop Your Pressure Washer
- Release spray gun trigger and let engine idle for two minutes.
- Push engine rocker switch to OFF (0) position.
- ALWAYS point gun in a safe direction and press red button and squeeze spray gun trigger to release retained high water pressure.
WARNING
- The high pressure stream of water that this equipment produces could cut through skin and its underlying tissues, resulting in serious injury and possible amputation.
- Spray gun traps high water pressure, even when engine is stopped and water is disconnected, which could result in serious injury.
- Keep high pressure hose connected to pump and spray gun while system is pressurized.
- ALWAYS point spray gun in safe direction, press red button and squeeze spray gun trigger to release high pressure, every time you stop engine
How to Use Accessory Tray
- The unit is equipped with an accessory tray with places to store your spray gun, nozzle extension, high pressure hose and quick connect spray tips.
- Place nozzle extension in slots on left side of accessory tray (viewing from rear of unit) and snap in.

- Place spray gun through grooves on right side of accessory tray.
- Insert multi-colored spray tips in holes provided on front of accessory tray.
- Wrap high pressure hose and hang on hook of accessory tray.
How to Use Spray Tips
The quick–connect on the nozzle extension allows you to switch between four different quick connect spray tips. Spray tips can be changed while pressure washer is running once spray gun trigger lock is engaged. The spray tips vary the spray pattern as shown.
Follow these instructions to change spray tips:
- Pull back collar on quick–connect and pull current spray tip off. Store spray tips in holder provided on the accessory tray.
- Select desired spray tip:

- For delicate rinse, for gentle cleaning of cars/ trucks, boats, RV’s, patio furniture, lawn equipment, etc., select white 40° spray tip.
- For general rinsing, ideal for most all purpose cleaning such as home siding, brick patios, wood decks, driveways and sidewalks, garage floors, etc., select yellow 15° spray tip.
- For maximum rinsing, for stubborn or hard to reach surface such as second story surfaces, paint removal, oil stains, rust removal or other stubborn substances (tar, gum, grease, wax, etc.), select red 0° spray tip.
- To apply detergent, applies project specific cleaners to help break down stubborn dirt and grime on a variety of surfaces, select blackdetergent spray tip.
- Pull back on collar, insert new spray tip and release collar. Tug on spray tip to make sure it is securely in place.
Usage Tips
- For most effective cleaning, keep spray tip from 8 to 24 inches away from cleaning surface.
- If you get spray tip too close, especially using a high pressure spray tip, you may damage surface being cleaned.
- DO NOT get closer than 6 inches when cleaning tires. Applying Detergent
To apply detergent, follow these steps:
- Review use of spray tips.
- Prepare detergent solution as required by job.
- Place end of detergent siphoning tube into detergent container.
- NOTICE Make sure end of tube is fully submerged in detergent while applying detergent.
- NOTICE Contact with the hot muffler could damage detergent siphoning tube.
- When inserting the siphon into a detergent solution bottle, route the tube so as to keep it from inadvertently contacting the hot muffler.
- Make sure black detergent spray tip is installed.
- NOTICE Detergent cannot be applied with the high pressure spray tips (White, Yellow or Red).
- Make sure garden hose is connected to water inlet. Check that high pressure hose is connected to spray gun and pump. Turn on water.
- NOTICE You must attach all hoses before you start the engine.
- Starting the engine without all the hoses connected and without the water turned ON could damage the pump.
- Damage to equipment resulting from failure to follow this instruction will void warranty.
- Start engine following instructions How to Start Your Pressure Washer.
- Apply detergent to a dry surface, starting at lower portion of area to be washed and work upward, using long, even, overlapping strokes.
- Allow detergent to “soak in” for 3-5 minutes before washing and rinsing. Reapply as needed to prevent surface from drying. DO NOT allow detergent to dry on (prevents streaking).
Pressure Washer Rinsing
For Rinsing:
- Remove black detergent spray tip from nozzle extension.
- Select and install desired high pressure spray tip following instructions How to Use Spray Tips.
- Keep the spray gun a safe distance from the area you plan to spray.
- Apply a high pressure spray to a small area, then check the surface for damage. If no damage is found, it is okay to continue cleaning.
- Start at the top of the area to be rinsed, working down with same overlapping strokes as you used for washing and applying detergent.
Cleaning Detergent Siphoning Tube
- If you used the detergent siphoning tube, you must flush it with clean water before stopping the engine.
- Place detergent siphoning tube in a bucket full of clean water.
- Remove high pressure spray tip from nozzle extension.
- Select and install black detergent spray tip following instructions How to Use Spray Tips.
- Flush for 1-2 minutes.
- Shut off engine following instructions How to Stop
- Pressure Washer and turn off water supply.
- ALWAYS point spray gun in a safe direction, press red button and squeeze spray gun trigger to release retained high water pressure
Automatic Cool Down System (Thermal Relief)
If you run the engine on your pressure washer for 3‑5 minutes without pressing the trigger on the spray gun, circulating water in the pump can reach temperatures above 125º-155ºF (51°-68°C). The system engages to cool the pump by discharging the warm water onto the ground.
Maintenance
Maintenance Schedule
Follow the hourly or calendar intervals, whichever occurs first. More frequent service is required when operating in adverse conditions noted below.
| Every 8 Hours or Daily |
| • Check / clean water inlet screen1 |
| • Check high pressure hose |
| • Check detergent tube |
| • Check spray gun and assembly for leaks |
| • Clean debris |
| • Check engine oil level |
| Every 25 Hours or Yearly |
| • Clean engine air cleaner2 |
| Every 50 Hours or Yearly |
| • Inspect muffler and spark arrester |
| Yearly |
| • Replace engine air cleaner2 |
| • Replace spark plug |
| • Clean cooling system2 |
- Clean if clogged. Replace if perforated or torn.
- Service more often under dirty or dusty conditions.
General Recommendations
Regular maintenance will improve the performance and extend the life of the pressure washer. See any qualified dealer for service. The pressure washer’s warranty does not cover items that have been subjected to operator abuse or negligence. To receive full value from the warranty, the operator must maintain the pressure washer as instructed in this manual, including proper storage as detailed in Winter Storage and Long Term Storage. NOTICE Should you have questions about replacing components on your pressure washer, please call (800) 743‑4115 for assistance. Some adjustments will need to be made periodically to properly maintain your pressure washer. All service and adjustments should be made at least once each season. A new spark plug and clean air filter assure proper fuel-air mixture and help your engine run better and last longer. Follow the requirements in the Maintenance Schedule chart above.
Pump Oil
DO NOT attempt any oil maintenance on this pump. The pump is pre-lubricated and sealed from the factory, requiring no additional maintenance for the life of the pump.
Emissions Control
Maintenance, replacement, or repair of the emissions control devices and systems may be performed by any non-road engine repair establishment or individual. However, to obtain ”no charge” emissions control service, the work must be performed by a factory authorized dealer. See the Emissions Warranty.
Before Each Use
- Check engine oil level.
- Clean debris.
- Check water inlet screen for damage.
- Check high pressure hose for leaks.
- Check detergent tube for damage.
- Check spray gun and nozzle extension assembly for leaks.
- Rinse out garden hose to flush out debris.
Pressure Washer Maintenance
Clean Debris: Daily or before use, clean accumulated debris from pressure washer. Keep linkage, spring and controls clean. Keep area around and behind muffler free from any combustible debris. Inspect cooling air slots and openings on the pressure washer. These openings must be kept clean and unobstructed. Pressure washer parts should be kept clean to reduce the risk of overheating and ignition of accumulated debris. Use a damp cloth to wipe exterior surfaces clean.
NOTICE
- Improper treatment of pressure washer could damage it and shorten its life.
- DO NOT insert any objects through cooling slots.
- Use a soft bristle brush to loosen caked on dirt, oil, etc.
- Use a vacuum cleaner to pick up loose dirt and debris.
Check and Clean Inlet Screen
Examine the screen on the pump’s water inlet. Clean it if the screen is clogged or replace it if screen is damaged.
Check High Pressure Hose
The high pressure hose can develop leaks from wear, kinking, or abuse. Inspect the hose each time before using it. Check for cuts, leaks, abrasions or bulging of cover, damage or movement of couplings. If any of these conditions exist, replace the hose immediately.
Check Detergent Siphoning Tube
Examine the detergent tube and clean if clogged. The tube should fit tightly on the barbed fitting. Examine the tube for leaks or tears. Replace the tube if damaged.
Detergent Siphoning Check Ball
- Occasionally check ball in detergent siphoning system may become stuck from storage, dried soap, or minerals in water. The check ball can be freed by performing the following:
- NOTICE Before performing this procedure, be sure you are wearing safety goggles as described below. Shut OFF engine and turn off water supply.
- ALWAYS point spray gun in a safe direction, press red button and squeeze spray gun trigger to release retained high water pressure.
- Remove detergent hose from barbed fitting on pump.
- Using a firm, blunt object 7/64” in diameter or smaller, by at least 1” long, such as an Allen wrench, slowly insert the object into the barbed fitting until you meet resistance. This resistance is the check ball.
- Slowly push down until you feel the ball move slightly, push no more than 1/8”. Slight pressure may be required to free the ball.
- Repeat steps 4 and 5 if necessary.
- Reinstall detergent hose onto barb fitting.
- Treat with PumpSaver as described in Protecting the Pump during storage to prevent reoccurrence.
Check Spray Gun
Examine the hose connection to the spray gun and make sure it is secure. Test the trigger by pressing the red button and making sure the trigger “springs back” into place when you release it. You should not be able to press the trigger without pressing the red button. Replace spray gun immediately if it fails any of these tests.
Spray Tip Maintenance
- A pulsing sensation felt while squeezing the spray gun trigger may be caused by excessive pump pressure.
- The principal cause of excessive pump pressure is a spray tip clogged or restricted with foreign materials, such as dirt, etc. To correct the problem, immediately clean the spray tip following these instructions:
- Shut OFF engine and turn off water supply.
- ALWAYS point spray gun in a safe direction, press red button and squeeze spray gun trigger to release retained high water pressure.
- Remove spray tip from end of nozzle extension.
- Use a small paper clip to free any foreign material clogging or restricting spray tip (A).

- Remove nozzle extension from spray gun.
- Using a garden hose, remove additional debris by back flushing water through nozzle extension.
- Back flush between 30 to 60 seconds
- Reinstall spray tip into nozzle extension.
- Reconnect nozzle extension to spray gun.
- Make sure garden hose is connected to water inlet. Check that high pressure hose is connected to spray gun and pump. Turn on water.
- Start engine following instructions How to Start Your Pressure Washer.
- Test pressure washer by operating with each quick connect spray tip.
O-Ring Maintenance
Purchase an O-Ring/Maintenance Kit, model 705001, by contacting the nearest authorized service center. It is not included with the pressure washer. This kit includes replacement o‑rings, rubber washer and water inlet filter. Refer to the instruction sheet provided in the kit to service your unit’s o-rings
Engine Maintenance
WARNING
- Unintentional sparking could cause fire or electric shock resulting in death or serious injury.
- WHEN ADJUSTING OR MAKING REPAIRS TO YOUR PRESSURE WASHER
- Disconnect the spark plug wire from the spark plug and place the wire where it cannot contact spark plug.
- WHEN TESTING FOR ENGINE SPARK
- Use approved spark plug tester.
Oil
Oil Recommendations
We recommend the use of Briggs & Stratton Warranty Certified oils for best performance. Other high-quality detergent oils are acceptable if classified for service SF, SG, SH, SJ or higher Below 40°F (4°C) the use of SAE 30 will result in hard starting. Above 80°F (27°C) the use of 10W30 may cause increased oil consumption. Check oil level more frequently
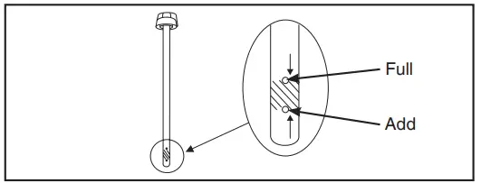
Checking Oil Level
- Oil level should be checked prior to each use or at least every 8 hours of operation. Keep oil level maintained.
- Make sure pressure washer is on a level surface.
- Remove oil dipstick and wipe dipstick with clean cloth. Replace and tighten dipstick. Remove and check oil level.
- Verify oil is at FULL mark (top hole) on dipstick. Replace and tighten dipstick.

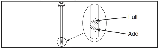
Adding Engine Oil
- Make sure pressure washer is on a level surface.
- Check oil level as described in Checking Oil Level.
- If needed, slowly pour oil into oil fill opening to the FULL mark (top hole) on dipstick. DO NOT overfill.
NOTICE Overfilling with oil could cause the engine to not start, or hard starting.
- DO NOT overfill.
- If over the FULL mark on dipstick, drain oil to reduce oil level to FULL mark on dipstick.
- Replace and tighten dipstick.
Changing Engine Oil
An oil change is not required. Follow the steps below if you want to change the oil
Change oil while engine is still warm from running, as follows:
- Drain fuel tank by running pressure washer until fuel tank is empty.
- Disconnect spark plug wire and keep it away from spark plug.
- Clean area around oil fill, remove oil fill cap/ dipstick. Wipe dipstick clean.
- Tip your pressure washer to drain oil from oil fill into a suitable container making sure you tip your unit away from spark plug. When crankcase is empty, return pressure washer to upright position.
- Slowly pour recommended oil about 15 oz. (0.44 liters) into oil fill opening. Pause to permit oi to settle. Fill to FULL mark (top hole) on dipstick.
- Wipe dipstick clean each time oil level is checked. DO NOT overfill.
- Replace and tighten dipstick.
- Wipe up any remaining oil.
- Reconnect spark plug wire to spark plug.
Service Air Cleaner
- Your engine will not run properly and may be damaged if you run it with a dirty air cleaner. Service more often if operating under dirty or dusty conditions. To service the air cleaner, follow these steps:
- Pull the latch (A) and open cover (B).

- Carefully remove air cleaner (C) to prevent debris from falling into carburetor.
- To loosen debris, gently tap the air cleaner on a hard surface. If the air cleaner is excessively dirty, replace with a new air cleaner.
- Reinstall clean or new air cleaner in base (D).
- Close the cover and secure the latch.
Service Spark Plug
- Changing the spark plug will help your engine to start easier and run better.
- Clean area around spark plug.
- Remove and inspect spark plug.
- Replace spark plug if electrodes are pitted, burned or porcelain is cracked. Use the recommended replacement plug. See Specifications.

- Check electrode gap with wire feeler gauge and reset spark plug gap to recommended gap if necessary. See Specifications
Install spark plug and tighten firmly.
Inspect Muffler and Spark Arrester Inspect the muffler for cracks, corrosion, or other damage. Remove the spark arrester, if equipped, and inspect for damage or carbon blockage. If replacement parts are required, make sure to use only original equipment replacement parts.
Air Cooling System
Over time debris may accumulate in cylinder cooling fins and cannot be observed without partial engine disassembly. For this reason, we recommend you have a qualified service dealer clean the cooling system per recommended intervals. See Maintenance Schedule in beginning of Maintenance section. Equally important is to keep top of engine free from debris. See Clean Debris.
Carburetor Adjustment
The carburetor on this engine is low emission. It is equipped with a non-adjustable idle mixture valve. Top speed has been set at the factory. If adjustment is required, see an authorized service dealer. After Each Use
- Water should not remain in the unit for long periods of time. Sediments or minerals can deposit on pump parts and freeze pump action. Follow these procedures after every use:
- Flush detergent from pump by running pressure washer for one to two minutes with a high pressure spray tip.
- Shut OFF engine, turn off water supply, point gun in a safe direction, press red button and squeeze trigger to relieve trapped pressure, and let engine cool.
Winter Storage
NOTICE You must protect your unit from freezing temperatures.
- Failure to do so will permanently damage your pump and render your unit inoperable.
- Freeze damage is not covered under warranty.
To protect the unit from freezing temperatures:
- Follow steps 1-5 in the previous section After Each Use.
- Use PumpSaver, Model 6039, to treat pump. This minimizes freeze damage and lubricates pistons and seals.
- If pump saver is not available, connect a 3 ft. (1 m) section of garden hose to water inlet adapter. Pour RV‑antifreeze (antifreeze without alcohol) into hose. Pull recoil handle twice.
- Disconnect 3 ft. (1 m) hose.
- Store unit in a clean, dry area.
Long Term Storage
If you do not plan to use the pressure washer for more than 30 days, you must prepare the engine and pump for long term storage.
Protect Fuel System
Fuel Additive:
Fuel can become stale when stored over 30 days. Stale fuel causes acid and gum deposits to form in the fuel system or on essential carburetor parts. To keep fuel fresh, use Briggs & Stratton® Advanced Formula Fuel Treatment & Stabilizer, available wherever Briggs & Stratton genuine service parts are sold. There is no need to drain gasoline from the engine if a fuel stabilizer is added according to instructions. Run the engine for 2 minutes to circulate the stabilizer throughout the fuel system before storage. If gasoline in the engine has not been treated with a fuel stabilizer, it must be drained into an approved container. Run the engine until it stops from lack of fuel. The use of a fuel stabilizer in the storage container is recommended to maintain freshness.
Protecting the Pump
To protect the pump from damage caused by mineral deposits or freezing, use PumpSaver, Model 6039, to treat pump. This prevents freeze damage and lubricates pistons and seals.
NOTICE
PumpSaver is available as an optional accessory. It is not included with the pressure washer. Contact the nearest authorized service center to purchase PumpSaver.
NOTICE
- You must protect your unit from freezing temperatures.
- Failure to do so will permanently damage your pump and render your unit inoperable.
- Freeze damage is not covered under warranty.
- To use PumpSaver, make sure the pressure washer is turned off and disconnected from supply water. Read and follow all instructions and warnings given on the PumpSaver container.
Other Storage Tips
- DO NOT store fuel from one season to another unless it has been treated as described in Protect Fuel System.
- Replace fuel container if it starts to rust. Rust and/ or dirt in fuel can cause problems if it’s used with this unit.
- Cover unit with a suitable protective cover that does not retain moisture.
Troubleshooting
| Problem | Cause | Correction |
|
Pump has following problems: failure to produce pressure, erratic pressure, chattering, loss of pressure, low water volume. | 1. Low pressure spray tip installed.
2. Inadequate water supply. 3. Clogged inlet hose screen.
4. Spray tip is obstructed. 5. Connections leak.
6. High pressure hose or spray gun leaks. | 1. Replace with high pressure spray tip. 2. Provide adequate water flow. 3. Check and clean inlet hose screen. 4. Clean spray tip. 5. Tighten connections or replace o-ring. 6. Replace. |
|
Detergent fails to mix with spray. | 1. High pressure spray tip installed. 2. Check ball stuck in detergent siphoning system. 3. Detergent tube is clogged or cracked. | 1. Replace with low pressure spray tip. 2. Free check ball. See Detergent Siphoning Check Ball. 3. Clean or replace detergent tube. |
|
Engine lacks power; will not start; starts and runs rough or shuts down during operation. | 1. Engine rocker switch set to OFF (0) position. 2. Out of fuel. 3. Dirty air cleaner. 4. Spark plug wire not connected to spark plug. | 1. Set engine rocker switch to ON (I) position. 2. Fill fuel tank. 3. Clean or replace air cleaner. 4. Connect wire to spark plug. |
BRIGGS & STRATTON PRODUCTS WARRANTY POLICY
LIMITED WARRANTY
Briggs & Stratton warrants that, during the warranty period specified below, it will repair or replace, free of charge, any part that is defective in material or workmanship
or both. Transportation charges on product submitted for repair or replacement under this warranty must be borne by purchaser. This warranty is effective for and is subject to the time periods and conditions stated below. For warranty service, find the nearest Authorized Service Dealer in our dealer locator map at BRIGGSANDSTRATTON.COM. The purchaser must contact the Authorized Service Dealer, and then make the product available to the Authorized Service Dealer for inspection and testing. There is no other express warranty. Implied warranties, including those of merchantability and fitness for a particular purpose, are limited to the warranty period listed below, or to the extent permitted by law. Liability for incidental or consequential damages are excluded to the extent exclusion is permitted by law. Some states or countries do not allow limitations on how long an implied warranty lasts, and some states or countries do not allow the exclusion or limitation of incidental or consequential damages, so the above limitation and exclusion may not apply to you. This warranty gives you specific legal rights and you may also have other rights which vary from state to state or country to country.**
| WARRANTY PERIOD | ||||
| Item | Consumer Use | Commercial Use | ||
| Equipment Engine* Frame | 24 months 24 months 60 months | 3 months 3 months 3 months | ||
Applies to Briggs & Stratton engines only. Warranty coverage of non-Briggs & Stratton engines is provided by that engine manufacturer. Emissions-related components
are covered by the Emissions Warranty Statement. In Australia – Our goods come with guarantees that cannot be excluded under the Australian Consumer Law. You are entitled to a replacement or refund for a major failure and for compensation for any other reasonably foreseeable loss or damage. You are also entitled to have the goods repaired or replaced if the goods fail to be of acceptable quality and the failure does not amount to a major failure. For warranty service, find the nearest Authorized Service Dealer in our dealer locator map at BRIGGSandSTRATTON.COM, or by calling 1300 274 447, or by emailing or writing to [email protected], Briggs & Stratton Australia Pty Ltd, 1 Moorebank Avenue, NSW, Australia, 2170. The warranty period begins on the date of purchase by the first retail or commercial consumer. “Consumer use” means personal residential household use by a retail consumer. “Commercial use” means all other uses, including use for commercial, income producing or rental purposes. Once a product has experienced commercial use, it shall thereafter be considered as a commercial use product for purposes of this warranty. Save your proof of purchase receipt. If you do not provide proof of the initial purchase date at the time warranty service is requested, the manufacturing date of the product will be used to determine the warranty period. Product registration is not required to obtain warranty service on Briggs & Stratton products
ABOUT YOUR WARRANTY
Warranty service is available only through Briggs & Stratton Authorized Service Dealers. This warranty covers only defects in materials or workmanship. It does not cover
damage caused by improper use or abuse, improper maintenance or repair, normal wear and tear, or stale or unapproved fuel.
Improper Use and Abuse – The proper, intended use of this product is described in the Operator’s Manual. Using the product in a way not described in the Operator’s
Manual or using the product after it has been damaged will not be covered under this warranty. Warranty coverage will also not be provided if the serial number on the
product has been removed or the product has been altered or modified in any way, or if the product has evidence of abuse such as impact damage or water/chemical
corrosion damage.
Improper Maintenance or Repair – This product must be maintained according to the procedures and schedules provided in the Operator’s Manual, and serviced or
repaired using genuine Briggs & Stratton parts or equivalent. Damage caused by lack of maintenance or use of non-original parts is not covered by warranty.
Normal Wear and Tear – Like most mechanical devices, your unit is subject to wear even when properly maintained. This warranty does not cover repairs when normal
use has exhausted the life of a part or the equipment. Maintenance and wear items such as filters, belts, cutting blades, and brake pads (except engine brake pads) are
not covered by warranty due to wear characteristics alone, unless the cause is due to defects in material or workmanship.
Stale or Unapproved Fuel – In order to function correctly, this product requires fresh fuel that conforms to the criteria specified in the Operator’s Manual. Engine or
equipment damage caused by stale fuel or the use of unapproved fuels (such as E15 or E85 ethanol blends) is not covered by warranty.
Other Exclusions – This warranty excludes damage due to accident, abuse, modifications, alterations, improper servicing, freezing or chemical deterioration.
Attachments or accessories that were not originally packaged with the product are also excluded. There is no warranty coverage on equipment used for primary power in
place of utility power or on equipment used in life support applications. This warranty does not include used, reconditioned, second-hand, or demonstration equipment or
engines. This warranty also excludes failures due to acts of God and other force majeure events beyond the manufacturer’s control.






































