BRIGGS STRATTON 290000 Vanguard Series Engine User Manual
General Information
This manual contains safety information so that you will know the hazards and risks related to this engine and how to prevent them. It also contains instructions for the correct use and maintenance of the engine. Because Briggs & Stratton does not know what equipment this engine will power, it is important that you read, understand, and obey these instructions. Save these original instructions for future reference.
NOTE: The figures and illustrations in this manual are for reference only and can be different from your model. If you need help, contact an Authorized Service Dealer.
For replacement parts or technical help, record the date of purchase, engine model, type, trim, and the engine serial number. These numbers are located on your engine. Refer to the Features and Controls section.
| Date of Purchase | |
| Engine Model – Type – Trim | |
| Engine Serial Number |
European Office Contact Information
For questions related to European emissions, contact our European office at:
Max-Born-Straße 2, 68519 Viernheim, Germany.
European Union (EU) Stage V (5): Carbon Dioxide (CO2) Values
Enter CO2 in the search window on BriggsandStratton.com to find carbon dioxide values of Briggs & Stratton EU Type-Approval Certificate engines.
Recycling Information
| Recycle all cartons, boxes, used oil, and batteries as specified by government regulations. |
Operator Safety
Safety Alert Symbol and Signal Words
The safety alert symbol
identifies safety information about hazards that could result in personal injury. A signal word (DANGER, WARNING, or CAUTION) is used to indicate the likelihood and the potential severity of injury. In addition, a hazard symbol is used to represent the type of hazard.
DANGER indicates a hazard which, if not avoided, will result in death or serious injury.
WARNING indicates a hazard which, if not avoided, could result in death or serious injury.
CAUTION indicates a hazard which, if not avoided, could result in minor or moderate injury.
NOTICE indicates information considered important but not hazard-related.
Hazard Symbols and Meanings
Fire Hazard | Explosion Hazard |
Shock Hazard | Toxic Fume Hazard |
Hot Surface Hazard | Noise Hazard – Ear protection recommended for extended use. |
Thrown Object Hazard – Wear eye protection | Explosion Haza |
Frostbite Hazard | Kickback Hazard |
Amputation Hazard – Moving Parts | Chemical Hazard |
Corrosive Hazard |
Safety Messages
WARNING
Briggs & Stratton® Engines are not designed for and are not to be used to power: fun-karts; go-karts; children’s, recreational, or sport all-terrain vehicles (ATVs); motorbikes; hovercraft; aircraft products; or vehicles used in competitive events not sanctioned by Briggs & Stratton. For information about competitive racing products, see www.briggsracing.com. For use with utility and side-by-side ATVs, please contact Briggs & Stratton Power Application Center, 1-866-927-3349. Incorrect engine use could result in serious injury or death.
WARNING
Fuel and its vapors are flammable and explosive. Fire or explosion could result in burns or death. When you add fuel
- Stop the engine. Before you remove the fuel cap, wait a minimum of two (2) minutes to make sure that the engine is cool.
- Fill the fuel tank outdoors or in an area that has good airflow.
- Do not put too much fuel in the tank. For expansion of the fuel, do not fill above the bottom of the fuel tank neck.
- Keep fuel away from sparks, open flames, pilot lights, heat, and other ignition sources.
- Frequently examine the fuel lines, fuel tank, fuel cap, and connections for cracks or leaks. Replace damaged parts.
- If fuel spills, wait until it dries before you start the engine
When you start the engine
- Make sure that the spark plug, muffler, fuel cap and air cleaner (if equipped) are correctly installed.
- Do not crank the engine with the spark plug removed.
- If the engine is flooded, set the choke (if equipped) to the OPEN or RUN position. Move the throttle (if equipped) to the FAST position and crank until the engine starts.
- If there is natural or LP gas leakage in the area, do not start the engine.
- Because vapors are flammable, do not use pressurized starter fluids.
When you operate the equipment
- Do not tilt the engine or the equipment at an angle which causes fuel to spill.
- Do not choke the carburetor (if equipped) to stop the engine.
- Do not start or operate the engine with the air cleaner (if equipped) or the air filter (if equipped) removed.
When you do maintenance
- If you drain the oil from the top oil fill tube, the fuel tank must be empty. If it is not empty, fuel leakage can occur and could result a fire or an explosion.
- During maintenance if it is necessary to tilt the unit, make sure that the fuel tank, if mounted on the engine, is empty and that the spark plug side is up. If the fuel tank is not empty, leakage can occur and could result a fire or an explosion.
- Frequently examine the fuel lines, fuel tank, fuel cap, and connections for cracks or leaks. Replace damaged parts.
- Do not change the governor spring, links or other parts to increase engine speed.
- Do not hit the flywheel with a hammer or hard object. This could result in failure of the flywheel during operation.
- Replacement parts must be of the same design and installed in the same position as the original parts. Other parts could result in damage or an injury
When you move the location of equipment
- Make sure that the fuel tank is EMPTY or that the fuel shut-off valve is in the CLOSED position
When fuel or equipment is in storage with fuel in the fuel tank
- Because pilot lights or other ignition sources can cause explosions, keep fuel or equipment away from furnaces, stoves, water heaters or other appliances that have pilot lights.
WARNING
Fuel and its vapors are flammable and explosive. Fire or explosion could result in burns or death. Engine start-up causes spark that could result in a fire or explosion
- If there is natural or LP gas leakage in the area, do not start the engine.
- Because vapors are flammable, do not use pressurized starter fluids.
WARNING
POISONOUS GAS HAZARD. Engine exhaust contains carbon monoxide, a poisonous gas that could kill you in minutes. Although you do not smell exhaust fumes, you could still be exposed to dangerous carbon monoxide gas. If you feel sick, dizzy, or weak while you use this product, get to fresh air RIGHT AWAY. See a doctor. You may have carbon monoxide poisoning
- Carbon monoxide gas can collect in occupied spaces. To reduce the risk of carbon monoxide gas, ONLY operate this product outdoors and far away from windows, doors and vents.
- Install battery-operated carbon monoxide alarms or plug-in carbon monoxide alarms with battery back-up as specified by the manufacturer’s instructions. Smoke alarms cannot sense carbon monoxide gas.
- DO NOT operate this product in homes, garages, basements, crawlspaces, sheds, or other closed spaces, even if you use fans or open doors and windows for ventilation. After the operation of this product, carbon monoxide can quickly collect in these spaces and stay for hours.
- ALWAYS put this product downwind and point the engine exhaust away from occupied spaces
WARNING
Fast retraction of the starter cord (kickback) will pull your hand and arm to the engine faster than you can let go. Broken bones, fractures, bruises or sprains could result.
- To prevent kickback when you start the engine, pull the starter cord slowly until resistance is felt and then pull quickly.
- Before you start the engine, disconnect or remove all external equipment and engine loads.
- Make sure that direct-coupled equipment components, such as, but not limited to, blades, impellers, pulleys, and sprockets, are correctly attached
WARNING
Rotating parts can entangle hands, feet, hair, clothing, or accessories and result in traumatic amputation or laceration.
- Operate equipment with the guards correctly installed.
- Keep hands and feet away from rotating parts.
- Remove jewelry and make sure that long hair is away from all rotating parts.
- Do not wear loose clothes or items that could become caught.
WARNING
During operation, the engine and muffler become hot. If you touch a hot engine, thermal burns can occur. Combustible materials, such as leaves, grass and brush, can catch fire.
- Before you touch the engine or muffler, stop the engine and wait two (2) minutes. Make sure that the engine and muffler are safe to touch.
- Remove debris from the muffler and engine.
It is a violation of California Public Resource Code, Section 4442, to use or operate the engine on any forest-covered, brush-covered, or grass-covered land unless the exhaust system is equipped with a spark arrester, as defined in section 4442, maintained in effective working order. Other states or federal jurisdictions may have similar laws; reference Federal Regulation 36 CFR Part 261.52. Contact the original equipment manufacturer, retailer, or dealer to obtain a spark arrester designed for the exhaust system installed on this engine.
WARNING
Accidental engine spark can cause an electric shock or fire and could result in entanglement, traumatic amputation or laceration. Before you make adjustments or repairs:
- Disconnect the spark plug wire and keep it away from the spark plug.
- Disconnect the battery wire from the negative battery terminal (only engines with electric start.)
- Use only the correct tools.
When you check for spark:
- Use an approved spark plug tester.
- Do not check for spark with the spark plug removed
WARNING
Fuel vapors are flammable and explosive. Fire or explosion could result in burns or death. If you smell gas
- Do not start the engine.
- Do not switch on electrical switches.
- Do not use a phone in the vicinity.
- Evacuate the area.
- Contact the gas supplier or the fire department.
Features and Controls
Engine Controls
Compare the callout letters in Figures 1, 2, and 3 to the engine controls in the list that follows:


- A. Engine Identification Numbers Model – Type – Code
- B. Spark Plug
- C. Air Cleaner
- D. Dipstick / Oil Fill
- E. Oil Drain Plug
- F. Oil Pressure Sensor
- G. Air Intake Grille
- H. Electric Starter
- I. Rewind Starter (if installed)
- J. Carburetor
- K. Exhaust Manifold
- L. Fuel Pump (if installed)
- M. Fuel Filter (if installed)
- N. Oil Filter (if installed)
- O. Oil Cooler (if installed)
- P. Muffler (if installed)
Engine Control Symbols and Meanings
Fuel Cap Fuel Shut-off OPEN | Fuel Shut-off CLOSED |
Fuel Level – Maximum Do Not Overfill |
Operation
Oil Recommendations
Oil Capacity: See the Specifications section.
NOTICE
This engine was shipped from Briggs & Stratton without oil. Equipment manufacturers or dealers could have added oil to the engine. Before you start the engine for the first time, make sure that the oil is at the correct level. Add oil as specified by the instructions in this manual. If you start the engine without oil, damage will occur and the engine will not be repaired under warranty.
We recommend the use of Briggs & Stratton® Warranty Certified oils for best performance. Other high-quality detergent oils are permitted if classified for service SF, SG, SH, SJ or higher. Do not use special additives.
Use the chart to select the best viscosity for the outdoor temperature range expected. Engines on most outdoor power equipment operate well with 5W-30 Synthetic oil. For equipment operated in hot temperatures, Vanguard® 15W-50 Synthetic oil gives the best protection.
| A | SAE 30 – Below 40 °F (4 °C) the use of SAE 30 will result in hard starting. |
| B | 10W-30 – Above 80 °F (27 °C) the use of 10W-30 may cause increased oil consumption. Check the oil level frequently. |
| C | 5W-30 |
| D | Synthetic 5W-30 |
| E | Vanguard® Synthetic 15W-50 |
Check the Oil Level
Before you check or add oil
- Make sure the engine is level.
- Clean the oil fill area of debris.
- Refer to the Specifications section for oil capacity
NOTICE
This engine was shipped from Briggs & Stratton without oil. Equipment manufacturers or dealers could have added oil to the engine. Before you start the engine for the first time, make sure that the oil is at the correct level. Add oil as specified by the instructions in this manual. If you start the engine without oil, damage will occur and the engine will not be repaired under warranty.
- Remove the dipstick (A, Figure 4) and clean with a cloth.
- Install and tighten the dipstick (A, Figure 4).
- Remove the dipstick and check the oil level. Make sure that the oil level is at the top of the full indicator (B, Figure 4) on the dipstick.
- If the oil level is low, slowly add oil into the engine oil fill (C, Figure 4). Do not add too much oil.
- Wait one minute and check the oil level again. Make sure that the oil level is correct.
- Install and tighten the dipstick (A, Figure 4).

Low Oil Protection System (if installed)
A low oil sensor is installed on some engines. If the oil is low, the sensor will show a warning light or stop the engine. Stop the engine and do the steps that follow before you start the engine.
- Make sure that the engine is level.
- Do an oil check. Refer to the Check Oil Level section.
- If the oil level is low, add the correct amount of oil. Start the engine and make sure that the warning light (if installed) does not come on.
- If the oil level is not low, do not start the engine. Contact a Briggs & Stratton Authorized Service Dealer to correct the oil problem
Fuel Recommendations
Fuel must meet these requirements:
- Clean, fresh, unleaded gasoline.
- A minimum of 87 octane/87 AKI (91 RON). High altitude use, see below.
- Gasoline with up to 10% ethanol (gasohol) is permitte
NOTICE
Do not use unapproved gasoline, such as E15 and E85. Do not mix oil in gasoline or change the engine to operate on alternate fuels. Use of unapproved fuels could result in damage to engine components, which will not be repaired under the warranty.
To protect the fuel system from gum formation, and corrosion, mix an alcohol-free fuel stabilizer and ethanol treatment into the fuel. Refer to the Storage section. All fuel is not the same. If start or performance problems occur, change fuel providers or brands. This engine is certified to operate on gasoline. The emissions control system for carbureted engines is EM (Engine Modifications). The emissions control systems for engines with electronic fuel injection are ECM (Engine Control Module), MPI (Multi Port Injection), and if equipped an O2S (Oxygen Sensor).
High Altitude
At altitudes over 5,000 feet (1524 meters), a minimum 85 octane/85 AKI (89 RON) gasoline is permitted.
For carbureted engines, high altitude adjustment is required to maintain performance. Operation without this adjustment will cause decreased performance, increased fuel consumption, and increased emissions. Contact a Briggs & Stratton Authorized Service Dealer for high altitude adjustment information. Operation of the engine at altitudes below 2,500 feet (762 meters) with the high altitude adjustment is not recommended.
For Electronic Fuel Injection (EFI) engines, no high altitude adjustment is necessary
Add Fuel
WARNING
Fuel and its vapors are flammable and explosive. Fire or explosion could result in burns or death. When you add fuel
- Stop the engine. Before you remove the fuel cap, wait a minimum of two (2) minutes to make sure that the engine is cool.
- Fill the fuel tank outdoors or in an area that has good airflow.
- Do not put too much fuel in the tank. For expansion of the fuel, do not fill above the bottom of the fuel tank neck.
- Keep fuel away from sparks, open flames, pilot lights, heat, and other ignition sources.
- Frequently examine the fuel lines, fuel tank, fuel cap, and connections for cracks or leaks. Replace damaged parts.
- If fuel spills, wait until it dries before you start the engine.
- Clean the fuel cap area of dirt and debris. Remove the fuel cap.
- Fill the fuel tank (A, Figure 5) with fuel. Because fuel will expand, do not fill above the bottom of the fuel tank neck (B).

- Install the fuel cap
Start the Engine
WARNING
Fuel and its vapors are flammable and explosive. Fire or explosion could result in burns or death. When you start the engine
- Make sure that the spark plug, muffler, fuel cap and air cleaner (if equipped) are correctly installed.
- Do not crank the engine with the spark plug removed.
- If the engine is flooded, set the choke (if equipped) to the OPEN or RUN position. Move the throttle (if equipped) to the FAST position and crank until the engine starts.
- If there is natural or LP gas leakage in the area, do not start the engine.
- Because vapors are flammable, do not use pressurized starter fluids.
WARNING
POISONOUS GAS HAZARD. Engine exhaust contains carbon monoxide, a poisonous gas that could kill you in minutes. Although you do not smell exhaust fumes, you could still be exposed to dangerous carbon monoxide gas. If you feel sick, dizzy, or weak while you use this product, get to fresh air RIGHT AWAY. See a doctor. You may have carbon monoxide poisoning
- Carbon monoxide gas can collect in occupied spaces. To reduce the risk of carbon monoxide gas, ONLY operate this product outdoors and far away from windows, doors and vents.
- Install battery-operated carbon monoxide alarms or plug-in carbon monoxide alarms with battery back-up as specified by the manufacturer’s instructions. Smoke alarms cannot sense carbon monoxide gas.
- DO NOT operate this product in homes, garages, basements, crawlspaces, sheds, or other closed spaces, even if you use fans or open doors and windows for ventilation. After the operation of this product, carbon monoxide can quickly collect in these spaces and stay for hours.
- ALWAYS put this product downwind and point the engine exhaust away from occupied spaces.
NOTICE
This engine was shipped from Briggs & Stratton without oil. Equipment manufacturers or dealers could have added oil to the engine. Before you start the engine for the first time, make sure that the oil is at the correct level. Add oil as specified by the instructions in this manual. If you start the engine without oil, damage will occur and the engine will not be repaired under warranty.
Types of Start Systems
Before you start the engine, you must know the type of starting system on your engine. Your engine will have one of these start systems
- Electronic Fuel Management System: An Electronic Fuel Management system has an Electronic Control Unit that monitors engine and temperature conditions. It does not have a manual choke or a primer.
- Choke System: This type of system has a choke to be used in cool temperatures. Some models will have a separate choke control while others will have a combination choke and throttle choke. It does not have a primer.
NOTE: Your equipment could have remote controls. Refer to the equipment manual for location and operation of remote controls.
Electronic Fuel Management System
- Check the engine oil. See Check and Add Oil section.
- Make sure that the equipment drive controls, if installed, are disengaged.
- Move the fuel shut-off (A, Figure 6), if installed, to the OPEN position.
- Push the stop switch (F, Figure 6), if installed, to the ON position.
- Move the throttle control (B, Figure 6), if installed, to the FAST position. Operate the engine in the FAST position.
- Rewind Start, if installed: Turn the key switch (D, Figure 6) to the ON / START position.
- Rewind Start, if installed: Tightly hold the starter cord handle (E, Figure 6). Pull the starter cord handle slowly until resistance is felt, then pull quickly.
WARNING
Fast retraction of the starter cord (kickback) will pull your hand and arm to the engine faster than you can let go. Broken bones, fractures, bruises or sprains could result. To prevent kickback when you start the engine, pull the starter cord slowly until resistance is felt and then pull quickly - Turn the key switch (D, Figure 6) to the ON / START position.
NOTICE To extend the life of the starter, use short starting cycles (five seconds maximum). Wait one minute between starting cycles.
NOTE: If the engine does not start after 2-3 attempts, contact your local dealer or go to vanguardpower.com or call 1-800-999-9333 (in USA)
Choke System
- Check the engine oil. See the Check and Add Oil Level section.
- Make sure that the equipment drive controls, if installed, are disengaged.
- Move the fuel shut-off (A, Figure 7), if installed, to the OPEN position.
- Push the stop switch (F, Figure 7), if installed, to the ON position.
- Move the throttle control (B, Figure 7), if installed, to the FAST position. Operate the engine in the FAST position.
- Move the choke control (C, Figure 7) or combination choke/throttle control (B, C, Figure 7) to the CLOSED position.
NOTE: The choke is usually not necessary when you start a warm eng - Rewind Start, if installed with key switch: Turn the key switch (D, Figure 7) to the ON position.
- Rewind Start, if installed: Tightly hold the starter cord handle (E, Figure 7). Pull the starter cord handle (E) slowly until resistance is felt, then pull it quickly
WARNING
Fast retraction of the starter cord (kickback) will pull your hand and arm to the engine faster than you can let go. Broken bones, fractures, bruises or sprains could result. To prevent kickback when you start the engine, pull the starter cord slowly until resistance is felt and then pull quickly - Electric Start, if installed:Turn the electric start switch to the ON or START position.
NOTICE
To extend the life of the starter, use short start cycles (five seconds maximum). Wait one minute between start cycles. - As the engine warms, move the choke control (C, Figure 7) to the OPEN position.

NOTE: If the engine does not start after 2-3 attempts, contact your local dealer or go to vanguardpower.com or call 1-800-999-9333.
Stop the Engine
WARNING
Fuel and its vapors are flammable and explosive. Fire or explosion could result in burns or death.
- Do not choke the carburetor (if equipped) to stop the engine.
- Stop Switch, if installed: Move the stop switch (D, Figure 8) to the OFF position.
- Key Switch, if installed: Set the throttle control to the SLOW position. Turn the key switch (E, Figure 8) to the OFF position. Remove the key and keep it in a safe location out of reach of children.
- After the engine stops, move the fuel shut-off (A, Figure 8), if installed, to the CLOSED position

Maintenance
Maintenance Information
WARNING
During maintenance if it is necessary to tilt the unit, make sure that the fuel tank, if mounted on the engine, is empty and that the spark plug side is up. If the fuel tank is not empty, leakage can occur and could result in a fire or an explosion. If the engine is tilted in a different direction, it will not easily start because of oil or fuel contamination of the air filter or the spark plug.
We recommend that you see a Briggs & Stratton Authorized Service Dealer for all maintenance and servicing of the engine and engine parts.
NOTICE
All the components used to build this engine must remain in place for correct operation.
WARNING
Accidental engine spark can cause an electric shock or fire and could result in entanglement, traumatic amputation or laceration. Before you make adjustments or repairs:
- Disconnect the spark plug wire and keep it away from the spark plug.
- Disconnect the battery wire from the negative battery terminal (only engines with electric start.)
- Use only the correct tools.
When you check for spark:
- Use an approved spark plug tester.
- Do not check for spark with the spark plug removed.
Emissions Control Service$
For maintenance, replacement, or repair of emissions control devices and systems, contact a qualified off-road engine repair establishment or service technician. However, for “no charge” emissions control service, the work must be done by a factory authorized dealer. Refer to the Emissions Control Statements.
Maintenance Schedule
First 5 Hours
- Change the engine oil1
Intervals of 8 Hours or Daily
- Check the engine oil level.
- Clean the area around the muffler and controls.
Intervals of 25 Hours or Annually
- Clean the air filter2
Intervals of 50 Hours or Annually
- Change the engine oil3
- Replace the oil filter (if installed)3
- Service the exhaust system.
Intervals of 100 Hours or Annually
- Change the engine oil4
- Replace the oil filter (if installed)4 .
Annually Every 250 Hours
- Change the air filter.
Annually
- Replace the spark plug.
- Replace the air filter.
- Replace the pre-cleaner.
- Replace the fuel filter.
- Service the cooling system1
- Check the valve clearance 5
- Only engines without an oil filter.
- Clean more frequently in dusty conditions or when many particles are in the air..
- Engines without oil filter or with standard black oil filter. Refer to the Specifications section for the part number.
- Engines with high-efficiency yellow or orange oil filter. Refer to the Specifications section for the part number.
- Not necessary unless engine performance problems occur
Electronic Fuel Management System
The Electronic Fuel Management System monitors engine temperature, engine speed, and battery voltage to adjust the choke during engine start-up and warm-up. There are no adjustments on the system. If start-up or operation problems occur, contact an Authorized Briggs & Stratton Dealer
NOTICE Make sure to obey and follow the steps that follow or the Electronic Fuel Management System could be damaged.
- DO NOT start the engine if the battery cables are loose.
- Turn the key to the OFF position or remove the starter switch before you\ disconnect, remove, and / or install the battery.
- DO NOT use a battery charger to start the engine.
- DO NOT disconnect the battery cables during engine operation.
- When you disconnect the battery cables, first connect the positive (+) cable, and then connect the negative (-) cable to the battery.
- When you charge the battery, turn the ignition switch to the OFF position, and disconnect the negative (-) battery cable from the battery.
- DO NOT spray water directly on the Electronic Control Unit.
Carburetor and Engine Speed
Do not make adjustments to the carburetor or engine speed. The carburetor was set at the factory to operate satisfactorily in most conditions. Do not change the governor spring, linkages, or other parts to adjust the engine speed. If adjustments are necessary, contact a Briggs & Stratton Authorized Service Dealer for servicing.
NOTICE
The equipment manufacturer specifies the maximum speed for the engine as installed on the equipment. Do not exceed this speed. If you are not sure what the equipment maximum speed is, or what the engine speed is set to from the factory, contact a Briggs & Stratton Authorized Service Dealer for assistance. For safe and correct operation of the equipment, the engine speed should only be adjusted by a qualified service technician.
Servicing the Spark Plug
Check the spark plug gap (A, Figure 9) with a wire gauge (B). If necessary, set the spark plug gap. Install and tighten the spark plug to the correct torque. For gap and torque specifications, refer to the Specifications section
NOTE: In some areas, it is mandatory by local law that you use a resistor spark plug to decrease ignition signals. If a resistor spark plug was installed by the equipment manufacturer, use the same type for replacement.
Servicing the Exhaust System
WARNING
During operation, the engine and muffler become hot. If you touch a hot engine, thermal burns can occur. Combustible materials, such as leaves, grass and brush, can catch fire
- Before you touch the engine or muffler, stop the engine and wait two (2) minutes. Make sure that the engine and muffler are safe to touch.
- Remove debris from the muffler and engine.
It is a violation of California Public Resource Code, Section 4442, to use or operate the engine on any forest-covered, brush-covered, or grass-covered land unless the exhaust system is equipped with a spark arrester, as defined in section 4442, maintained in effective working order. Other states or federal jurisdictions may have similar laws; reference Federal Regulation 36 CFR Part 261.52. Contact the original equipment manufacturer, retailer, or dealer to obtain a spark arrester designed for the exhaust system installed on this engine.
Remove debris from the muffler and cylinder area. Inspect the muffler for cracks, corrosion, or other damage. Remove the deflector or the spark arrester, if equipped, and inspect for damage or carbon blockage. If damage is found, install the replacement parts before you operate the equipment.
WARNING
Replacement parts must be of the same design and installed in the same position as the original parts. Other parts could result in damage or an injury.
Change Engine Oil
WARNING
Fuel and its vapors are flammable and explosive. Fire or explosion could result in burns or death. During operation, the engine and muffler become hot. If you touch a hot engine, thermal burns can occur.
- If you drain the oil from the top oil fill tube, the fuel tank must be empty. If it is not empty, fuel leakage can occur and cause a fire or an explosion.
- Before you touch the engine or muffler, stop the engine and wait two (2) minutes. Make sure that the engine and muffler are safe to touch.
Used oil is a hazardous waste product and must be discarded of correctly. Do not discard with household waste. Contact your local authorities, service center, or dealer for safe disposal or recycling facilities.
Remove Oil
- With engine OFF but warm, disconnect the spark plug wire(s) (D, Figure 10), and keep it away from the spark plug(s)(E).
- Remove the dipstick (A, Figure 11).
- Remove the oil drain plug (F, Figure 12). Drain the oil into an approved container.
- Install and tighten the oil drain plug (F, Figure 12).



Change the Oil Filter
- Drain the oil from the engine. Refer to the Remove Oil section.
- Remove the oil filter (H, Figure 13) and discard correctly.

- Before you install the new oil filter, lightly lubricate the oil filter gasket with clean oil.
- Install the oil filter by hand until the gasket touches the oil filter adapter, then tighten the oil filter 1/2 to 3/4 turns.
- Add oil. Refer to the Add Oil section.
- Start and operate the engine. When the engine is warm, do a check for oil leaks.
- Stop the engine. Make sure that oil level is at the top of the full indicator on the dipstick. Refer to the Add Oil section.
Add Oil
- Make sure the engine is level.
- Clean the oil fill area of all debris.
- Refer to the Specifications section for oil capacity
- Remove the dipstick (A, Figure 14). Remove oil from the dipstick with a clean cloth.
- Slowly add oil into the engine oil fill (C, Figure 14). Do not put too much oil in the engine oil fill. Wait one minute and then check the oil level.
NOTE: Do not add oil at the quick oil drain, if equipped. - Install and tighten the dipstick (A, Figure 14).
- Remove the dipstick and check the oil level. The correct oil level is at the top of the full indicator (B, Figure 14) on the dipstick.
- Install and tighten the dipstick (A, Figure 14).
- Connect the spark plug wire(s) to the spark plug(s). See Remove Oil section
.
Servicing the Air Filter
WARNING
Fuel vapors are flammable and explosive. Fire or explosion could result in burns or death.
- Do not start and operate the engine with the air cleaner assembly (if equipped) or the air filter (if equipped) removed.
NOTICE
Do not use pressurized air or solvents to clean the filter. Pressurized air could result in damage to the filter and solvents will dissolve the filter.
See the Maintenance Schedule for service requirements.
Different models use either a foam or a paper filter. Some models can also have an optional pre-cleaner that can be cleaned and used again. Compare the illustrations in this manual with the type installed on your engine
- Open the fastener(s) (A, Figure 15) and remove the cover (B).
- Remove the nut (C, Figure 15) and the retainer (D).
- To make sure debris does not enter the carburetor, remove the foam element from the air filter base.
- Remove the air filter (E, Figure 15).
- To loosen debris, lightly tap the filter on a hard surface. If the air filter is dirty, replace it with a new filter.
- Remove the pre-cleaner (F, Figure 15), if equipped, from the air filter (E).
- Clean the pre-cleaner (F, Figure 15), if equipped, in liquid detergent and water. Let the pre-cleaner fully air dry. DO NOT lubricate the pre-cleaner.
- Install the dry pre-cleaner (F, Figure 15), if equipped, to the air filter (E).
- Install the air filter (E, Figure 15) and attach with the retainer (D) and nut (C).
- Install the cover (B, Figure 15) and attach with the fastener(s) (A

Servicing the Fuel System
WARNING
Fuel and its vapors are flammable and explosive. Fire or explosion could result in burns or death.
- Keep fuel away from sparks, open flames, pilot lights, heat, and other ignition sources.
- Frequently examine the fuel lines, fuel tank, fuel cap, and connections for cracks or leaks. Replace damaged parts.
- Before you clean or replace the fuel filter, drain the fuel tank or close the fuel shut-off valve.
- If fuel spills, wait until it dries before you start the engine.
- Replacement parts must be of the same design and installed in the same position as the original parts. Other parts could result in damage or an injury.
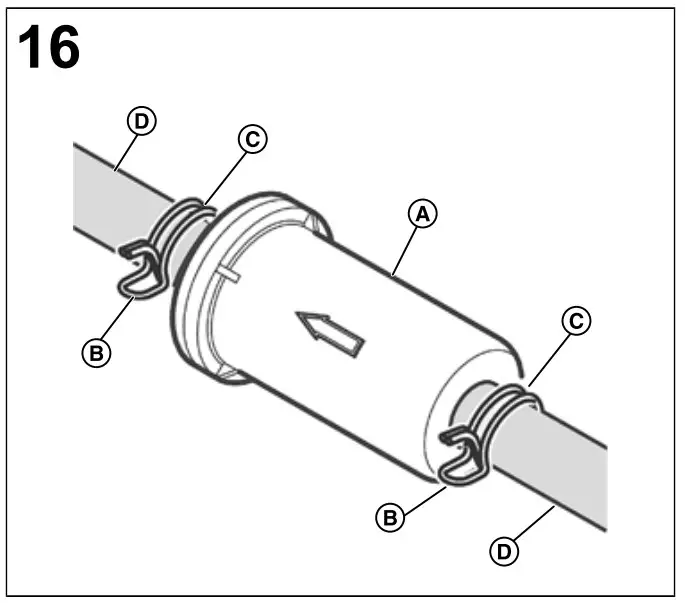
Fuel Filter, if installed
- Before you clean or replace the fuel filter (A, Figure 16), drain the fuel tank or close the fuel shut-off valve. If the fuel tank is not drained, fuel leakage could occur and cause a fire or explosion.
- Use pliers to squeeze tabs (B, Figure 16) on the clamps (C), then move the clamps away from the fuel filter (A). Twist and pull the fuel lines (D) off of the fuel filter.
- Examine the fuel lines (D, Figure 16) for cracks or leaks. Replace if necessary.
- Replace the fuel filter (A, Figure 16) with an original equipment replacement filter.
- Attach the fuel lines (D, Figure 16) with clamps (C).

Servicing the Cooling System
WARNING
During operation, the engine and muffler become hot. If you touch a hot engine, thermal burns can occur. Combustible debris, such as leaves, grass, and brush can catch fire.
- Before you touch the engine or muffler, stop the engine and wait two (2) minutes. Make sure that the engine and muffler are safe to touch.
- Remove debris from the muffler and engine
NOTICE
Do not use water to clean the engine. Water could cause contamination of the fuel system. Use a brush or dry cloth to clean the engine.
This is an air cooled engine. Dirt or debris can prevent air flow and cause the engine to become too hot and result in unsatisfactory performance and decreased engine life.
- Use a brush or dry cloth to remove debris from the air intake grille.
- Keep linkage, springs, and controls clean.
- Keep the area around and behind the muffler, if equipped, free of combustible debris.
- Make sure the oil cooler fins, if equipped, are clean.
After a period of time, the cylinder cooling fins can collect debris and cause the engine to overheat. This unwanted material cannot be removed without partial disassembly of the engine. Have a Briggs & Stratton Authorized Service Dealer inspect and clean the air cooling system as recommended in the Maintenance Schedule.
Storage
Fuel System
Refer to Figure: 17.
WARNING
Fuel and its vapors are flammable and explosive. Fire or explosion could result in burns or death. Fuel Storage
- Because pilot lights or other ignition sources can cause explosions, keep fuel or equipment away from furnaces, stoves, water heaters or other appliances that have pilot lights.
Keep the engine level at the correct operating position. Fill the fuel tank (A, Figure 17) with fuel. For fuel expansion, do not fill above the fuel tank neck (B).
Fuel can become stale when kept in a storage container for more than 30 days. The use of an alcohol-free fuel stabilizer and ethanol treatment in the fuel storage container is recommended. This keeps fuel fresh and decreases fuel-related problems or contamination in the fuel system.
When you fill the container with fuel, add an alcohol-free fuel stabilizer as specified by the manufacturer’s instructions. If gasoline in the engine has not been treated with a fuel stabilizer, it must be drained into an approved container. Operate the engine until it is out of fuel.
NOTE: DO NOT run the Electronic Fuel Injection engine out of fuel. Fuel pump damage can occur. Make sure to add the correct amount of fuel stabilizer to the fuel tank, and run the engine for 30 minutes.
Engine Oil
While the engine is still warm, change the engine oil. Refer to Change the Engine Oil section.
Troubleshooting
Assistance
For assistance, contact your local dealer or go to BRIGGSandSTRATTON.COM or call 1-800-444-7774 (in USA).
Specifications
Specifications and Service Parts
| MODELS: 290000, 300000 | |
| Displacement | 29.23 ci (479 cc) |
| Bore | 2.677 in (68 mm) |
| Stroke | 2.598 in (66 mm) |
| Oil Capacity | 46 – 48 oz (1,36 – 1,42 L) |
| Spark Plug Gap | .030 in (,76 mm) |
| Spark Plug Torque | 180 lb-in (20 Nm) |
| MODELS: 290000, 300000 | |
| Armature Air Gaps | .008 – .012 in (,20 – ,30 mm) |
| Intake Valve Clearance | .004 – .006 in (,10 – ,15 mm) |
| Exhaust Valve Clearance | .004 – .006 in (,10 – ,15 mm) |
| MODEL: 350000 | |
| Displacement | 34.78 ci (570 cc) |
| Bore | 2.835 in (72 mm) |
| Stroke | 2.756 in (70 mm) |
| Oil Capacity | 46 – 48 oz (1,36 – 1,42 L) |
| Spark Plug Gap | .030 in (,76 mm) |
| Spark Plug Torque | 180 lb-in (20 Nm) |
| Armature Air Gap | .008 – .012 in (,20 – ,30 mm) |
| Intake Valve Clearance | .004 – .006 in (,10 – ,15 mm) |
| Exhaust Valve Clearance | .004 – .006 in (,10 – ,15 mm) |
| MODEL: 380000 | |
| Displacement | 38.26 ci (627 cc) |
| Bore | 2.972 in (75,5 mm) |
| Stroke | 2.756 in (70 mm) |
| Oil Capacity | 46 – 48 oz (1,36 – 1,42 L) |
| Spark Plug Gap | .030 in (,76 mm) |
| Spark Plug Torque | 180 lb-in (20 Nm) |
| Armature Air Gap | .008 – .012 in (,20 – ,30 mm) |
| Intake Valve Clearance | .004 – .006 in (,10 – ,15 mm) |
| Exhaust Valve Clearance | .004 – .006 in (,10 – ,15 mm) |
Engine power will decrease 3.5% for each 1,000 feet (300 meters) above sea level and 1% for each 10°F (5.6°C) above 77°F (25°C). The engine will operate satisfactorily at an angle up to 15°. Refer to the equipment Operator’s Manual for safe permitted operating limits on slopes
| MODELS: 290000, 300000, 350000, 380000 | |
| Service Part | Part Number |
| Air Filter (except Models 358700, 380000) | 394018 |
| Air Filter (Models 358700, 380000) | 692519 |
| Air Filter, Pre-cleaner (except Models 358700, 380000) | 272492 |
| Air Filter, Pre-cleaner (Models 358700, 380000) | 692520 |
| Oil – SAE 30 | 100028 |
| Oil Filter | 842921 |
| Fuel Filter – with fuel tank | 808116 |
| Fuel Filter – with fuel pump | 84001895 |
| Fuel Filter – without fuel pump | 298090 |
| Resistor Spark Plug | 491055S |
| Long Life Platinum Spark Plug | 696202, 5066K |
| Spark Plug Wrench | 19576S |
| Spark Tester | 84003327 |
We recommend that you see a Briggs & Stratton Authorized Dealer for all maintenance and servicing of the engine and engine parts.
Power Ratings
The gross power rating for individual gasoline engine models is labeled in accordance with SAE (Society of Automotive Engineers) code J1940 Small Engine Power & Torque Rating Procedure, and is rated in accordance with SAE J1995. Torque values are derived at 2600 RPM for those engines with “rpm” called out on the label and 3060 RPM for all others; horsepower values are derived at 3600 RPM. The gross power curves can be viewed at www.BRIGGSandSTRATTON.COM. Net power values are taken with exhaust and air cleaner installed whereas gross power values are collected without these attachments. Actual gross engine power will be higher than net engine power and is affected by, among other things, ambient operating conditions and engine-to-engine variability. Given the wide array of products on which engines are placed, the gasoline engine may not develop the rated gross power when used in a given piece of power equipment. This difference is due to a variety of factors including, but not limited to, the variety of engine components (air cleaner, exhaust, charging, cooling, carburetor, fuel pump, etc.), application limitations, ambient operating conditions (temperature, humidity, altitude), and engine-to-engine variability. Due to manufacturing and capacity limitations, Briggs & Stratton may substitute an engine of higher rated power for this engine.
Warranty
Briggs & Stratton® Engine Warranty
Effective August 2021
Limited Warranty
Briggs & Stratton warrants that, during the warranty period specified below, it will repair or replace, free of charge, with a new, reconditioned or re-manufactured part, at the sole discretion of Briggs & Stratton, any part that is defective in material or workmanship or both. Transportation charges on product submitted for repair or replacement under this warranty must be borne by purchaser. This warranty is effective for and is subject to the time periods and conditions stated below. For warranty service, find the nearest Authorized Service Dealer in our dealer locator map at BRIGGSandSTRATTON.COM. The purchaser must contact the Authorized Service Dealer, and then make the product available to the Authorized Service Dealer for inspection and testing.
There is no other express warranty. Implied warranties, including those of merchantability and fitness for a particular purpose, are limited to one year from purchase, or to the extent permitted by law. All other implied warranties are excluded. Liability for incidental or consequential damages are excluded to the extent exclusion is permitted by law. Some states or countries do not allow limitations on how long an implied warranty lasts, and some states or countries do not allow the exclusion or limitation of incidental or consequential damages, so the above limitation and exclusion may not apply to you. This warranty gives you specific legal rights and you may also have other rights which vary from state to state and country to country* .
| Standard Warranty Terms 1,2,3 |
| Vanguard®; Commercial Series 3 |
| Consumer Use – 36 months |
| Commercial Use – 36 months |
| XR Series |
| Consumer Use – 24 months |
| Commercial Use – 24 months |
| All Other Engines Featuring Dura-Bore™ Cast Iron Sleeve |
| Consumer Use – 24 months |
| Commercial Use – 12 months |
| All Other Engines |
| Consumer Use – 24 months |
| Commercial Use – 3 months |
- These are our standard warranty terms, but occasionally there may be additional warranty coverage that was not determined at time of publication. For a listing of current warranty terms for your engine, go to BRIGGSandSTRATTON.COM or contact your Briggs & Stratton Authorized Service Dealer.
- There is no warranty for engines on equipment used for prime power in place of a utility; standby generators used for commercial purposes, utility vehicles exceeding 25 MPH, or engines used in competitive racing or on commercial or rental tracks.
- Vanguard® installed on standby generators: 24 months consumer use, no warranty commercial use. Commercial Series with manufacturing date before July 2017: 24 months consumer use, 24 months commercial use.
In Australia – Our goods come with guarantees that cannot be excluded under the\ Australian Consumer Law. You are entitled to a replacement or refund for a major failure and for compensation for any other reasonably foreseeable loss or damage. You are also entitled to have the goods repaired or replaced if the goods fail to be of acceptable quality and the failure does not amount to a major failure. For warranty service, find the nearest Authorized Service Dealer in our dealer locator map at BRIGGSandSTRATTON.COM, or by calling 1300 274 447, or by emailing or writing to [email protected], Briggs & Stratton Australia Pty Ltd, 1 Moorebank Avenue, Moorebank, NSW, Australia, 2170.
The warranty period begins on the date of purchase by the first retail consumer or commercial end user, and continues for the period of time stated in the table above. “Consumer use” means personal residential household use by a retail consumer. “Commercial use” means all other uses, including use for commercial, income producing or rental purposes. Once an engine has experienced commercial use, it shall thereafter be considered as a commercial use engine for purposes of this warranty.
No warranty registration is necessary to obtain warranty on Briggs & Stratton products. Save your proof of purchase receipt. If you do not provide proof of the initial purchase date at the time warranty service is requested, the manufacturing date of the product will be used to determine the warranty period.
About Your Warranty
This limited warranty covers engine-related material and/or workmanship issues only, and not replacement or refund of the equipment to which the engine may be mounted. Routine maintenance, tune-ups, adjustments, or normal wear and tear are not covered under this warranty. Similarly, warranty is not applicable if the engine has been altered or modified or if the engine serial number has been defaced or removed. This warranty does not cover engine damage or performance problems caused by:
- The use of parts that are not original Briggs & Stratton parts;
- Operating the engine with insufficient, contaminated, or an incorrect grade of lubricating oil;
- The use of contaminated or stale fuel, gasoline formulated with ethanol greater than 10%, or the use of alternative fuels such as liquefied petroleum or natural gas on engines not originally designed/manufactured by Briggs & Stratton to operate on such fuels;
- Dirt which entered the engine because of improper air cleaner maintenance or reassembly;
- Striking an object with the cutter blade of a rotary lawn mower, loose or improperly installed blade adapters, impellers, or other crankshaft coupled devices, or excessive v-belt tightness;
- Associated parts or assemblies such as clutches, transmissions, equipment controls, etc., which are not supplied by Briggs & Stratton;
- Overheating due to grass clippings, dirt and debris, or rodent nests which plug or clog the cooling fins or flywheel area, or by operating the engine without sufficient ventilation;
- Excessive vibration due to over-speeding, loose engine mounting, loose or unbalanced cutter blades or impellers, or improper coupling of equipment components to the crankshaft;
- Misuse, lack of routine maintenance, shipping, handling, or warehousing of equipment, or improper engine installation.
Warranty service is available only through Briggs & Stratton Authorized Service Dealers. Locate your nearest Authorized Service Dealer in our dealer locator map at BRIGGSandSTRATTON.COM or by calling 1-800-444-7774 (in USA).
80004537 (Revision G)
Briggs & Stratton Emissions Warranty
California, U.S. EPA, and Briggs & Stratton, LLC Emissions Control Warranty – Your Warranty Rights and Obligations
For Briggs & Stratton Engine Models with “F” Trim Designation (Model-TypeTrim Representation xxxxxx xxxx Fx)
The California Air Resources Board, U.S. EPA, and Briggs & Stratton (B&S) are pleased to explain the exhaust and evaporative emissions (“emissions”) control system warranty on your 2021-2023 engine. In California, new equipment that use small offroad engines must be designed, built, and equipped to meet the State’s stringent antismog standards. B&S must warrant the emissions control system on your engine/ equipment for the periods of time listed below provided there has been no abuse, neglect or improper maintenance of your small off-road engine or equipment leading to the failure of the emissions control system.
Your emissions control system may include parts such as the carburetor or fuelinjection system, the ignition system, catalytic converter, fuel tanks, fuel lines (for liquid fuel and fuel vapors), fuel caps, valves, canisters, filters, clamps and other associated components. Also included may be hoses, belts, connectors, and other emissionrelated assemblies.
Where a warrantable condition exists, B&S will repair your engine/equipment at no cost to you including diagnosis, parts, and labor.
Manufacturer’s Warranty Coverage:
The exhaust and evaporative emissions control system on your engine/equipment is warranted for two years. If any evaporative emission-related part on your engine/ equipment is defective, the part will be repaired or replaced by B&S.
Owner’s Warranty Responsibilities:
- As the engine/equipment owner, you are responsible for the performance of the required maintenance listed in your owner’s manual. B&S recommends that you retain all receipts covering maintenance on your engine, but B&S cannot deny warranty coverage solely for the lack of receipts or for your failure to ensure the performance of all scheduled maintenance.
- As the engine/equipment owner, you should however be aware that B&S may deny you warranty coverage if your engine/equipment or a part has failed due to abuse, neglect, or improper maintenance or unapproved modifications.
- You are responsible for presenting your engine/equipment to a B&S distribution center or service center as soon as the problem exists. The warranty repairs shall be completed in a reasonable amount of time, not to exceed 30 days. If you have a question regarding your warranty right BRIGGSandSTRATTON.COM.
Briggs & Stratton Emissions Control Warranty Provisions
The following are specific provisions relative to your Emissions Control Warranty Coverage. It is in addition to the B&S engine warranty for non-regulated engines found in the Operator’s Manual.
Warranted Emissions Parts
Coverage under this warranty extends only to the parts listed below (the emissions control systems parts) to the extent these parts were present on the B&S engine and/or B&S supplied fuel system.
a. Fuel Metering System
- Cold start enrichment system (soft choke)
- Carburetor or fuel injection system
- Oxygen sensor
- Electronic control unit
- Fuel pump module
- Fuel line (for liquid fuel and fuel vapors), fuel line fittings, clamps
- Fuel tank, cap and tether
- Carbon canister and mounting bracket
- Pressure relief valves
- Liquid/Vapor separator
b. Air Induction System
- Air cleaner
- Intake manifold
- Purge and vent line
c. Ignition System
- Spark plug(s)
- Magneto ignition system
d. Catalyst System
- Catalytic converter
- Exhaust manifold
- Air injection system or pulse value
e. Miscellaneous Items Used in Above Systems
- Vacuum, temperature, position, time sensitive valves and switches
- Connectors and assemblies
- Electronic controls
Length of Coverage
Coverage is for a period of two years from the date of delivery to an ultimate purchaser, or for the time period listed in the respective engine or product warranty statement, whichever is greater. B&S warrants to the original purchaser and each subsequent purchaser that the engine is designed, built, and equipped so as to conform with all applicable regulations adopted by the Air Resources Board; that it is free from defects in material and workmanship that could cause the failure of a warranted part; and that it is identical in all material respects to the engine described in the manufacturer’s application for certification. The warranty period begins on the date the engine or equipment is delivered to an ultimate purchaser.
The warranty on emissions-related parts is as follows:
- Any warranted part that is not scheduled for replacement as required maintenance in the Operator’s Manual supplied, is warranted for the warranty period stated above. If any such part fails during the period of warranty coverage, the part will be repaired or replaced by B&S at no charge to the owner. Any such part repaired or replaced under the warranty will be warranted for the remaining warranty period.
- Any warranted part that is scheduled only for regular inspection in the Operator’s Manual supplied, is warranted for the warranty period stated above. Any such part repaired or replaced under warranty will be warranted for the remaining warranty period.
- Any warranted part that is scheduled for replacement as required maintenance in the Operator’s Manual supplied, is warranted for the period of time prior to the first scheduled replacement point for that part. If the part fails prior to the first scheduled replacement, the part will be repaired or replaced by B&S at no charge to the owner. Any such part repaired or replaced under warranty will be warranted for the remainder of the period prior to the first scheduled replacement point for the part.
- Add-on or modified parts that are not exempted by the Air Resources Board may not be used. The use of any non-exempted add-on or modified parts by the owner will be grounds for disallowing a warranty claim. The manufacturer will not be liable to warrant failures of warranted parts caused by the use of a non-exempted add-on or modified part.
Consequential Coverage
Coverage shall extend to the failure of any engine components caused by the failure of any warranted emissions parts.
Claims and Coverage Exclusions
Warranty claims shall be filed according to the provisions of the B&S engine warranty policy. Warranty coverage does not apply to failures of emissions parts that are not original equipment B&S parts or to parts that fail due to abuse, neglect, or improper maintenance as set forth in the B&S engine warranty policy. B&S is not liable for warranty coverage of failures of emissions parts caused by the use of add-on or modified parts.
Look For Relevant Emissions Durability Period and Air Index Information On
Your Small Off-Road Engine Emissions Label
Engines that are certified to meet the California Air Resources Board (CARB) small offroad Emissions Standard must display information regarding the Emissions Durability Period and the Air Index. Briggs & Stratton makes this information available to the consumer on our emissions labels. The engine emissions label will indicate certification information.
The Emissions Durability Period describes the number of hours of actual running time for which the engine is certified to be emissions compliant, assuming proper maintenance in accordance with the Operator’s Manual. The following categories are used:
Moderate:
Engines at or less than 80 cc displacement are certified to be emissions compliant for 50 hours of actual engine running time. Engines greater than 80 cc displacement are certified to be emissions compliant for 125 hours of actual engine running time.
Intermediate:
Engines at or less than 80 cc displacement are certified to be emissions compliant for 125 hours of actual engine running time. Engines greater than 80 cc displacement are certified to be emissions compliant for 250 hours of actual engine running time.
Extended:
Engines at or less than 80 cc displacement are certified to be emissions compliant for 300 hours of actual engine running time. Engines greater than 80 cc displacement are certified to be emissions compliant for 500 hours of actual engine running time.
For example, a typical walk-behind lawn mower is used 20 to 25 hours per year. Therefore, the Emissions Durability Period of an engine with an intermediate rating would equate to 10 to 12 years
Briggs & Stratton engines are certified to meet the United States Environmental Protection Agency (USEPA) Phase 2 or Phase 3 emissions standards. The Emissions Compliance Period referred to on the Emissions Compliance label indicates the number of operating hours for which the engine has been shown to meet Federal emissions requirements
- For engines at or less than 80 cc displacement:
Category C = 50 hours, Category B = 125 hours, Category A = 300 hours - For engines greater than 80 cc displacement and less than 225 cc displacement:
Category C = 125 hours, Category B = 250 hours, Category A = 500 hours - For engines of 225 cc or more displacement:
Category C = 250 hours, Category B = 500 hours, Category A = 1000 hours 80106346 (Revision A)
Briggs & Stratton Emissions Warranty
California, U.S. EPA, and Briggs & Stratton, LLC Emissions Control Warranty – Your Warranty Rights and Obligations
For Briggs & Stratton Engine Models with “B” or “G” Trim Designation (ModelType Trim Representation xxxxxx xxxx Bx or xxxxxx xxxx Gx)
The California Air Resources Board, U.S. EPA, and Briggs & Stratton (B&S) are pleased to explain the exhaust emissions (“emissions”) control system warranty on your 2021-2023 engine. In California, new small off-road engines and large spark ignited engines less than or equal to 1.0 liter must be designed, built, and equipped to meet the State’s stringent anti-smog standards. B&S must warrant the emissions control system on your engine for the periods of time listed below provided there has been no abuse, neglect or improper maintenance of your small off-road engine or equipment leading to the failure of the emissions control system.
Your emissions control system may include parts such as the carburetor or fuelinjection system, the ignition system, catalytic converter, fuel tanks, fuel lines (for liquid fuel and fuel vapors), fuel caps, valves, canisters, filters, clamps and other associated components. Also included may be hoses, belts, connectors, and other emissionrelated assemblies.
Where a warrantable condition exists, B&S will repair your engine at no cost to you including diagnosis, parts, and labor.
Manufacturer’s Warranty Coverage:
The exhaust emissions control system on your engine is warranted for two years. If any emissions-related part on your engine is defective, the part will be repaired or replaced by B&S.
Owner’s Warranty Responsibilities:
- As the engine owner, you are responsible for the performance of the required maintenance listed in your owner’s manual. B&S recommends that you retain all receipts covering maintenance on your engine, but B&S cannot deny warranty coverage solely for the lack of receipts or for your failure to ensure the performance of all scheduled maintenance.
- As the engine owner, you should however be aware that B&S may deny you warranty coverage if your engine or a part has failed due to abuse, neglect, or improper maintenance or unapproved modifications.
- You are responsible for presenting your engine to a B&S distribution center or service center as soon as the problem exists. The warranty repairs shall be completed in a reasonable amount of time, not to exceed 30 days. If you have a question regarding your warranty rights and responsibilities, you should contact B&S at 1-800-444-7774 (in USA) or BRIGGSandSTRATTON.COM
Briggs & Stratton Emissions Control Warranty Provisions
The following are specific provisions relative to your Emissions Control Warranty Coverage. It is in addition to the B&S engine warranty for non-regulated engines found in the Operator’s Manua
Warranted Emissions Parts
Coverage under this warranty extends only to the parts listed below (the emissions control systems parts) to the extent these parts were present on the B&S engine
a. Fuel Metering System
- Cold start enrichment system (soft choke)
- Carburetor or fuel injection system
- Oxygen sensor
- Electronic control unit
- Fuel pump module
b. Air Induction System
- Air cleaner
- Intake manifold
c. Ignition System
- Spark plug(s)
- Magneto ignition system
d. Catalyst System
- Catalytic converter
- Exhaust manifold
- Air injection system or pulse value
e. Miscellaneous Items Used in Above Systems
- Vacuum, temperature, position, time sensitive valves and switches
- Connectors and assemblies
- Electronic controls
Length of Coverage
Coverage is for a period of two years from the date of delivery to an ultimate purchaser, or for the time period listed in the respective engine or product warranty statement, whichever is greater. B&S warrants to the original purchaser and each subsequent purchaser that the engine is designed, built, and equipped so as to conform with all applicable regulations adopted by the Air Resources Board; that it is free from defects in material and workmanship that could cause the failure of a warranted part; and that it is identical in all material respects to the engine described in the manufacturer’s application for certification. The warranty period begins on the date the engine or equipment is delivered to an ultimate purchaser.
The warranty on emissions-related parts is as follows:
- Any warranted part that is not scheduled for replacement as required maintenance in the Operator’s Manual supplied, is warranted for the warranty period stated above. If any such part fails during the period of warranty coverage, the part will be repaired or replaced by B&S at no charge tothe owner. Any such part repaired or replaced under the warranty will be warranted for the remaining warranty period.
- Any warranted part that is scheduled only for regular inspection in the Operator’s Manual supplied, is warranted for the warranty period stated above. Any such part repaired or replaced under warranty will be warranted for the remaining warranty period.
- Any warranted part that is scheduled for replacement as required maintenance in the Operator’s Manual supplied, is warranted for the period of time prior to the first scheduled replacement point for that part. If the part fails prior to the first scheduled replacement, the part will be repaired or replaced by B&S at no charge to the owner. Any such part repaired or replaced under warranty will be warranted for the remainder of the period prior to the first scheduled replacement point for the part.
- Add-on or modified parts that are not exempted by the Air Resources Board may not be used. The use of any non-exempted add-on or modified parts by the owner will be grounds for disallowing a warranty claim. The manufacturer will not be liable to warrant failures of warranted parts caused by the use of a non-exempted add-on or modified part.
Consequential Coverage
Coverage shall extend to the failure of any engine components caused by the failure of any warranted emissions parts
Claims and Coverage Exclusions
Warranty claims shall be filed according to the provisions of the B&S engine warranty policy. Warranty coverage does not apply to failures of emissions parts that are not original equipment B&S parts or to parts that fail due to abuse, neglect, or improper maintenance as set forth in the B&S engine warranty policy. B&S is not liable for warranty coverage of failures of emissions parts caused by the use of add-on or modified parts.
Look For Relevant Emissions Durability Period and Air Index Information On
Your Small Off-Road Engine Emissions Label
Engines that are certified to meet the California Air Resources Board (CARB) small offroad Emissions Standard must display information regarding the Emissions Durability Period and the Air Index. Briggs & Stratton makes this information available to the consumer on our emissions labels. The engine emissions label will indicate certification information.
The Emissions Durability Period describes the number of hours of actual running time for which the engine is certified to be emissions compliant, assuming proper maintenance in accordance with the Operator’s Manual. The following categories are used:
Moderate:
Engines at or less than 80 cc displacement are certified to be emissions compliant for 50 hours of actual engine running time. Engines greater than 80 cc displacement are certified to be emissions compliant for 125 hours of actual engine running time.
Intermediate:
Engines at or less than 80 cc displacement are certified to be emissions compliant for 125 hours of actual engine running time. Engines greater than 80 cc displacement are certified to be emissions compliant for 250 hours of actual engine running time.
Extended:
Engines at or less than 80 cc displacement are certified to be emissions compliant for 300 hours of actual engine running time. Engines greater than 80 cc displacement are certified to be emissions compliant for 500 hours of actual engine running time.
For example, a typical walk-behind lawn mower is used 20 to 25 hours per year. Therefore, the Emissions Durability Period of an engine with an intermediate rating would equate to 10 to 12 years.
Briggs & Stratton engines are certified to meet the United States Environmental Protection Agency (USEPA) Phase 2 or Phase 3 emissions standards. The Emissions Compliance Period referred to on the Emissions Compliance label indicates the number of operating hours for which the engine has been shown to meet Federal emissions requirements.
- For engines at or less than 80 cc displacement:
Category C = 50 hours, Category B = 125 hours, Category A = 300 hours - For engines greater than 80 cc displacement and less than 225 cc displacement:
Category C = 125 hours, Category B = 250 hours, Category A = 500 hours - For engines of 225 cc or more displacement:
Category C = 250 hours, Category B = 500 hours, Category A = 1000 hours 80106344 (Revision A
![]()
Fire Hazard
Explosion Hazard
Shock Hazard
Toxic Fume Hazard
Hot Surface Hazard
Noise Hazard – Ear protection recommended for extended use.
Thrown Object Hazard – Wear eye protection
Explosion Haza
Frostbite Hazard
Kickback Hazard
Amputation Hazard – Moving Parts
Chemical Hazard
Corrosive Hazard
Fuel Cap Fuel Shut-off OPEN
Fuel Level – Maximum Do Not Overfill








.



















