BRIGGS STRATTON 310000 Power Built Intek Engines

This manual contains safety information to make you aware of the hazards and risks associated with engines and how to avoid them. It also contains instructions for the proper use and care of the engine. Because Briggs & Stratton Corporation does not necessarily know what equipment this engine will power, it is important that you read and understand these instructions and the instructions for the equipment. Save these original instructions for future reference.
Note: The figures and illustrations in this manual are provided for reference only and may differ from your specific model. Contact your dealer if you have questions.
For replacement parts or technical assistance, record below the engine model, type, and code numbers along with the date of purchase. These numbers are located on your engine (see the Features and Controls section).
- Date of Purchase
- Engine Model – Type – Trim
- Engine Serial Number
Recycling Information
Recycle all packaging, used oil, and batteries according to applicable government regulations.
Operator Safety
Safety Alert Symbol and Signal Words
The safety alert symbol ( ) is used to identify safety information about hazards that can result in personal injury. A signal word (DANGER, WARNING, or CAUTION) is used with the alert symbol to indicate the likelihood and the potential severity of injury. In addition, a hazard symbol may be used to represent the type of hazard.
DANGER indicates a hazard which, if not avoided, will result in death or serious injury.
WARNING indicates a hazard which, if not avoided, could result in death or serious injury.
CAUTION indicates a hazard which, if not avoided, could result in minor or moderate injury.
NOTICE indicates a situation that could result in damage to the product.
Safety Messages
WARNING
This product can expose you to chemicals including gasoline engine exhaust, which is known to the State of California to cause cancer, and carbon monoxide, which is known to the State of California to cause birth defects or other reproductive harm. For more information go to www.P65Warnings.ca.gov.
WARNING
Briggs & Stratton® Engines are not designed for and are not to be used to power: fun-karts; go-karts; children’s, recreational, or sport all-terrain vehicles (ATVs); motorbikes; hovercraft; aircraft products; or vehicles used in competitive events not sanctioned by Briggs & Stratton. For information about competitive racing products, see www.briggsracing.com. For use with utility and side-by-side ATVs, please contact Briggs & Stratton Power Application Center, 1-866-927-3349. Improper engine application may result in serious injury or death.
WARNING
Fuel and its vapors are extremely flammable and explosive.
Fire or explosion can cause severe burns or death.
When Adding Fuel
- Turn engine off and let engine cool at least 2 minutes before removing the fuel cap.
- Fill fuel tank outdoors or in well-ventilated area.
- Do not overfill fuel tank. To allow for expansion of the fuel, do not fill above the bottom of the fuel tank neck.
- Keep fuel away from sparks, open flames, pilot lights, heat, and other ignition sources.
- Check fuel lines, tank, cap, and fittings frequently for cracks or leaks. Replace if necessary.
- If fuel spills, wait until it evaporates before starting engine.
When Starting Engine
- Make sure that spark plug, muffler, fuel cap and air cleaner (if equipped) are in place and secured.
- Do not crank engine with spark plug removed.
- If engine floods, set choke (if equipped) to OPEN / RUN position, move throttle (if equipped) to FAST position and crank until engine starts.
When Operating Equipment
- Do not tip engine or equipment at angle which causes fuel to spill.
- Do not choke the carburetor to stop engine.
- Never start or run the engine with the air cleaner assembly (if equipped) or the air filter (if equipped) removed.
When Changing Oil
- If you drain the oil from the top oil fill tube, the fuel tank must be empty or fuel can leak out and result in a fire or explosion.
When Tipping Unit for Maintenance
- When performing maintenance that requires the unit to be tipped, the fuel tank, if mounted on the engine, must be empty or fuel can leak out and result in a fire or explosion.
When Transporting Equipment
- Transport with fuel tank EMPTY or with fuel shut-off valve in the CLOSED position.
When Storing Fuel Or Equipment With Fuel In Tank
- Store away from furnaces, stoves, water heaters or other appliances that have pilot lights or other ignition sources because they can ignite fuel vapors.
WARNING
Starting engine creates sparking.
Sparking can ignite nearby flammable gases. Explosion and fire could result.
- If there is natural or LP gas leakage in area, do not start engine.
- Do not use pressurized starting fluids because vapors are flammable.
WARNING
POISONOUS GAS HAZARD. Engine exhaust contains carbon monoxide, a poisonous gas that could kill you in minutes. You CANNOT see it, smell it, or taste it. Even if you do not smell exhaust fumes, you could still be exposed to carbon monoxide gas. If you start to feel sick, dizzy, or weak while using this product, get to fresh air RIGHT AWAY. See a doctor. You may have carbon monoxide poisoning.
- Operate this product ONLY outside far away from windows, doors and vents to reduce the risk of carbon monoxide gas from accumulating and potentially being drawn towards occupied spaces.
- Install battery-operated carbon monoxide alarms or plug-in carbon monoxide alarms with battery back-up according to the manufacturer’s instructions. Smoke alarms cannot detect carbon monoxide gas.
- DO NOT run this product inside homes, garages, basements, crawlspaces, sheds, or other partially-enclosed spaces even if using fans or opening doors and windows for ventilation. Carbon monoxide can quickly build up in these spaces and can linger for hours, even after this product has shut off.
- ALWAYS place this product downwind and point the engine exhaust away from occupied spaces.
WARNING
Rapid retraction of starter cord (kickback) will pull hand and arm toward engine faster than you can let go.
Broken bones, fractures, bruises or sprains could result.
- When starting engine, pull the starter cord slowly until resistance is felt and then pull rapidly to avoid kickback.
- Remove all external equipment / engine loads before starting engine.
- Direct-coupled equipment components such as, but not limited to, blades, impellers, pulleys, sprockets, etc., must be securely attached.
WARNING
Rotating parts can contact or entangle hands, feet, hair, clothing, or accessories.
Traumatic amputation or severe laceration can result.
- Operate equipment with guards in place.
- Keep hands and feet away from rotating parts.
- Tie up long hair and remove jewelry.
- Do not wear loose-fitting clothing, dangling drawstrings or items that could become caught.
WARNING
Running engines produce heat. Engine parts, especially muffler, become extremely hot.
Severe thermal burns can occur on contact.
Combustible debris, such as leaves, grass, brush, etc. can catch fire.
- Allow muffler, engine cylinder and fins to cool before touching.
- Remove accumulated debris from muffler area and cylinder area.
- It is a violation of California Public Resource Code, Section 4442, to use or operate the engine on any forest-covered, brush-covered, or grass-covered land unless the exhaust system is equipped with a spark arrester, as defined in Section 4442, maintained in effective working order. Other states or federal jurisdictions may have similar laws. Contact the original equipment manufacturer, retailer, or dealer to obtain a spark arrester designed for the exhaust system installed on this engine.
WARNING
Unintentional sparking can result in fire or electric shock.
Unintentional start-up can result in entanglement, traumatic amputation, or laceration.
Fire hazard
Before performing adjustments or repairs:
- Disconnect the spark plug wire and keep it away from the spark plug.
- Disconnect battery at negative terminal (only engines with electric start.)
- Use only correct tools.
- Do not tamper with governor spring, links or other parts to increase engine speed.
- Replacement parts must be of the same design and installed in the same position as the original parts. Other parts may not perform as well, may damage the unit, and may result in injury.
- Do not strike the flywheel with a hammer or hard object because the flywheel may later shatter during operation.
When testing for spark:
- Use approved spark plug tester.
- Do not check for spark with spark plug removed.
Features and Controls
Engine Controls
Compare the illustration (Figure: 1, 2, 3) with your engine to familiarize yourself with the location of various features and controls.


- A. Engine Identification Numbers Model – Type – Code
- B. Spark Plug
- C. Air Cleaner
- D. Dipstick
- E. Oil Drain Plug
- F. Muffler, Muffler Guard (optional), Spark Arrester (if equipped)
- G. Air Intake Grille
- H. Oil Filter (if equipped)
- I. Electric Starter (if equipped)
- J. Carburetor
- K. Fuel Filter (if equipped)
- L. Fuel Pump (if equipped)
- M. Quick Oil Drain (if equipped)
Engine Control Symbols and Meanings

Operation
Oil Recommendations
Oil Capacity: See the Specifications section.
NOTICE
This engine was shipped from Briggs & Stratton without oil. Equipment manufacturers or dealers may have added oil to the engine. Before you start the engine for the first time, make sure to check the oil level and add oil as specified by the instructions in this manual. If you start the engine without oil, it will be damaged beyond repair and will not be covered under warranty.
We recommend the use of Briggs & Stratton® Warranty Certified oils for best performance. Other high-quality detergent oils are permitted if classified for service SF, SG, SH, SJ or higher. Do not use special additives.
Outdoor temperatures determine the correct oil viscosity for the engine. Use the chart to select the best viscosity for the outdoor temperature range expected. Engines on most outdoor power equipment operate well with 5W-30 Synthetic oil. For equipment
operated in hot temperatures, Vanguard ® 15W-50 Synthetic oil gives the best protection. 
Check Oil Level
See Figure: 4
Before adding or checking the oil
- Make sure the engine is level.
- Clean the oil fill area of any debris.
- Remove the dipstick (A, Figure 4) and wipe with a clean cloth.
- Install and tighten the dipstick (A, Figure 4).
- Remove the dipstick and check the oil level. Correct oil level is at the top of the full indicator (B, Figure 4) on the dipstick.
- If oil level is low, slowly add oil into the engine oil fill (C, Figure 4). Do not overfill. After adding oil, wait one minute and then recheck the oil level.
Note: Do not add oil at the quick oil drain , if equipped. For location, see Features and Controls. - Reinstall and tighten the dipstick (A, Figure 4).
Low Oil Protection System (if equipped)
Some engines are equipped with a low oil sensor. If the oil is low, the sensor will either activate a warning light or stop the engine. Stop the engine and follow these steps before restarting the engine.
- Make sure the engine is level.
- Check the oil level. See the Check Oil Level section.
- If the oil level is low, add the proper amount of oil. Start the engine and make sure the warning light (if equipped) is not activated.
- If the oil level is not low, do not start the engine. Contact a Briggs & Stratton Authorized Service Dealer to have the oil problem corrected.
Fuel Recommendations
Fuel must meet these requirements:
- Clean, fresh, unleaded gasoline.
- A minimum of 87 octane/87 AKI (91 RON). High altitude use, see below.
- Gasoline with up to 10% ethanol (gasohol) is acceptable.
NOTICE Do not use unapproved gasolines, such as E15 and E85. Do not mix oil in gasoline or modify the engine to run on alternate fuels. Use of unapproved fuels will damage the engine components, which will not be covered under warranty.
To protect the fuel system from gum formation, mix a fuel stabilizer into the fuel.
See Storage. All fuel is not the same. If starting or performance problems occur, change fuel providers or change brands. This engine is certified to operate on gasoline. The emissions control system for this engine is EM (Engine Modifications).
High Altitude
At altitudes over 5,000 feet (1524 meters), a minimum 85 octane/85 AKI (89 RON) gasoline is acceptable.
For carbureted engines, high altitude adjustment is required to maintain performance. Operation without this adjustment will cause decreased performance, increased fuel consumption, and increased emissions. Contact a Briggs & Stratton Authorized Service Dealer for high altitude adjustment information. Operation of the engine at altitudes below 2,500 feet (762 meters) with the high altitude adjustment is not recommended.
For Electronic Fuel Injection (EFI) engines, no high altitude adjustment is necessary.
Add Fuel
WARNING
Fuel and its vapors are extremely flammable and explosive.
Fire or explosion can cause severe burns or death.
When adding fuel
- Turn engine off and let engine cool at least 2 minutes before removing the fuel cap.
- Fill fuel tank outdoors or in well-ventilated area.
- Do not overfill fuel tank. To allow for expansion of the fuel, do not fill above the bottom of the fuel tank neck.
- Keep fuel away from sparks, open flames, pilot lights, heat, and other ignition sources.
- Check fuel lines, tank, cap, and fittings frequently for cracks or leaks. Replace if necessary.
- If fuel spills, wait until it evaporates before starting engine.
- Clean the fuel cap area of dirt and debris. Remove the fuel cap.
- Fill the fuel tank (A, Figure 5) with fuel. To allow for expansion of the fuel, do not fill above the bottom of the fuel tank neck (B).
- Install the fuel cap.
Start and Stop Engine
See Figure: 6
Start Engine
WARNING
Fuel and its vapors are extremely flammable and explosive.
Fire or explosion can cause severe burns or death. When Starting Engine
- Ensure that spark plug, muffler, fuel cap and air cleaner (if equipped) are in place and secured.
- Do not crank engine with spark plug removed.
- If engine floods, set choke (if equipped) to OPEN / RUN position, move throttle (if equipped) to FAST position and crank until engine starts.
WARNING
POISONOUS GAS HAZARD. Engine exhaust contains carbon monoxide, a poisonous gas that could kill you in minutes. You CANNOT see it, smell it, or taste it. Even if you do not smell exhaust fumes, you could still be exposed to carbon monoxide gas. If you start to feel sick, dizzy, or weak while using this product, shut it off and get to fresh air RIGHT AWAY. See a doctor. You may have carbon monoxide poisoning.
- Operate this product ONLY outside far away from windows, doors and vents to reduce the risk of carbon monoxide gas from accumulating and potentially being drawn towards occupied spaces.
- Install battery-operated carbon monoxide alarms or plug-in carbon monoxide alarms with battery back-up according to the manufacturer’s instructions. Smoke alarms cannot detect carbon monoxide gas.
- DO NOT run this product inside homes, garages, basements, crawlspaces, sheds, or other partially-enclosed spaces even if using fans or opening doors and windows for ventilation. Carbon monoxide can quickly build up in these spaces and can linger for hours, even after this product has shut off.
- ALWAYS place this product downwind and point the engine exhaust away from occupied spaces.
NOTICE This engine was shipped from Briggs & Stratton without oil. Before you start the engine, make sure you add oil according to the instructions in this manual. If you start the engine without oil, it will be damaged beyond repair and will not be covered under warranty.
Determine The Starting System
Before starting the engine, you must determine the type of starting system that is on your engine. Your engine will have one of the following types.
- ReadyStart® System: This features a temperature controlled automatic choke. This type does not have a primer.
- Choke System: This features a choke to be used for starting in cool temperatures. Some models will have a separate choke control while others will have a combination choke / throttle control. This type does not have a primer.
To start your engine, follow the instructions for your type of starting system.
Note: Equipment may have remote controls. See the equipment manual for location and operation of remote controls.
ReadyStart® System
- Check the engine oil. See the Check Oil Level section.
- Make sure equipment drive controls, if equipped, are disengaged.
- Move the fuel shut-off (A, Figure 6), if equipped, to the on position.
- Move the throttle control (B, Figure 6), if equipped, to the fast position. Operate the engine in the fast position.
Note: For starting in cold weather temperatures (below 32° F), move the combination choke/throttle lever (B C, Figure 6) to the choke position. - Engage the electric start switch, key (D, Figure 6) or push button (E).

NOTICE To extend the life of the starter, use short starting cycles (five seconds maximum). Wait one minute between starting cycles.
Note: If the engine does not start after repeated attempts, contact you local dealer or go to BRIGGSandSTRATTON.com or call 1-800-233-3723 (in USA).
Choke System
- Check the engine oil. See the Check Oil Level section.
- Make sure equipment drive controls, if equipped, are disengaged.
- Move the fuel shut-off (A, Figure 6), if equipped, to the open position.
- Move the throttle control (B, Figure 6), if equipped, to the fast position. Operate the engine in the fast position.
- Move the choke control (C, Figure 6), or the combination choke/throttle, to the choke position.
Note: Choke is usually unnecessary when restarting a warm engine. - Turn the electric start switch (D, Figure 6) to the on/start position.
NOTICE To extend the life of the starter, use short starting cycles (five seconds maximum). Wait one minute between starting cycles. - As the engine warms up, move the choke control (C, Figure 6) to the run position.
Note: If the engine does not start after repeated attempts, contact you local dealer or go to BRIGGSandSTRATTON.com or call 1-800-233-3723 (in USA).
Stop Engine
WARNING
Fuel and its vapors are extremely flammable and explosive.
Fire or explosion can cause severe burns or death.
- Do not choke the carburetor to stop the engine.
- With the throttle control (B, Figure 6) in the fast position, turn the key switch (D) to the off position. Remove the key and keep in a safe place out of the reach of children.
- After the engine stops, move the fuel shut-off (A, Figure 6) to the closed position.
Maintenance
NOTICE If the engine is tipped during maintenance, the fuel tank, if mounted on engine, must be empty and the spark plug side must be up. If the fuel tank is not empty and if the engine is tipped in any other direction, it may be difficult to start due to oil or gasoline contaminating the air filter and/or the spark plug.
WARNING
When performing maintenance that requires the unit to be tipped, the fuel tank, if mounted on the engine, must be empty or fuel can leak out and result in a fire or explosion.
We recommend that you see any Briggs & Stratton Authorized Service Dealer for all maintenance and service of the engine and engine parts.
NOTICE All the components used to build this engine must remain in place for proper operation.
WARNING
Unintentional sparking can result in fire or electric shock.
Unintentional start-up can result in entanglement, traumatic amputation, or laceration.
Fire hazard
Before performing adjustments or repairs:
- Disconnect the spark plug wire and keep it away from the spark plug.
- Disconnect battery at negative terminal (only engines with electric start).
- Use only correct tools.
- Do not tamper with governor spring, links or other parts to increase engine speed.
- Replacement parts must be of the same design and installed in the same position as the original parts. Other parts may not perform as well, may damage the unit, and may result in injury.
- Do not strike the flywheel with a hammer or hard object because the flywheel may later shatter during operation.
When testing for spark:
- Use approved spark plug tester.
- Do not check for spark with spark plug removed.
Emissions Control Service
Maintenance, replacement, or repair of the emissions control devices and systems may be performed by any off-road engine repair establishment or individual. However, to obtain “no charge” emissions control service, the work must be performed by a factory authorized dealer. See the Emissions Control Statements.
Maintenance Schedule
| First 5 Hours |
| • Change oil 3 |
| Every 8 Hours or Daily |
| • Check engine oil level • Clean area around muffler and controls • Clean air intake grille |
| Every 25 Hours or Annually |
| • Clean air filter 1 • Clean pre-cleaner (if equipped) 1 |
| Every 50 Hours or Annually |
| • Change engine oil 4 • Replace oil filter (if equipped) 4 • Service exhaust system |
| Every 100 Hours or Annually |
| • Change engine oil 5 • Replace oil filter (if equipped) 5 |
| Annually |
| • Replace spark plug • Replace air filter • Replace pre-cleaner (if equipped) • Replace fuel filter (if equipped) • Service fuel system • Service cooling system 1 • Check valve clearance 2 |
- In dusty conditions or when airborne debris is present, clean more often.
- Not required unless engine performance problems are noted.
- Only engines without oil filter.
- Engine without oil filter or with standard black oil filter (see Specifications page for part number).
- Engines with high-efficiency yellow or orange oil filter (see Specifications page for part number).
Carburetor and Engine Speed
Never make adjustments to the carburetor or engine speed. The carburetor was set at the factory to operate efficiently under most conditions. Do not tamper with the governor spring, linkages, or other parts to change the engine speed. If any adjustments are required contact a Briggs & Stratton Authorized Service Dealer for service.
NOTICE The equipment manufacturer specifies the maximum speed for the engine as installed on the equipment. Do not exceed this speed. If you are not sure what the equipment maximum speed is, or what the engine speed is set to from the factory, contact a Briggs & Stratton Authorized Service Dealer for assistance. For safe and proper operation of the equipment, the engine speed should be adjusted only by a qualified service technician.
Service Spark Plug
See Figure: 7 
Check the gap (A, Figure 7) with a wire gauge (B). If necessary, reset the gap. Install and tighten the spark plug to the recommended torque. For gap setting or torque, see the Specifications section.
Note: In some areas, local law requires using a resistor spark plug to suppress ignition signals. If this engine was originally equipped with a resistor spark plug, use the same type for replacement.
Service Exhaust System
WARNING
Running engines produce heat. Engine parts, especially muffler, become extremely hot.
Severe thermal burns can occur on contact.
Combustible debris, such as leaves, grass, brush, etc. can catch fire.
- Allow muffler, engine cylinder and fins to cool before touching.
- Remove accumulated debris from muffler area and cylinder area.
- It is a violation of California Public Resource Code, Section 4442, to use or operate the engine on any forest-covered, brush-covered, or grass-covered land unless the exhaust system is equipped with a spark arrester, as defined in Section 4442, maintained in effective working order. Other states or federal jurisdictions may have similar laws. Contact the original equipment manufacturer, retailer, or dealer to obtain a spark arrester designed for the exhaust system installed on this engine.
Remove accumulated debris from muffler and cylinder area. Inspect the muffler for cracks, corrosion, or other damage. Remove the deflector or the spark arrester, if equipped, and inspect for damage or carbon blockage. If damage is found, install replacement parts before operating.
WARNING
Replacement parts must be of the same design and installed in the same position as the original parts. Other parts may not perform as well, may damage the unit, and may result in injury.
Change Engine Oil
See Figure: 8, 9, 10, 11



Used oil is a hazardous waste product and must be disposed of properly. Do not discard with household waste. Check with your local authorities, service center, or dealer for safe disposal/recycling facilities.
Remove Oil
- With engine off but still warm, disconnect the spark plug wire (D, Figure 8) and keep it away from the spark plug (E).
- Remove the dipstick (A, Figure 9).
Oil Drain Plug, if equipped
- Remove the oil drain plug (F, Figure 9). Drain the oil into an approved container. Note: Any of the oil drain plugs (G, Figure 9) may be installed in the engine.
- After the oil has drained, install and tighten the oil drain plug (F, Figure 9).
Quick Oil Drain, if equipped
- Disconnect the quick oil drain hose (H, Figure 10) from the side of the engine.
- Turn and remove the oil drain cap (I, Figure 10). Carefully lower the quick oil drain (H) into an approved container (J).
- After the oil has drained, install the quick oil drain cap (I, Figure 10). Attach the quick oil drain hose (H) to the side of the engine.
Change Oil Filter, if equipped
Some models are equipped with an oil filter. For replacement intervals, see the
Maintenance Schedule.
- Drain the oil from the engine. See Remove Oil section.
- Remove the oil filter (K, Figure 11) and dispose of properly.
- Before you install the new oil filter, lightly lubricate the oil filter gasket with fresh, clean oil.
- Install the oil filter by hand until the gasket contacts the oil filter adapter, then tighten the oil filter 1/2 to 3/4 turns.
- Add oil. See Add Oil section.
- Start and run the engine. As the engine warms up, check for oil leaks.
- Stop the engine and check the oil level. Correct oil level is at the top of the full indicator (B, Figure 8) on the dipstick.
Add Oil
- Make sure the engine is level.
- Clean the oil fill area of any debris.
- See the Specifications section for oil capacity.
- Remove the dipstick (A, Figure 8) and wipe with a clean cloth.
- Slowly pour oil into the engine oil fill (C, Figure 8). Do not overfill. After adding oil, wait one minute and then check the oil level.
Note: Do not add oil at the quick oil drain (H, Figure 10), if equipped. - Install and tighten the dipstick (A, Figure 8).
- Remove the dipstick and check the oil level. Correct oil level is at the top of the full indicator (B, Figure 8) on the dipstick.
- Reinstall and tighten the dipstick (A, Figure 8).
- Connect the spark plug wire (D, Figure 8) to the spark plug (E).
Service Air Filter
See Figure: 12
WARNING
Fuel and its vapors are extremely flammable and explosive.
Fire or explosion can cause severe burns or death.
- Never start and run the engine with the air cleaner assembly (if equipped) or the air filter (if equipped) removed.
NOTICE Do not use pressurized air or solvents to clean the filter. Pressurized air can damage the filter and solvents will dissolve the filter.
See the Maintenance Schedule for service requirements.
Various models use either a foam or a paper filter. Some models may also have an optional pre-cleaner that can be washed and reused. Compare the illustrations in this manual with the type installed on your engine and service as follows.
- Loosen the fastener(s) (A, Figure 12).
- Remove the cover (B, Figure 12).
- To remove the filter (C, Figure 12), lift the end of the filter and then pull the filter off the intake (E).
- To loosen debris, gently tap the filter (C, Filter 12) on a hard surface. If the filter is excessively dirty, replace with a new filter.
- Remove the pre-cleaner (D, Figure 12), if equipped, from the filter (C).
- Wash the pre-cleaner (D, Figure 12) in liquid detergent and water. Allow the precleaner to air dry. Do not oil the pre-cleaner.
- Assemble the dry pre-cleaner (D, Figure 12), if equipped, to the filter (C).
- Install the filter (C, Figure 12) on the intake (E). Push the end of the filter into the base. Make sure the filter fits securely in the base.
- Install the cover (B, Figure 12) and secure with the fastener(s) (A). Make sure the fastener(s) is tight.
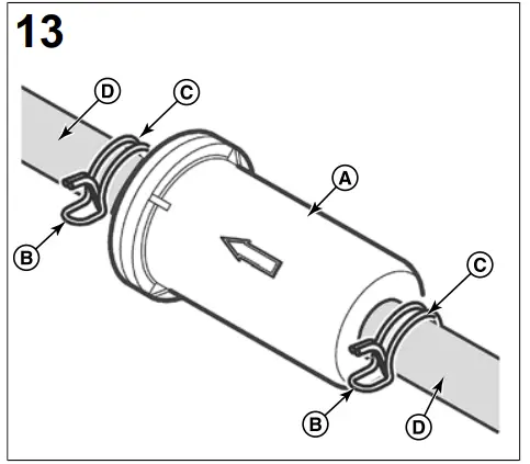
Service Fuel System
See Figure: 13
WARNING
Fuel and its vapors are extremely flammable and explosive.
Fire or explosion can cause severe burns or death.
- Keep fuel away from sparks, open flames, pilot lights, heat, and other ignition sources.
- Check fuel lines, tank, cap, and fittings frequently for cracks or leaks. Replace if necessary.
- Before cleaning or replacing the fuel filter, drain the fuel tank or close the fuel shut-off valve.
- If fuel spills, wait until it evaporates before starting engine.
- Replacement parts must be the same and installed in the same position as the original parts.
Fuel Filter, if equipped
- Before replacing the fuel filter (A, Figure 13), if equipped, drain the fuel tank or close the fuel shut-off valve. Otherwise, fuel can leak out and cause a fire or explosion.
- Use pliers to squeeze tabs (B, Figure 13) on the clamps (C), then slide the clamps away from the fuel filter (A). Twist and pull the fuel lines (D) off of the fuel filter.
- Check the fuel lines (D, Figure 13) for cracks or leaks. Replace if necessary.
- Replace the fuel filter (A, Figure 13) with an original equipment replacement filter.
- Secure the fuel lines (D, Figure 13) with clamps (C) as shown.
Service Cooling System
WARNING
Running engines produce heat. Engine parts, especially muffler, become extremely hot.
Severe thermal burns can occur on contact.
Combustible debris, such as leaves, grass, brush, etc., can catch fire.
- Allow muffler, engine cylinder and fins to cool before touching.
- Remove accumulated debris from muffler area and cylinder area.
NOTICE Do not use water to clean the engine. Water could contaminate the fuel system. Use a brush or dry cloth to clean the engine.
This is an air cooled engine. Dirt or debris can restrict air flow and cause the engine to overheat, resulting in poor performance and reduced engine life.
- Use a brush or dry cloth to remove debris from the air intake grille.
- Keep linkage, springs and controls clean.
- Keep the area around and behind the muffler, if equipped, free of any combustible debris.
- Make sure the oil cooler fins, if equipped, are free of dirt and debris.
After a period of time, debris can accumulate in the cylinder cooling fins and cause the engine to overheat. This debris cannot be removed without partial disassembly of the engine. Have a Briggs & Stratton Authorized Service Dealer inspect and clean the air cooling system as recommended in the Maintenance Schedule.
Storage
WARNING
Fuel and its vapors are extremely flammable and explosive.
Fire or explosion can cause severe burns or death.
When Storing Fuel Or Equipment With Fuel In Tank
- Store away from furnaces, stoves, water heaters or other appliances that have pilot lights or other ignition sources because they can ignite fuel vapors.
Fuel System
See Figure: 14 
Store the engine level (normal operating position). Fill fuel tank (A, Figure 14) with fuel. To allow for expansion of fuel, do not overfill above the fuel tank neck (B).
Fuel can become stale when kept in a storage container for more than 30 days. Each
time you fill the container with fuel, add STA-BIL 360°® PROTECTION™ to the fuel as specified by the manufacturer’s instructions. This keeps fuel fresh and decreases fuel-related problems or contamination in the fuel system.
It is not necessary to drain fuel from the engine when STA-BIL
360°® PROTECTION™ is added as instructed. Before storage, turn the engine ON for 2 minutes to move the fuel and stabilizer through the fuel system.
If gasoline in the engine has not been treated with a fuel stabilizer, it must be drained into an approved container. Run the engine until it stops from lack of fuel. The use of a fuel stabilizer in the storage container is recommended to maintain freshness.
Engine Oil
While the engine is still warm, change the engine oil. See the Change Engine Oil section.
Troubleshooting
For assistance, contact your local dealer or go to BRIGGSandSTRATTON.com or call 1-800-233-3723 (in USA).
Specifications
| Model: 310000 | |
| Displacement | 30.52 ci (500 cc) |
| Bore | 3.563 in (90,49 mm) |
| Stroke | 3.062 in (77,77 mm) |
| Model: 310000 | |
| Oil Capacity | 46 – 48 oz (1,36 – 1,40 L) |
| Spark Plug Gap | .030 in (,76 mm) |
| Spark Plug Torque | 180 lb-in (20 Nm) |
| Armature Air Gap | .010 – .014 in (,25 – ,36 mm) |
| Intake Valve Clearance | .003 – .005 in (,08 – ,13 mm) |
| Exhaust Valve Clearance | .005 – .007 in (,13 – ,18 mm) |
Engine power will decrease 3.5% for each 1,000 feet (300 meters) above sea level and 1% for each 10° F (5.6° C) above 77° F (25° C). The engine will operate satisfactorily at an angle up to 15°. Refer to the equipment operator’s manual for safe allowable operating limits on slopes.
| Service Parts – Model: 310000, 330000 | |
| Service Part | Part Number |
| Air Filter | 793569 |
| Air Filter Pre-cleaner | 793685 |
| Oil – SAE 30 (48 oz, 1,4 L) | 100028 |
| Oil Filter, Standard – Black | 492932 |
| Oil Filter, High Efficiency – Yellow | 795890 |
| Oil Filter, High Efficiency – Orange | 798576 |
| Fuel Filter | 394358S |
| Resistor Spark Plug | 491055 |
| Long Life Platinum Spark Plug | 5066 |
| Spark Plug Wrench | 89838, 5023 |
| Spark Tester | 19368 |
We recommend that you see any Briggs & Stratton Authorized Dealer for all maintenance and service of the engine and engine parts.
Power Ratings: The gross power rating for individual gasoline engine models is labeled in accordance with SAE (Society of Automotive Engineers) code J1940 Small Engine Power & Torque Rating Procedure, and is rated in accordance with SAE J1995. Torque values are derived at 2600 RPM for those engines with “rpm” called out on the label and 3060 RPM for all others; horsepower values are derived at 3600 RPM. The gross power curves can be viewed at www.BRIGGSandSTRATTON.COM. Net power values are taken with exhaust and air cleaner installed whereas gross power values are collected without these attachments. Actual gross engine power will be higher than net engine power and is affected by, among other things, ambient operating conditions and engine-to-engine variability. Given the wide array of products on which engines are placed, the gasoline engine may not develop the rated gross power when used in a given piece of power equipment. This difference is due to a variety of factors including, but not limited to, the variety of engine components (air cleaner, exhaust, charging, cooling, carburetor, fuel pump, etc.), application limitations, ambient operating conditions (temperature, humidity, altitude), and engine-to-engine variability. Due to manufacturing and capacity limitations, Briggs & Stratton may substitute an engine of higher rated power for this engine.
Warranty
Briggs & Stratton Engine Warranty
Effective January 2019
Limited Warranty
Briggs & Stratton warrants that, during the warranty period specified below, it will repair or replace, free of charge, any part that is defective in material or workmanship or both. Transportation charges on product submitted for repair or replacement under this warranty must be borne by purchaser. This warranty is effective for and is subject to the time periods and conditions stated below. For warranty service, find the nearest Authorized Service Dealer in our dealer locator map at BRIGGSandSTRATTON.COM. The purchaser must contact the Authorized Service Dealer, and then make the product available to the Authorized Service Dealer for inspection and testing.
There is no other express warranty. Implied warranties, including those of merchantability and fitness for a particular purpose, are limited to the warranty period listed below, or to the extent permitted by law. Liability for incidental or consequential damages are excluded to the extent exclusion is permitted by law. Some states or countries do not allow limitations on how long an implied warranty lasts, and some states or countries do not allow the exclusion or limitation of incidental or consequential damages, so the above limitation and exclusion may not apply to you. This warranty gives you specific legal rights and you may also have other rights which
vary from state to state and country to country 4 .
Standard Warranty Terms 1, 2, 3
Vanguard®; Commercial Series 3
- Consumer Use – 36 months
- Commercial Use – 36 months
XR Series
- Consumer Use – 24 months
- Commercial Use – 24 months
All Other Engines Featuring Dura-Bore™ Cast Iron Sleeve
- Consumer Use – 24 months
- Commercial Use – 12 months
All Other Engines
- Consumer Use – 24 months
- Commercial Use – 3 months
- These are our standard warranty terms, but occasionally there may be additional warranty coverage that was not determined at time of publication. For a listing of current warranty terms for your engine, go to BRIGGSandSTRATTON.com or contact your Briggs & Stratton Authorized Service Dealer.
- There is no warranty for engines on equipment used for prime power in place of a utility; standby generators used for commercial purposes, utility vehicles exceeding 25 MPH, or engines used in competitive racing or on commercial or rental tracks.
- Vanguard installed on standby generators: 24 months consumer use, no warranty commercial use. Commercial Series with manufacturing date before July 2017: 24 months consumer use, 24 months commercial use.
- In Australia – Our goods come with guarantees that cannot be excluded under the Australian Consumer Law. You are entitled to a replacement or refund for a major failure and for compensation for any other reasonably foreseeable loss or damage. You are also entitled to have the goods repaired or replaced if the goods fail to be of acceptable quality and the failure does not amount to a major failure. For warranty service, find the nearest Authorized Service Dealer in our dealer locator map at BRIGGSandSTRATTON.COM, or by calling 1300 274 447, or by emailing or writing to [email protected], Briggs & Stratton Australia Pty Ltd, 1 Moorebank Avenue, Moorebank, NSW , Australia, 2170.
The warranty period begins on the original date of purchase by the first retail or commercial consumer. “Consumer use” means personal residential household use by a retail consumer. “Commercial use” means all other uses, including use for commercial, income producing or rental purposes. Once an engine has experienced commercial use, it shall thereafter be considered as a commercial use engine for purposes of this warranty.
Save your proof of purchase receipt. If you do not provide proof of the initial purchase date at the time warranty service is requested, the manufacturing date of the product will be used to determine the warranty period. Product registration is not required to obtain warranty service on Briggs & Stratton products.
About Your Warranty
This limited warranty covers engine-related material and/or workmanship issues only, and not replacement or refund of the equipment to which the engine may be mounted. Routine maintenance, tune-ups, adjustments, or normal wear and tear are not covered under this warranty. Similarly, warranty is not applicable if the engine has been altered or modified or if the engine serial number has been defaced or removed. This warranty does not cover engine damage or performance problems caused by:
- The use of parts that are not original Briggs & Stratton parts;
- Operating the engine with insufficient, contaminated, or an incorrect grade of lubricating oil;
- The use of contaminated or stale fuel, gasoline formulated with ethanol greater than 10%, or the use of alternative fuels such as liquefied petroleum or natural gas on engines not originally designed/manufactured by Briggs & Stratton to operate on such fuels;
- Dirt which entered the engine because of improper air cleaner maintenance or re-assembly;
- Striking an object with the cutter blade of a rotary lawn mower, loose or improperly installed blade adapters, impellers, or other crankshaft coupled devices, or excessive v-belt tightness;
- Associated parts or assemblies such as clutches, transmissions, equipment controls, etc., which are not supplied by Briggs & Stratton;
- Overheating due to grass clippings, dirt and debris, or rodent nests which plug or clog the cooling fins or flywheel area, or by operating the engine without sufficient ventilation;
- Excessive vibration due to over-speeding, loose engine mounting, loose or unbalanced cutter blades or impellers, or improper coupling of equipment components to the crankshaft;
- Misuse, lack of routine maintenance, shipping, handling, or warehousing of equipment, or improper engine installation.
Warranty service is available only through Briggs & Stratton Authorized Service Dealers. Locate your nearest Authorized Service Dealer in our dealer locator map at BRIGGSandSTRATTON.COM or by calling 1-800-233-3723 (in USA).
80004537 (Rev. F)
Briggs & Stratton Emissions Warranty
California, U.S. EPA, and Briggs & Stratton Corporation Emissions Control Warranty – Your Warranty Rights and Obligations
For Briggs & Stratton Engine Models with “F” Trim Designation (Model-Type-Trim Representation xxxxxx xxxx Fx)
The California Air Resources Board, U.S. EPA, and Briggs & Stratton (B&S) are pleased to explain the exhaust and evaporative emissions (“emissions”) control system warranty on your 2019-2021 engine/equipment. In California, new equipment that use small off-road engines must be designed, built, and equipped to meet the State’s stringent anti-smog standards. B&S must warrant the emissions control system on your engine/equipment for the periods of time listed below provided there has been no abuse, neglect or improper maintenance of your small off-road engine or equipment leading to the failure of the emissions control system.
Your emissions control system may include parts such as the carburetor or fuel-injection system, the ignition system, catalytic converter, fuel tanks, fuel lines (for liquid fuel and fuel vapors), fuel caps, valves, canisters, filters, clamps and other associated components. Also included may be hoses, belts, connectors, and other emission-related assemblies.
Where a warrantable condition exists, B&S will repair your engine/equipment at no cost to you including diagnosis, parts, and labor.
Manufacturer’s Warranty Coverage:
The exhaust and evaporative emissions control system on your engine/equipment is warranted for two years. If any emissions-related part on your engine/equipment is defective, the part will be repaired or replaced by B&S.
Owner’s Warranty Responsibilities:
- As the engine/equipment owner, you are responsible for the performance of the required maintenance listed in your owner’s manual. B&S recommends that you retain all receipts covering maintenance on your engine/equipment, but B&S cannot deny warranty coverage solely for the lack of receipts or for your failure to ensure the performance of all scheduled maintenance.
- As the engine/equipment owner, you should however be aware that B&S may deny you warranty coverage if your engine/equipment or a part has failed due to abuse, neglect, or improper maintenance or unapproved modifications.
- You are responsible for presenting your engine/equipment to a B&S distribution center or service center as soon as the problem exists. The warranty repairs shall be completed in a reasonable amount of time, not to exceed 30 days. If you have a question regarding your warranty rights and responsibilities you should contact B&S at 1-800-444-7774 (in USA) or BRIGGSandSTRATTON.COM.
Briggs & Stratton Emissions Control Warranty Provisions
The following are specific provisions relative to your Emissions Control Warranty Coverage. It is in addition to the B&S engine warranty for non-regulated engines found in the Operator’s Manual.
- Warranted Emissions Parts
Coverage under this warranty extends only to the parts listed below (the emissions control systems parts) to the extent these parts were present on the B&S engine and/or B&S supplied fuel system.- a. Fuel Metering System
- Cold start enrichment system (soft choke)
- Carburetor or fuel injection system
- Oxygen sensor
- Electronic control unit
- Fuel pump module
- Fuel line (for liquid fuel and fuel vapors), fuel line fittings, clamps
- Fuel tank, cap and tether
- Carbon canister and mounting bracket
- Pressure relief valves
- Liquid/Vapor separator
- b. Air Induction System
- Air cleaner
- Intake manifold
- Purge and vent line
- c. Ignition System
- Spark plug(s)
- Magneto ignition system
- d. Catalyst System
- Catalytic converter
- Exhaust manifold
- Air injection system or pulse value
- e. Miscellaneous Items Used in Above Systems
- Vacuum, temperature, position, time sensitive valves and switches
- Connectors and assemblies
- Electronic controls
- a. Fuel Metering System
- Length of Coverage
Coverage is for a period of two years from the date of delivery to an ultimate purchaser, or for the time period listed in the respective engine or product warranty statement, whichever is greater. B&S warrants to the original purchaser and each subsequent purchaser that the engine is designed, built, and equipped so as to conform with all applicable regulations adopted by the Air Resources Board; that it is free from defects in material and workmanship that could cause the failure of a warranted part; and that it is identical in all material respects to the engine described in the manufacturer’s application for certification. The warranty period begins on the date the engine or equipment is delivered to an ultimate purchaser.
The warranty on emissions-related parts is as follows:- Any warranted part that is not scheduled for replacement as required maintenance in the Operator’s Manual supplied, is warranted for the warranty period stated above. If any such part fails during the period of warranty coverage, the part will be repaired or replaced by B&S at no charge to the owner. Any such part repaired or replaced under the warranty will be warranted for the remaining warranty period.
- Any warranted part that is scheduled only for regular inspection in the Operator’s Manual supplied, is warranted for the warranty period stated above. Any such part repaired or replaced under warranty will be warranted for the remaining warranty period.
- Any warranted part that is scheduled for replacement as required maintenance in the Operator’s Manual supplied, is warranted for the period of time prior to the first scheduled replacement point for that part. If the part fails prior to the first scheduled replacement, the part will be repaired or replaced by B&S at no charge to the owner. Any such part repaired or replaced under warranty will be warranted for the remainder of the period prior to the first scheduled replacement point for the part.
- Add-on or modified parts that are not exempted by the Air Resources Board may not be used. The use of any non-exempted add-on or modified parts by the owner will be grounds for disallowing a warranty claim. The manufacturer will not be liable to warrant failures of warranted parts caused by the use of a non-exempted add-on or modified part.
- Consequential Coverage
Coverage shall extend to the failure of any engine components caused by the failure of any warranted emissions parts. - Claims and Coverage Exclusions
Warranty claims shall be filed according to the provisions of the B&S engine warranty policy. Warranty coverage does not apply to failures of emissions parts that are not original equipment B&S parts or to parts that fail due to abuse, neglect, or improper maintenance as set forth in the B&S engine warranty policy. B&S is not liable for warranty coverage of failures of emissions parts caused by the use of add-on or modified parts.
Look For Relevant Emissions Durability Period and Air Index Information On Your Small Off-Road Engine Emissions Label
Engines that are certified to meet the California Air Resources Board (CARB) small off-road Emissions Standard must display information regarding the Emissions Durability Period and the Air Index. Briggs & Stratton makes this information available to the consumer on our emissions labels. The engine emissions label will indicate certification information.
The Emissions Durability Period describes the number of hours of actual running time for which the engine is certified to be emissions compliant, assuming proper maintenance in accordance with the Operator’s Manual. The following categories are used:
Moderate:
Engines at or less than 80 cc displacement are certified to be emissions compliant for 50 hours of actual engine running time. Engines greater than 80 cc displacement are certified to be emissions compliant for 125 hours of actual engine running time.
Intermediate:
Engines at or less than 80 cc displacement are certified to be emissions compliant for 125 hours of actual engine running time. Engines greater than 80 cc displacement are certified to be emissions compliant for 250 hours of actual engine running time.
Extended:
Engines at or less than 80 cc displacement are certified to be emissions compliant for 300 hours of actual engine running time. Engines greater than 80 cc displacement are certified to be emissions compliant for 500 hours of actual engine running time.
For example, a typical walk-behind lawn mower is used 20 to 25 hours per year. Therefore, the Emissions Durability Period of an engine with an intermediate rating would equate to 10 to 12 years.
Briggs & Stratton engines are certified to meet the United States Environmental Protection Agency (USEPA) Phase 2 or Phase 3 emissions standards. The Emissions Compliance Period referred to on the Emissions Compliance label indicates the number of operating hours for which the engine has been shown to meet Federal emissions requirements.
For engines at or less than 80 cc displacement:
Category C = 50 hours, Category B = 125 hours, Category A = 300 hours
For engines greater than 80 cc displacement and less than 225 cc displacement:
Category C = 125 hours, Category B = 250 hours, Category A = 500 hours
For engines of 225 cc or more displacement:
Category C = 250 hours, Category B = 500 hours, Category A = 1000 hours
80084158_A






















