3000 Series
SH255, SH265
Owner’s Manual

IMPORTANT: Read all safety precautions and instructions carefully before operating equipment. Refer to operating instruction of equipment that this engine powers.
Ensure engine is stopped and level before performing any maintenance or service.
Warranty coverage as outlined in the warranty card and on KohlerEngines.com. Please review carefully as it provides you specifi c rights and obligations.
To maintain compliance with applicable emission regulations, exhaust system backpressure may not exceed limits which can be found on KohlerEngines.com. Search by Model No., select Read More, then select Specs tab.
Record engine information to reference when ordering parts or obtaining warranty coverage.
Engine Model-
Specifi cation-
Serial Number-
Purchase Date-
Safety Precautions
WARNING: A hazard that could result in death, serious injury, or substantial property damage.
CAUTION: A hazard that could result in minor personal injury or property damage.
NOTE: This is used to notify people of important installation, operation, or maintenance information.
| Explosive Fuel can cause fi res and severe burns. Do not fi ll fuel tank while the engine is hot or running. | |
| Gasoline is extremely fl amiable and its vapors can explode if ignited. Store gasoline only in approved containers, in well-ventilated, unoccupied buildings, away from sparks or fl games. Spilled fuel could ignite if it comes in contact with hot parts or sparks from the ignition. Never use gasoline as a cleaning agent. | |
| Carbon Monoxide can cause severe nausea, fainting, or death. Avoid inhaling exhaust fumes. | |
| Engine exhaust gases contain poisonous carbon monoxide. Carbon monoxide is odorless, colorless, and can cause death if inhaled. | |
| Accidental Starts can cause severe injury or death. Disconnect and ground spark plug lead(s) before servicing. | |
| Before working on the engine or equipment, disable the engine as follows: 1) Disconnect spark plug lead(s). 2) Disconnect negative (–) battery cable from battery. | |
| Rotating Parts can cause severe injury. Stay away while the engine is in operation. | |
| Keep hands, feet, hair, and clothing away from all moving parts to prevent injury. Never operate the engine with covers, shrouds, or guards removed. | |
| Electrical Shock can cause injury Do not touch wires while the engine is running. |
| Hot Parts can cause severe burns. Do not touch the engine while operating or just after stopping. | |
| Never operate the engine with heat shields or guards removed. | |
| California Proposition 65 Warning |
| Engine exhaust from this product contains chemicals known to State of California to cause cancer, birth defects, or other reproductive harm. |
| California Proposition 65 Warning | |
| This product contains chemicals known to State of California to cause cancer, birth defects, or other reproductive harm. |
Symbols






Pre-Start Checklist
- Check oil level. Add oil if low. Do not overfi ll.
- Check fuel level. Add fuel if low. Check fuel system components and lines for leaks.
- Check and clean cooling areas, air intake areas, and external surfaces of the engine (particularly after storage).
- Check that the air cleaner component and all shrouds, equipment covers, and guards are in place and securely fastened.
- Check spark arrestor (if equipped).
Starting
| Carbon Monoxide can cause severe nausea, fainting or death. Avoid inhaling exhaust fumes. | |
| Engine exhaust gases contain poisonous carbon monoxide. Carbon monoxide is odorless, colorless, and can cause death if inhaled. | |
| Rotating Parts can cause severe injury. Stay away while the engine is in operation. | |
| Keep hands, feet, hair, and clothing away from all moving parts to prevent injury. Never operate the engine with covers, shrouds, or guards removed. | |
NOTE: Choke position for starting may vary depending upon temperature and other factors. Once the engine is running and warm, turn to choke to OFF position.
NOTE: Extend the starter cord periodically to check its condition. If the cord is frayed have it replaced immediately by a Kohler authorized dealer.
NOTE: Do not crank the engine continuously for more than 10 seconds. Allow a 60 second cool-down period between starting attempts. Failure to follow these guidelines can burn out the starter motor.
NOTE: If the engine develops suffi client speed to disengage starter but does not keep running (a false start), engine rotation must be allowed to come to a complete stop before attempting to restart the engine. If the starter is engaged while fl wheel is rotating, the starter pinion and fl wheel ring gear may clash, resulting in damage to the starter.
- Turn fuel shut-off valve to ON position (if equipped).
- Turn engine on/off switch to ON position (if equipped).
- Start engine as follows:
Cold engine: Place throttle control midway between SLOW and FAST positions. Place choke control into ON position. Warm engine: Place throttle control midway between SLOW and FAST positions. Return choke to OFF position as soon as the engine starts. A warm engine usually does not require a choke on. - Retractable Start: Slowly pull starter handle until just past compression-STOP! Return starter handle; fi firmly pull straight out to avoid excessive rope wear from starter rope guide. Electric Start: Activate the starter switch. Release switch as soon as the engine starts. If the starter does not turn the engine over, shut off the starter immediately. Do not make further attempts to start the engine until the condition is corrected. Do not jump start. See your Kohler authorized dealer for trouble analysis.
- Gradually return choke control to the OFF position after the engine starts and warms up. Engine/equipment may be operated during the warm-up period, but it may be necessary to leave the choke partially on until the engine warms up.
Cold Weather Starting Hints
- Use proper oil for the temperature expected.
- Disengage all possible external loads.
- Use fresh winter-grade fuel. Winter grade fuel has higher volatility to improve starting.
Stopping
- If possible, remove load by disengaging all PTO-driven attachments.
- If equipped, move throttle control to the slow or idle position; stop the engine.
- If equipped, close the fuel shut-off valve.
Angle of Operation
Refer to operating instructions of equipment this engine powers. Do not operate this engine exceeding the maximum angle of operation; see specifi cation table. Engine damage could result from insuffi cient lubrication. Engine Speed
NOTE: Do not tamper with the governor set to increase maximum engine speed. Overspeed is hazardous and will void warranty.
High Altitude Operation
If this engine is operated at an altitude of 4000 ft. (1219 meters) or above, a high-altitude carburetor kit is required. To obtain high-altitude carburetor kit information or to fi nd a Kohler authorized dealer, visit KohlerEngines.com or call 1-800-544-2444 (U.S. and Canada).
This engine should be operated in its original confi duration below 4000 ft. (1219 meters). Operating this engine with the wrong engine confi duration at a given altitude may increase its emissions, decrease fuel effi ciency and performance, and result in damage to the engine.
Maintenance Instructions
| Before working on the engine or equipment, disable the engine as follows: 1) Disconnect spark plug lead(s). 2) Disconnect negative (–) battery cable from battery. | ||
| Accidental Starts can cause severe injury or death. Disconnect and ground spark plug lead(s) before servicing. |
Normal maintenance, replacement, or repair of emission control devices and systems may be performed by any repair establishment or individual; however, warranty repairs must be performed by a Kohler authorized dealer found at KohlerEngines.com or 1-800-544-2444 (U.S. and Canada).
Maintenance Schedule
After fi first 5 Hours
● Change oil.
Every 50 Hours or Annually
● Service/replace dual-element precleaner.
Every 100 Hours or Annually¹
● Clean low-profi le air cleaner element.
● Replace dual-element air cleaner element.
● Change oil.
● Clean cooling areas.
● Clean spark arrestor (if equipped).
● Replace fuel fi later (if equipped).
Every 100 Hours²
● Check and adjust valve clearance when the engine is cold.
● Has the combustion chamber been decarbonized?
Every 125 Hours or Annually¹
● Replace the spark plug and set the gap.
Every 200 Hours²
● Replace the fuel line.
Every 300 Hours
● Replace low-profi le air cleaner element.
¹Perform these procedures more frequently under severe, dusty, dirty conditions.
²Have a Kohler authorized dealer perform this service.
Oil Recommendations
We recommend use of Kohler oils for best performance. Other high-quality detergent oils (including synthetic) of API (American Petroleum Institute) service class SJ or higher are acceptable. Select viscosity based on air temperature at the time of operation as shown in the table below.

Check Oil Level
NOTE: To prevent extensive engine wear or damage, never run the engine with oil level below or above operating range indicator on dipstick. Ensure the engine is cool. Clean oil fi ll/dipstick areas of any debris.
- Remove dipstick; wipe oil off.
- Reinsert the dipstick into the tube; rest on the oil fi ll neck; turn counterclockwise until the cap drops down to lowest point of thread leads; do not thread the cap onto the tube.
a. Remove dipstick; check the oil level. The level should be at top of the indicator on the dipstick.
or
b. Remove oil fi ll plug. The level should be up to point of overfl owing fi ller neck. - If oil is low, add oil up to point of overfl owing fi ller neck.
- Reinstall dipstick or oil fi ll plug and tighten securely.
Change Oil
Change oil while the engine is warm.
- Clean area around oil fi ll cap/dipstick and drain plug.
- Remove the drain plug and oil fi ll cap/dipstick. Drain oil completely.
- Reinstall drain plug. Torque to 13 ft. lb. (17.6 N·m).
- Fill crankcase with new oil, up to point of overfl owing fi ller neck.
- Reinstall oil fi ll cap/dipstick and tighten securely.
- Dispose of used oil in accordance with local ordinances.
Oil Sentry™ (if equipped)
This switch is designed to prevent the engine from starting in a low oil or no oil condition. Oil Sentry™ may not shut down a running engine before damage occurs. In some applications, this switch may activate a warning signal. Read your equipment manuals for more information.
Fuel Recommendations
| Explosive Fuel can cause fi res and severe burns. Do not fi ll fuel tank while the engine is hot or running. | |
| Gasoline is extremely fl flammable and its vapors can explode if ignited. Store gasoline only in approved containers, in well-ventilated, unoccupied buildings, away from sparks or fl games. Spilled fuel could ignite if it comes in contact with hot parts or sparks from the ignition. Never use gasoline as a cleaning agent. | |
NOTE: E15, E20, and E85 are NOT approved and should NOT be used; effects of old, stale, or contaminated fuel are not warrantable.
Fuel must meet these requirements:
● Clean, fresh, unleaded gasoline.
● The octane rating of 87 (R+M)/2 or higher.
● Research Octane Number (RON) 90 octane minimum.
● Gasoline up to 10% ethyl alcohol, 90% unleaded is acceptable.
● Methyl Tertiary Butyl Ether (MTBE) and unleaded gasoline blend (max 15% MTBE by volume) are approved.
● Do not add oil to gasoline.
● Do not overfi ll fuel tank.
● Do not use gasoline older than 30 days.
| Explosive Fuel can cause fi res and severe burns. Do not fi ll fuel tank while the engine is hot or running. | |
| Gasoline is extremely fl flammable and its vapors can explode if ignited. Store gasoline only in approved containers, in well-ventilated, unoccupied buildings, away from sparks or fl games. Spilled fuel could ignite if it comes in contact with hot parts or sparks from the ignition. Never use gasoline as a cleaning agent. | |
Ensure the engine is cool.
- Clean area around the fuel cap.
- Remove fuel cap. Fill to the base of fi ller neck. Do not overfi ll fuel tank. Leave room for fuel to expand.
- Reinstall the fuel cap and tighten it securely.
Fuel Line
A low permeation fuel line must be installed on carbureted Kohler Co. engines to maintain EPA and CARB regulatory compliance.
| Electrical Shock can cause injury do not touch wires while engine is running. |
Clean out spark plug recess. Remove plug and replace.
- Check gap using a wire feeler gauge. Adjust gap, see specifi cation table for adjustment.
- Install plug into the cylinder head.
- Torque plug to 20 ft. lb. (27 N·m).
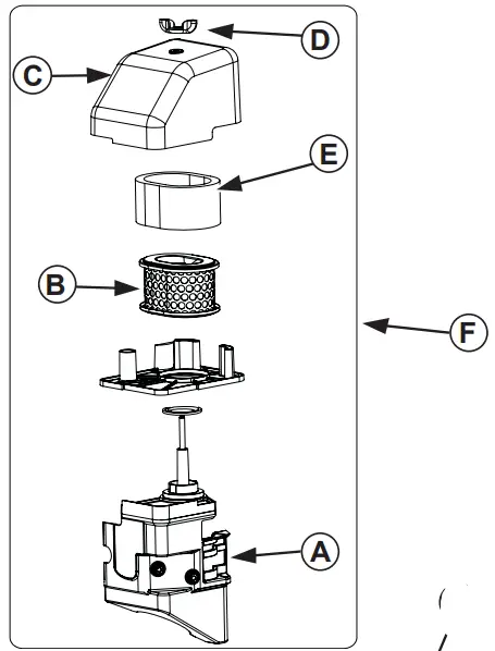
Air Cleaner
NOTE: Operating an engine with loose or damaged air cleaner components could cause premature wear and failure. Replace all bent or damaged components.
NOTE: Paper elements cannot be blown out with compressed air. Dual-Element Remove wing nut and air cleaner cover. Precleaner:
- Remove precleaner from paper element.
- Replace or wash precleaner in warm water
with detergent. Rinse and allow to air dry. - Reinstall precleaner over paper element.
Paper Element:
- Remove paper element with precleaner.
- Separate precleaner from element; service precleaner and replace element.
- Reinstall precleaner over paper element.
Reinstall air cleaner cover and secure with wing nut.
Low-Profi le
- Remove the screw and air cleaner cover.
- Remove foam element from the base.
- Wash foam elements in warm water with detergent. Rinse and allow to air dry.
- Lightly oil foam element with new engine oil; squeeze out excess oil.
- Reinstall foam element into the base.
- Reinstall the cover and secure it with the screw.
Breather Tube
Ensure both ends of the breather tube are properly connected.
Air Cooling
| Hot Parts can cause severe burns. Do not touch the engine while operating or just after stopping. | |
| Never operate the engine with heat shields or guards removed. | |
Proper cooling is essential. To prevent overheating, clean screens, cooling fi ns, and other external surfaces of the engine. Avoid spraying water at the wiring harness or any electrical components. See Maintenance Schedule.
Repairs/Service Parts
We recommend that you use a Kohler authorized dealer for all maintenance, service, and replacement parts for engine. To fi nd a Kohler authorized dealer visit KohlerEngines.com or call 1-800-544-2444 (U.S. and Canada).
Storage
If the engine will be out of service for 2 months or more follow the procedure below.
- Add Kohler PRO Series fuel treatment or equivalent to the fuel tank. Run engine 2-3 minutes to get stabilized fuel into fuel system (failures due to untreated fuel are not warrantable).
- Change oil while the engine is still warm from operation. Remove spark plug(s) and pour about 1 oz. of engine oil into the cylinder(s). Replace spark plug(s) and crank engine slowly to distribute oil.
- Disconnect negative (-) battery cable.
- Store engine in a clean, dry place.
Troubleshooting
Do not attempt to service or replace major engine components, or any items that require special timing or adjustment procedures. This work should be performed by a Kohler authorized dealer.
| Problem | Possible Cause | |||||||
| No Fuel | Improper Fuel | Dirt In Fineline | Debris Screen | Dirty Incorrect Oil Level | Engine Overloaded | Dirty Air Cleaner | Faulty Spark Plug | |
| Will Not Start | ● | ● | ● | ● | ● | ● | ● | |
| Hard Starting | ● | ● | ● | ● | ● | ● | ||
| Stops Suddenly | ● | ● | ● | ● | ● | ● | ● | |
| Lacks Power | ● | ● | ● | ● | ● | ● | ● | |
| Operates Erratically | ● | ● | ● | ● | ● | ● | ||
| Knocks or Pings | ● | ● | ● | ● | ||||
| Skips or Misfires | ● | ● | ● | ● | ● | |||
| Backfires | ● | ● | ● | ● | ● | |||
| Overheats | ● | ● | ● | ● | ● | ● | ||
| High Fuel Consumption | ● |
| ● | ● | ||||
Engine Specifi cations
| Model | Model | Stroke | Displacement | Oil Capacity (Refi ll) | Spark Plug Gap | Maximum Angle of Operation (@ full oil level)* |
| SH255 | SH255 (68 mm) | 2.1 in. (54 mm) | 12 cu. in. (196 cc) | 0.63 qt. (0.60 L) | 0.03 in. (0.76 mm) | 25° |
| SH265 |
*Exceeding maximum angle of operation may cause engine damage from insuffi cient lubrication. Additional specifi cation information can be found in the service manual at KohlerEngines.com. The exhaust Emission Control System for models SH255, SH265 is EM for U.S. EPA, California, and Europe.
Any and all horsepower (hp) references by Kohler are Certifi ed Power Ratings and per SAE J1940 & J1995 hp standards. Details on Certifi ed Power Ratings can be found at KohlerEngines.com.


















