
GEN 5.0
Generator Owner’s Manual
IMPORTANT: Read all safety precautions and instructions carefully before operating equipment.
Ensure engine is stopped and level before performing any maintenance or service.
Record product information to reference when ordering parts or obtaining warranty coverage.
Specification _______________________________________________________________
Serial Number ______________________________________________________________
Purchase Date ______________________________________________________________
WARNING: This Product can expose you to chemicals, including carbon monoxide and benzene, which are known to the State of
California to cause cancer and birth defects or other reproductive harm.
For more information go to www.P65warnings.ca.gov
Safety Precautions
DANGER: A hazard that will result in death, serious injury, or substantial property damage.
WARNING: A hazard that could result in death, serious injury, or substantial property damage.
CAUTION: A hazard that could result in minor personal injury or property damage.
NOTE: is used to notify people of important installation, operation, or maintenance information.
Read this manual carefully before operating this machine. This manual should stay with this machine if it is sold.
![]() | |
| Explosive Fuel can cause fires and severe burns. Do not fill fuel tank while engine is hot or running. | |
| Gasoline is extremely flammable and its vapors can explode if ignited. Never refuel while smoking or in vicinity of an open flame. Store gasoline only in approved containers, in well ventilated, unoccupied buildings, away from sparks or flames. Spilled fuel could ignite if it comes in contact with hot parts or sparks from ignition. Never use gasoline as a cleaning agent. | |
![]() | |
| Rotating Parts can cause severe injury. Stay away while generator is in operation. | |
| Keep hands, feet, hair, and clothing away from all moving parts to prevent injury. Never operate generator with covers, shrouds, or guards removed. | |
![]() | |
| Electrical Shock can cause injury Do not touch wires while generator is running. | |
| Never operate generator in rain or snow. Never touch generator with wet hands or electrical shock may occur. | |
![]() | |
| Accidental Starts can cause severe injury or death. Disconnect and ground spark plug lead(s) before servicing. | |
| Before working on generator or equipment, disable engine as follows: 1) Disconnect spark plug lead(s). 2) Disconnect negative (–) battery cable from battery. Do not allow children to operate generator. | |
![]() | |
| Hot Parts can cause severe burns. Do not touch generator while operating or just after stopping. | |
| Never operate generator with heat shields or guards removed. Do not modify generator. Place generator in a place where pedestrians or children are not likely to touch generator. Be sure to carry generator only by its carrying handles. | |
![]() | |
| Hazardous Voltage. Backfeed to utility system can cause property damage, severe injury, or death. | |
| Never plug a portable generator directly into a building outlet. If generator is used for standby power, have a certified, licensed electrician install an automatic transfer switch to prevent inadvertent interconnection of standby and normal sources of supply. There is a permanent conductor between the generator (stator winding) and the frame. | |
Important Labels on Generator
HOT EXHAUST
| Using a generator indoors CAN KILL YOU IN MINUTES. Generator exhaust contains carbon monoxide. This is a poison you cannot see or smell. | |
NEVER use inside a home or garage, EVEN IF doors and windows are open. | Only use OUTSIDE and far away from windows, doors, and vents. |
| Avoid other generator hazards. READ MANUAL BEFORE USE. | |
WARNING
- Do not touch generator while operating or just after stopping.
- Hot parts can cause severe burns.

- Explosive Fuel can cause fires and severe burns.
- Do not fill fuel tank while generator is hot or running.

- Electrical shock can cause injury.
- Do not touch wires while generator is running.
- Do not connect generator to a building’s electrical system unless using an isolation (transfer) switch installed by a certified, licensed electrician.

| A | On/Off Switch | B | 240/120V/30A Electrical Socket | C | Circuit Protector | D | 120V/20A Receptacle |
| E | Ground Terminal | F | Fuel Tank Cap | G | Fuel Level Indicator | H | Oil Drain Plug |
| I | Oil Fill Plug/Dipstick | J | Choke Lever | K | Spark Plug | L | Carbon Canister |
| M | Starter Handle | N | Screw | O | Air Cleaner Cover | P | Foam Element |
| Q | Air Cleaner Base | R | Fuel Valve | S | Fuel Filter | T | 120/240V Outlet Selector Switch |
| U | Main Breaker | ||||||
1California only.
Pre-Start Checklist
- Ensure generator is at least 3.3 ft. (1 m) from building or other equipment and not covered with any material.
- Refer to all warning labels prior to starting.
- Check oil level using oil fill plug. Add oil if low. Do not overfill.
- Check fuel level (G). Add fuel if low. Stop refueling when indicator reaches F (full) level. Check fuel system components and lines for leaks. Never refuel while unit is running.
- Check that air cleaner component and all air inlets are unobstructed, equipment covers, and guards are in place and securely fastened.
- Ensure electrical devices (load) are not connected to a generator.
Starting
| Using a generator indoors CAN KILL YOU IN MINUTES. Generator exhaust contains carbon monoxide. This is a poison you cannot see or smell. | |
NEVER use inside a home or garage, EVEN IF doors and windows are open. | Only use OUTSIDE and far away from windows, doors, and vents. |
![]() | |
| Rotating Parts can cause severe injury. Stay away while generator is in operation. | |
| Keep hands, feet, hair, and clothing away from all moving parts to prevent injury. Never operate generator with covers, shrouds, or guards removed. | |
NOTE: Choke is not required to start a warm engine. Push choke lever (J) in to original position.
- Turn Fuel ON.
- Turn choke lever (J) ON.
- Turn engine to ON and pull rope.
- Turn choke lever (J) OFF after engine is warm.
If engine does not start, repeat operation until engine starts by gradually opening choke lever (J).
Cold Weather Starting
- Use proper oil for temperature expected.
- Disengage all possible external loads.
- Use fresh winter grade fuel. Winter grade fuel has higher volatility to improve starting.
Operation
![]() | |
| Hazardous Voltage. Backfeed to utility system can cause property damage, severe injury, or death. | |
| Never plug a portable generator directly into a building outlet. If generator is used for standby power, have a certified, licensed electrician install an automatic transfer switch to prevent inadvertent interconnection of standby and normal sources of supply. There is a permanent conductor between the generator (stator winding) and the frame. | |
When running speed of generating set has stabilized (approximately 3 minutes):
- Check that circuit protectors (C) are pushed in. Press if necessary.
- Connect appliances to electrical sockets (B & D) of generator.
Angle of Operation
Do not operate this engine exceeding maximum angle of operation; see specification table.
Engine damage could result from insufficient lubrication.
Cable Selection
Generator Socket Type | 10A | 16A | 32A | ||||
| Recommended Cable Cross Section | mm2 | AWG | mm2 | AWG | mm2 | AWG | |
| Length of Cable Used | 0 to 50 m | 4 | 10 | 6 | 9 | 10 | 7 |
51 to 100 m | 10 | 7 | 10 | 7 | 25 | 3 | |
101 to 150 m1 | 10 | 7 | 16 | 5 | 35 | 2 | |
| 1This cable length is maximum permitted length, and must not be exceeded. Installation method=cables on raceway or non-drilled tablet/Permitted drop in voltage=5%/Multi-core conductors/Cable type PVC 70°C (e.g. HO7RNF)/Ambient temperature=86° F (30° C). | |||||||
ON/OFF Switch
ON/OFF switch (A) controls ignition system.
ON Position:
Ignition circuit is switched on. Engine can be started.
OFF Position:
Ignition circuit is switched off. Engine will not run.
Outlet Selector Switch (T)
120/240 Position:
Enables twist lock 30 amp outlet, disables 120V outlets.
120 Position:
Disables twist lock 30 amp outlet, enables
120V outlets.
Stopping
- Disconnect plugs from electrical sockets (B & D) to let engine run under no load for 1 or 2 minutes.
- Set ON/OFF switch (A) to OFF position: generator stops.
- Close fuel valve (R).
High Altitude Operation
If this engine is operated at an altitude of 4000 ft. (1219 meters) or above, a high altitude carburetor kit is required. To obtain high altitude carburetor kit information or to find a Kohler authorized dealer, visit KohlerEngines.com or call 1-800-544-2444 (U.S. and Canada).
This engine should be operated in its original configuration below 4000 ft. (1219 meters).
Operating this engine with the wrong engine configuration at a given altitude may increase its emissions, decrease fuel efficiency and performance, and result in damage to the engine.
Engine Speed
NOTE: Do not tamper with governor setting to increase maximum engine speed.
Overspeed is hazardous and will void warranty.
Maintenance Instructions
![]() | |
| Accidental Starts can cause severe injury or death. Disconnect and ground spark plug lead(s) before servicing. | |
| Before working on engine or equipment, disable engine as follows: 1) Disconnect spark plug lead(s). 2) Disconnect negative (–) battery cable from battery. | |
Maintenance Schedule
After first 5 Hours
● Change oil.
Every 100 Hours or Annually1
● Clean low-profile air cleaner element (P).
● Change oil.
● Clean cooling areas.
Every 200 Hours2
● Check and adjust valve clearance when engine is cold.
Every 300 Hours
● Replace low-profile air cleaner element (P).
● Check fuel filter (S) and clean or replace if needed.
Every 500 Hours or Annually1
● Replace spark plug (K) and set gap.
1Perform these procedures more frequently under severe, dusty, dirty conditions.
2Have a Kohler portable dealer perform this service.
Oil Recommendations
We recommend use of Kohler oils for best performance. Other high-quality detergent oils (including synthetic) of API (American Petroleum Institute) service class SJ or higher are acceptable. Select viscosity based on air temperature at time of operation as shown in table below.
Check Oil Level
NOTE: To prevent extensive engine wear or damage, never run engine with oil level below or above operating range indicator on dipstick (I).
Ensure engine is cool. Clean oil fill plug/dipstick
(I) areas of any debris.
- Remove oil fill plug/dipstick (I); wipe oil off.
- Remove oil fill plug/dipstick (I); check oil level. Level should be at top of indicator on dipstick (I).
- If oil is low, add oil up to point of overflowing filler neck.
- Reinstall oil fill plug/dipstick (I) and tighten securely.
Change Oil
Change oil while engine is warm.
- Clean area around oil fill plug/dipstick (I) and oil drain plug (H).
- Remove oil drain plug (H) and oil fill plug/ dipstick (I). Drain oil completely.
- Reinstall oil drain plug (H). Torque to 13 ft. lb. (17.6 N·m).
- Fill crankcase with new oil, up to point of overflowing filler neck.
- Reinstall oil fill plug/dipstick (I) and tighten securely.
- Dispose of used oil in accordance with local ordinances.
Oil Sentry™ (if equipped)
This switch is designed to prevent engine from starting in a low oil or no oil condition. Oil Sentry™ may not shut down a running engine before damage occurs.
Fuel Recommendations
![]() | |
| Explosive Fuel can cause fires and severe burns. Do not fill fuel tank while engine is hot or running. | |
| Gasoline is extremely flammable and its vapors can explode if ignited. Never refuel while smoking or in vicinity of an open flame. Store gasoline only in approved containers, in well ventilated, unoccupied buildings, away from sparks or flames. Spilled fuel could ignite if it comes in contact with hot parts or sparks from ignition. Never use gasoline as a cleaning agent. | |
NOTE: E15, E20 and E85 are NOT approved and should NOT be used; effects of old, stale or contaminated fuel are not warrantable.
Fuel must meet these requirements:
- Clean, fresh, unleaded gasoline.
- Octane rating of 86(R+M)/2 or higher.
- Research Octane Number (RON) 91 octane minimum.
- Gasoline up to 10% ethyl alcohol, 90% unleaded is acceptable.
- Methyl Tertiary Butyl Ether (MTBE) and unleaded gasoline blend (max 15% MTBE by volume) are approved.
- Do not add oil to gasoline.
- Do not overfill fuel tank.
- Do not use gasoline older than 30 days.
Fuel Level
![]() | |
| Explosive Fuel can cause fires and severe burns. Do not fill fuel tank while engine is hot or running. | |
| Gasoline is extremely flammable and its vapors can explode if ignited. Store gasoline only in approved containers, in well ventilated, unoccupied buildings, away from sparks or flames. Spilled fuel could ignite if it comes in contact with hot parts or sparks from ignition. Never use gasoline as a cleaning agent. | |
Visually check level of fuel. If necessary, fill up.
- Unscrew fuel tank cap (F).
- Fill tank until fuel gauge shows F, using funnel and taking care not to spill any fuel.
- Screw down fuel tank cap (F) tightly.
Fuel Line
Low permeation fuel line must be installed on carbureted Kohler Co. engines to maintain EPA and CARB regulatory compliance.
Fuel Filter
- Open fuel tank cap (F).
- Remove fuel filter (S) from tank neck.
- Clean fuel filter (S) with a non-flammable solvent or solvent with a high flash point. Dry it fully. Replace as necessary.
- Reinstall fuel filter (S).
- Reinstall fuel tank cap (F).
Sediment Bowl
- Close fuel valve (R) and remove cover screws and nuts.
- Remove cover.
- Remove sediment bowl.
- Clean sediment bowl with a non-flammable solvent or solvent with a high flash point. Dry it fully.
- Check sediment bowl cover and gasket. Replace them if they are damaged.
- Reinstall sediment bowl.
- Open tank fuel valve (R).
- Wipe off any trace of fuel with a clean cloth and check for any leakage.
Spark Plugs
![]() | |
| Electrical Shock can cause injury. Do not touch wires while generator is running. | |
| Never operate generator in rain or snow. Never touch generator with wet hands or electrical shock may occur. | |
Clean out spark plug recess. Remove spark plug (K) and replace.
- Check gap using wire feeler gauge. Adjust gap, see specification table for adjustment.
- Install spark plug (K) into cylinder head.
- Torque spark plug (K) to 20 ft. lb. (27 N·m).
Air Cleaner
NOTE: Operating engine with loose or damaged air cleaner components could cause premature wear and failure. Replace all bent or damaged components.
- Remove screw (N) and air cleaner cover (O).
- Remove foam element (P) from air cleaner base (Q).
- Wash foam element (P) in warm water with detergent. Rinse and allow to air dry.
- Lightly oil foam element (P) with new engine oil; squeeze out excess oil.
- Reinstall foam element (P) into air cleaner base (Q).
- Reinstall air cleaner cover (O) and secure with screw (N).
Breather Tube
Ensure both ends of breather tube are properly connected.
![]() | |
| Hot Parts can cause severe burns. Do not touch generator while operating or just after stopping. | |
| Never operate generator with heat shields or guards removed. Do not modify generator. Place generator in a place where pedestrians or children are not likely to touch generator. Be sure to carry generator only by its carrying handles. | |
Proper cooling is essential. To prevent over heating, ensure air cooling inlet and outlet areas are clean and unobstructed. Avoid spraying water at wiring harness or any electrical components. Refer to Maintenance Schedule.
Ground Terminal
Ground terminal (E) connects earth line for prevention of electric shock. When electric device is grounded, be sure to ground generator also. Connect generator to ground: Attach a 6 AWG (10 mm 2 ) copper wire to generator’s ground connection and to a galvanized steel grounding rod (not provided) driven 3.3 ft. (1 m) into ground.
Connecting Alternating Current (AC)
NOTE: Ensure all electric devices including lines and plug connection are in good condition before connection to generator.
NOTE: Ensure total load is within generator rated output.
NOTE: Ensure receptacle load current is within receptacle rated current.
- Start engine.
- Plug into AC receptacle (B or D).
- Turn on any electric devices.
AC Rated Power
AC rated power is maximum amount of power generator can support.
AC Surge Power
AC surge power is additional power generator momentarily produces to aid in starting of electrical devices requiring power above generator’s rated power requirements.
Overload (Capacity of Generator)
Never exceed rated load of generator (in Amps and/or Watts) when it is running continuously. See specifications table for rated outputs.
Before connecting and operating generator, calculate electrical power required by electric appliances (in Watts). This electrical power rating is usually found on manufacturer’s plate on bulbs, electrical appliances, motors, etc. Sum total of power required by these appliances should not exceed nominal power rating of generator.
Circuit protectors (C) will stop power to protected receptacles (B & D) when an overload of a connected electrical device is detected or AC output voltage rises to protect generator and any connected electric devices. When overload occurs and power generation stops, proceed as follows:
- Turn off any connected electric devices and stop generator.
- Reduce total wattage of connected electric devices within application range.
- Check for blockages in cooling air inlet and outlet areas and around control unit. If any blockages are found, remove them.
- After checking, restart generator.
Clean Generating Set
- Remove all dust and debris from around exhaust.
- Clean generating set, particularly alternator and engine air inlets and outlets, using a cloth and brush.
- Check general condition of generating set and replace any faulty parts.
Transporting Generator
Before transporting generator, check that bolts are correctly tightened, close fuel valve (R) and disconnect battery. Generator should be transported in its normal operating position; never lay it on its side. Ensure where generator is to be stored or used is carefully prepared beforehand.
Repairs/Service Parts
We recommend that you use a Kohler portable dealer for all maintenance, service, and replacement parts for engine. To find a Kohler portable dealer visit KohlerPower.com or call 1-800-544-2444 (U.S. and Canada).
Storage
Long-term storage of your generator will require some preventative procedures to guard against deterioration.
NOTE: Do not connect with any electrical devices (unloaded operation).
If engine will be out of service for 2 months or more follow procedure below.
- Add Kohler PRO Series fuel treatment or equivalent to fuel tank. Run engine 2-3 minutes to get stabilized fuel into fuel system (failures due to untreated fuel are not warrantable).
- Change oil while engine is still warm from operation. Remove spark plug (K) and pour about 1 oz. of engine oil into cylinder(s).
Replace spark plug (K) and crank engine slowly to distribute oil. - Clean generator.
- Store generator in a dry, well-ventilated place, with cover placed over it. When covering generator, be sure to do so only after engine and muffler/shield have
completely cooled down. Generator must remain in same position as normal operation. - Store generating set in a clean and dry place.
Troubleshooting
Do not attempt to service or replace major engine components, or any items that require special timing or adjustment procedures. This work should be performed by a Kohler portable dealer.
| Possible Cause | Problem | |||
| Engine Not Starting/ Running Abnormally | Engine Stopped | No Electric Current | Tripping of Circuit Breaker | |
| Load connected to generating set during start-up | ||||
| Start and Stop control ON or OFF | ||||
| Oil level too low | ||||
| Unsuitable fuel | ||||
| Fuel level too low | ||||
| Fuel valves closed | ||||
| Clogged fuel filter | ||||
| Clogged fuel strainer | ||||
| Clogged air filter | ||||
| Faulty spark plug | ||||
| Fuel supply blocked or leaking | ||||
| Blocked ventilation inlets | ||||
| Circuit protectors not actuated | ||||
| Faulty appliance supply cord | ||||
| Faulty electrical sockets | ||||
| Faulty alternator | ||||
| Device connected or faulty cord | ||||
| Overload | ||||
| Specifications | |
| Model | GEN 5.0 |
| Overall Dimensions (L x W x H) | 26.4 in. (670 mm) 21.5 in. (545 mm) 21.1 in. (535 mm) |
| Dry Weight | 190 lbs. (86.2 kg) |
| AC Rated Power | 4300 Watt (120 Volts x 35.8 Amps) (240 Volts x 18.8 Amps) |
| AC Surge Power | 5000 Watt (120 Volts x 41.7 Amps) (240 Volts x 20.8 Amps) |
| Engine Specifications | |
| Bore | 3.1 in. (78 mm) |
| Stroke | 2.3 in. (58 mm) |
| Displacement | 16.9 cu. in. (277 cc) |
| Oil Capacity (Refill) | 1.4 U.S. qt. (1.3 L) |
| Maximum Angle of Operation (@ full oil level)* | 25° |
| Run Time | 16 hours (1/2 load) |
| Fuel | See fuel section |
| Fuel Tank Capacity | 8 gal. (30.2 L) |
| Spark Plug Gap | 0.03 in. (0.76 mm) |
*Exceeding maximum angle of operation may cause engine damage from insufficient lubrication.
Additional specification information can be found at KohlerPower.com.
Exhaust Emission Control System for model GEN 5.0 is EM for U.S. EPA, California, and Europe.
Accessory System
Accessory kits available for models in table below which includes custom kits consisting of legs, handles, wheels, lifting kits — whatever you want, any way you want it.
| Accessory System | PRO 5.2 / 5.2 E | PRO 7.5 / 7.5 E | GEN 5.0 | WP 2.0 | WP 3.0 | TP 3.0 |
| Wheel Kit | ● | ● | ● | ● | ● | ● |
| Leg Kit | ● | ● | ● | ● | ● | ● |
| Lifting Kit | ● | ● | ● | ● | ● | ● |
| Wheelbarrow Handle Kit | ● | ● | ● | ● | ● | ● |
| Cord Management Kit | ● | ● | ● | ● | ● | ● |
| Hand Truck Handle Kit | ● | ● | ● | ● | ● | ● |
| Isolator Kit | ● | ● | ● | ● | ● | ● |
Install Wheel Kit
Wheel Kit
Wheel Kit (Wheels and Legs)
Wheel Kit (4 Wheels)
NOTE: Tilt unit so fuel tank cap is upward to ensure no fuel leakage.
NOTE: A clamping device or an assistant to hold assembly while installing kit will make process easier.
Wheel kit includes 2 wheels and mounting hardware to be installed opposite of engine side. Wheel kit and leg kit are designed to be installed together. 2 wheel kits can be combined for a 4 wheel configuration.
- Place 4 screws into holes of frame.
- Bring bracket of wheel under frame and align screws with bracket holes.
- Thread nuts to screws. Torque to 221 in. lb. (25 N·m).
Install Leg Kit
Leg Kit
NOTE: Tilt unit so fuel tank cap is upward to ensure no fuel leakage.
NOTE: A clamping device or an assistant to hold assembly while installing kit will make process easier.
Leg kit includes 2 legs and mounting hardware.
Leg kit and wheel kit are designed to be installed together. 2 leg kits can be combined for a 4 legged configuration.
- Place 4 screws into holes of frame.
- Bring leg under frame and align screws with leg holes.
- Thread nuts to screws. Torque to 221 in. lb. (25 N·m).
Install Wheelbarrow Handle Kit
Wheelbarrow Handle Kit
Wheelbarrow handle kit includes two wheelbarrow handles and mounting hardware.
- Align handle with holes on frame.
- Place washers between handle and frame while installing screw.
- Thread nut to screw. Torque to 4 in. lb. (0.5 N·m).
Install Cord Management Kit
Cord Kit

Cord management kit includes 2 posts and mounting hardware. Cord management kit can be installed anywhere on unit on same side, not across unit.
- Place post sides together onto frame.
- Place 3 nuts into holes in 1 side.
- While holding together, insert screws into other side and thread into nuts. Torque to 221 in. lb. (25 N·m).
Install Lift Kit
Lifting Kit
NOTE: A clamping device or an assistant to hold assembly while installing kit will make process easier.
Lift kit includes lift bar and mounting hardware.
- Align lift bar holes under holes of frame.
- While holding in this position, install screws.
- Thread nuts to screws. Torque to 221 in. lb. (25 N·m).
Install Hand Truck Handle Kit
Hand Truck Handle Kit
NOTE: A clamping device or an assistant to hold assembly while installing kit will make process easier.
Hand truck handle kit includes hand truck handle and mounting hardware.
- Position hand truck handle on unit aligning frame holes and handle holes.
- Place washer between handle and frame.
- While holding in this position, install screws.
- Thread nuts to screws. Torque to 4 in. lb. (0.5 N·m).
- Install release knob through frame. Place washer and hitch pin on inside of assembly.
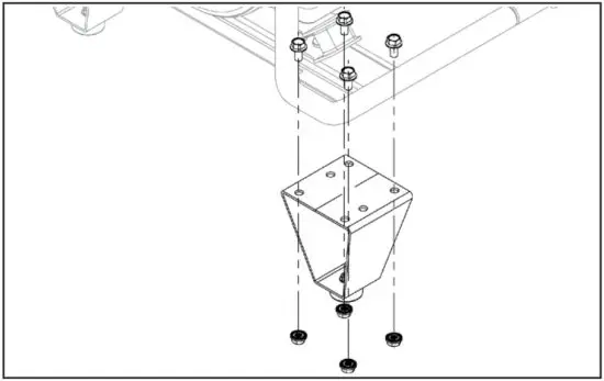
Install Isolator Kit
Isolator Kit
Isolator Kit includes 4 isolators and mounting hardware.
- Align isolator holes under holes of frame.
- While holding in this position, install screws.
- Thread nuts to screws. Torque to 221 in. lb. (25 N·m).





NEVER use inside a home or garage, EVEN IF doors and windows are open.
Only use OUTSIDE and far away from windows, doors, and vents.


















