
Safety Information
Operating instruction manual
Please read this operating instruction manual thoroughly.
Intended use
The telephone is suitable for telephoning within a public telephone network system. Any other use is considered unintended use.
Unauthorised modification or reconstruction is not permitted. Under no
circumstances open the device or complete any repair work yourself.
Installation location
Prevent excessive exposure to smoke, dust, vibration, chemicals, moisture, heat and direct sunlight.
Hearing aid compatible
Using the premium receiver, the telephone is perfectly adapted for hearing aids and is compatible with most commercially available hearing aids. However, due to the wide range of hearing aids available, there is no guarantee that the telephone will function problem-free with every model.
Attention: This telephone is capable of producing very high volume levels when the amplifier is switched on and the volume control is set to maximum. Extreme caution should be taken if the handset is shared by users with normal hearing and others with impaired hearing.
Disposal
In order to dispose of your device, take it to a collection point provided by your local public waste authorities (e.g. recycling centre). According to laws on the disposal of electronic and electrical devices, owners are obliged to dispose of old electronic and electrical devices in a separate waste container.
The adjacent symbol indicates that the device must not be disposed of in normal domestic waste!
Packaging materials must be disposed of according to local regulations.
Overview of Your Phone

- Call back button
- One−touch dialling button M1
- Delete / Store
- One−touch dialling button M2
- Scroll upwards
- Quick dial button
- Scroll downwards
- Calls list (CID) / Cancel
- New call indication (see page 16)
- Phone book
- Save number button
- R button
- Redial button
- LED, telephone is ringing
- LED, handsfree mode
- Handsfree mode button
- Receiver boost button
- Volume boost on LED
- Control knob, receiver volume(hidden under handset)
- Ring volume slide control
- Equalizer slide control
- Handsfree volume slide control
Getting started
Important: please make sure you’ve read the safety information before you set up your phone system.
Important: Your phone can produce very high sound when Boost is switched on. Please take care if the handset is used by others.
Check box contents
You should have:
- 1 corded phone base
- 1 handset
- 1 coiled cord for handset
- 2 telephone line connector cables
- 1 wall−mounting bracket
- 2 telephone line plug converters
- 1 user guide
Important:
- Use only the telephone cable supplied with your telephone otherwise your phone may not work.

Connecting the telephone
- Connect the telephone as illustrated in the diagram. Only use the telephone cable supplied because the equipment may not function if another telephone cable is used.

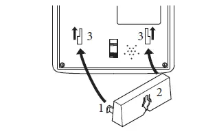
Wall mounting
The telephone can also be installed on a wall.
You require two screws in order to fix the telephone on a wall.
Feed the guide tabs (1) on the wall−mounting bracket (2) in the slots (3)
on the rear side of the telephone. Slide the wall bracket (2) 10 mm upwards until it audibly snaps into place.
Warning: Ensure that there are no cables or pipes etc. under the surface of the wall where you want to drill the holes.
Drill two holes whose distance apart corresponds to the bracket to be used, insert the screws and allow them to project 5 mm from the wall.
Position the telephone on the bracket, fit the screws in the slots and slide the telephone downwards a little.
Turn the receiver hook (4) in the receiver cradle 180° so that the receiver can be hooked in.

Display icons
Display of the time.
Display of the date.
The phone book is open.
The calls list is open.
The entry in the calls list is new.
Indicates a repeat call.
Position number in the call list.
There are XX entries in the call list.
There are XX new entries in the call list.
First use
After having connected the phone to the telephone line for the first time, you will be asked for some settings.
If this settings procedure is aborted, e. g. by lifting the handset, you can do these settings later at any time (see page 17).
In the display ENGLISH is flashing (setting on delivery).
Use
to select the desired language.
Press C to confirm the setting.
The display shows LCD CONTRAST.
Use
to change the contrast (1 2 3 4).
Press C to confirm the setting.
The display shows SET TIME/DATE with the “hours“ flashing.
Set the hours using
and press C .
Set the minutes using
and press C .
Set the day using
and press C .
Set the month using
and press C .
The display shows SETPAUSETIME flashing.
Use or to select the pause time of 1…4 seconds (if necessary).
You will only have to do this when operating your phone on a PABX.
For more information please refer to page 18. Press C .
The display shows FLASHTIME flashing.
Use
to select the flash time (if necessary). In most situations
100 ms (setting on delivery) should be selected. You won’t have to change anything.
Simply press C .
Your telephone is ready to use and shows the idle display
You can change this settings later at any time. For more information please refer to page 17.
Making and receiving calls
Dialling a telephone number
To start a call you have the following options:
- lift the handset and enter the phone number.
- Enter the phone number and lift the handset. or alternatively

- enter the phone number and press .
- Handsfree mode will be activated and the phone number will be dialled in handsfree mode.
- During a call you can see the call time on the display.
Ending a call
For ending a call you can:
- replace the handset. or alternatively
- press
if the call was made in handsfree mode (the red LED within the handsfree button is on).
Taking a call
Lift the handset or press
.
Activating/deactivating handsfree mode
During a call you are making using the handset.
You can switch to handsfree mode to switch on the loudspeaker by
Press
and then replace the handset.
If you want to continue the call using the handset simply lift the handset. Please note:
- During handsfree mode your speech is transmitted via the microphone on the base. Speak at a distance of not more than 0.5 meters facing the front of the unit.
- High background noise levels can prevent satifactory operation.
Boost the handset earpiece volume
You can boost the handset earpiece volume up to +40 dB.
Press
. The “On“ LED is on.
To switch off the Boost function press
again. Note, when replacing the handset on the cradle the boost function will automatically turn off.
Caution: This telephone is capable of producing very high volume levels
when the amplifier is switched on and the volume control is set to
maximum. Extreme caution should be taken if the handset is to be shared between users with normal hearing and those with hearing impairment.
Setting the handset receiver volume
You can adjust the handset receiver volume using the control knob(19) / (refer to “Overview of Your Phone“).
Setting the handset receiver equalizer
You can adjust the handset receiver tone using the equalizer control (21) while the Boost function is on (refer to “Overview of Your Phone“).
Setting the handsfree volume
You can adjust the handsfree volume using the slide control (22) (refer to “Overview of Your Phone“).
Dialling a telephone number using the redial function
Your telephone stores the last phone number dialled.
- Lift the handset or press
and then press
or alternatively. - Press
and then lift the handset or press 
Calling back missed calls
The telephone stores the numbers of incoming calls in a calls list.
For further information please refer to the chapter „Calls list“ on page 16.
Lift the handset or press and and press . or alternatively
- select the desired entry using and , then lift the handset or press .
Dialling a telephone number from the phone book
For how to create and store phonebook entries please refer to the chapter
“Phone book“ on page 14.
- Lift the handset or press
. Press select the desired entry using and and press
Press OK , - select the desired entry using
and lift the handset press
.
Dialing a telephone number using quick dialing
For how to store quick dial numbers please refer to the chapter “Quick dial“ on page 15.
- Lift the handset or press
. - Press
and then the memory location number (0 … 9). - Press
and then the memory location number (0 … 9). - Lift the handset or press .
One-touch dialing / Emergency call
The one-touch dialing / emergency call buttons can be used to dial an emergency services exchange or persons for assistance. For how to store one-touch / emergency numbers please refer to the chapter “One-touch dialing / emergency call“ on page 16.
- Lift the handset or press
. - Press
the one-touch memory button 
- Press
the one-touch memory button
- Lift the handset or press .
Note: The telephone numbers assigned to the one-touch dialling buttons can not be deleted. When storing new numbers, the existing entries are overwritten.
Phone settings
Ringer volume
You can adjust the ringer volume using the ring volume control (20) (refer to “Overview of Your Phone“).
Phone book
Thirty-two phone numbers can be stored in the phone book together with the associated names.
- Always enter the area access code with the phone numbers so that the telephone can also assign incoming local calls to a phone book entry.
- When the memory capacity of the phone book is used up, the message MEMORY FULL appears when an attempt is made to store another number. To create space, an existing entry must first be deleted.
- The phone book entries are arranged alphabetically. To skip to the required phone book entry directly, enter the first letter of the corresponding entry.
Entering a name
The digit keys are also labelled with letters for the entry of the respective letters.
Pressing the respective key the necessary number of times enables capital letters and digits to be entered.
Enter a space by pressing1 .
Insert a special character with
.
Delete a character by pressing C .
To enter the same letter twice, press the button to enter the letter.
Wait until the cursor skips one place forward. Enter the letter again.
Creating phone book entries
- Press
. - Press
and confirm SAVE? by pressing
. - Enter the telephone number and press
. - Enter the name and press
.
Editing entries in the phone book
- Press
and select an entry using
. - Press
and hold for approx. 3 s and confirm EDIT? by pressing. - Enter the new telephone number if necessary and confirm with
. - Enter the new name if necessary and confirm with
.
Deleting a single entry from the phone book
- Press
and select an entry using
. - Press C . The display shows DELETE?.
- Press and hold C for approx. 4 s. Entry is deleted.
Delete all entries from the phone book
- Press
and select an entry using and . - Press and hold C for approx. 4 s.
The display shows DELETE ALL?.
- Press and hold C for approx. 4 s. again.
Note: To abort a setting without any change press the CID button.
Quick dialing
You can store up to 10 phone numbers so that they can be dialled simply by quick dialling.
Programming quick dial buttons
- Press
. - Enter the telephone number and press
. - Enter the name and press
. - Press the digit key, the quick dialling number should be assigned to.
Note: For dialling a telephone number using the quick dialling feature please refer to page 16.
Note: The phone numbers assigned to the quick dial buttons cannot be deleted. When storing new numbers, the existing entries are overwritten.
One-touch dialling / Emergency call
You can use the buttons M1 and M2 as one-touch dialling buttons resp. as memory buttons for an emergency call. This will be quicker and easier than dialling with the quick dial feature or the phone book.
Storing telephone numbers to the one-touch memory buttons
- Press
. - Enter the telephone number and press
. - Enter the name and press .
- Press
to assign the telephone number to the respective button.
Note: The phone numbers assigned to the one-touch dialling buttons cannot be deleted. When storing new numbers, the existing entries are overwritten.
Calls list
Note: The caller number display function, essential for the calls list, is a supplementary service offered by telephone network providers. Contact your network provider for further information.
If this function is available with your telephone line, the number of the caller and the name, if an entry in the telephone book exists, appears in the display when the phone rings. If the caller has suppressed transmission of his phone number or it is otherwise unavailable, a corresponding message appears in the display. The phone number is not displayed and, as a result, is not stored in the calls list.
The idle display shows, how many entries are in the calls list and how many of them are NEW (not yet seen). A total of 32 call numbers can be stored in the calls list. The flashing red LED indicates new calls in the calls list. This LED will flash as long as there are still new (not read) calls in the calls list.
To stop ashing press repeatedly.
Displaying phone numbers in the calls list
- Press
and select an entry using and
.
Storing numbers from the calls list in the phone book
- Press
and select an entry using and
. - Press and confirm COPY NUMBER? with .
- The number will be copied to the phone book. To enter a name for this number please refer to “Editing entries in the phone book“, page14 .
Deleting calls list number individually
- Press
or and select an entry using and
. - Press C . The display shows DELETE?.
- Press
and hold C for approx. 4 s. The entry is deleted.
Deleting all entries
- Press
and select an entry using
. - Press and hold C for approx. 4 s. The display shows DELETE ALL?.
- Press and hold C for approx. 4 s. again.
To modify the settings
You can modify the settings made when connecting the phone for the very first time (refer to page 9) if necessary or when connecting your phone to a PABX.
- Open the menu by pressing and holding down
for approx. 5 s. - The current setting for the language appears.
- Change the setting using
and press C or simply press C to keep the current setting. - The current setting for the display contrast appears.
- Change the setting using
and press C or simply press C to keep the current setting. - The current setting for date and time appears.
- Change the hours, minutes, day and/or month using
and press C or simply press C to keep the current setting. - The current setting for the pause time appears.
- Change the setting using
and press C or simply press C to keep the current setting. - The current setting for the flash time appears. Change the setting using
and press C or simply press C to keep the current setting.
Flash time – In most situations the flash time of 100 ms should be selected.
In some cases, e. g. when connecting the phone to a PABX, it may be necessary to switch to 270 or 600 ms. For further information please refer to the user guide of the PABX.
Special use
Use on a private branch exchange
If your phone’s on an exchange (e.g. you need to dial 9 to get an outside line), you can transfer calls and use call back by using the button (Recall). You’ll need to check your private exchange manual to find out which timing to use for your exchange.
Insert a dialling pause
If you have to dial a number for an outside line and it takes a while to connect, you can insert a pause so you don’t have to wait to hear the dialling tone.
To insert a dialling pause, simply enter the number (e.g. 9) usually dial for an outside line and then press
. You’ll need to check your private exchange manual to find out which pause time to use for your exchange.
Using additional services
Your phone should be able to support services such as call waiting and conference calls. You’ll need to check with your telephone network provider for further information on these services.
Help and support / Troubleshooting guide
I can’t make phone calls
- Make sure the phone cable is connected properly. If it is, there may be a fault. Please make sure you’re using the phone cable that came with your phone.
There is a hissing or crackling noise in the earpiece. / My internet connection is very slow when I connect the telephone to the line
If you have a broadband internet connection, ensure that you have connected the line cable to the telephone line via a DSL filter.
The display of incoming call numbers is not working
- Check you have this service on your phone line. Please call your network provider.
- The caller may have withheld their phone number.
Maintenance / Guarantee
- Clean the housing surfaces with a soft, fluff-free cloth.
- Never use cleaning agents or solvents.
Guarantee
AMPLICOMMS equipment is produced and tested according to the latest production methods. The implementation of carefully chosen materials and highly developed technologies ensure trouble-free functioning and a long service life. The terms of guarantee do not apply where the cause of equipment malfunction is the fault of the telephone network operator or any interposed private branch extension system. The period of guarantee is 24 months from the date of purchase.
All deficiencies related to material or manufacturing errors within the period of guarantee will be redressed free of charge. Rights to claims under the terms of guarantee are annulled following tampering by the purchaser or third parties. Damage caused as the result of improper handling or op-eration, normal wear and tear, incorrect positioning or storage, improper connection or installation or Acts of God and other external influences
are excluded from the terms of guarantee. In the case of complaints, we reserve the right to repair defect parts, replace them or replace the entire device. Replaced parts or devices become our property. Rights to compensation in the case of damage are excluded where there is no evidence of intent or gross negligence by the manufacturer.
If your device does show signs of a defect within the period of guarantee, please contact the sales outlet where you purchased the AMPLICOMMS
device, producing the purchase receipt as evidence. All claims under the terms of guarantee in accordance with this agreement can only be as-serted at the sales outlet. No claims under the terms of guarantee can be asserted after a period of two years from the date of purchase and hand-over of the product.
Declaration of conformity
Hereby, ATLINKS EUROPE declares that the Corded type Telephone (BigTel 48 Plus) is in compliance with Legislation:
Electromagnetic Compatibility Regulations 2016 (S.I. 2016/ 1091), and Electrical Equipment (Safety) Regulations 2016 (S.I. 2016/ 1101).
To view the complete Declaration of Conformity, please refer to the free download available on our website: www.amplicomms.com
© ATLINKS 2022 – Reproduction prohibited.
The Manufacturer reserves the right to modify the specifications of its products in order to make technical improvements or comply with new regulations.
AMPLICOMMS and ATLINKS are registered trademarks.
www.amplicomms.com
Atlinks Europe
28 Boulevard Belle Rive
92500 RUEIL-MALMAISON
France
Atlinks UK Ltd
3rd Floor, Waverley House
7-12 Noel St.
London W1F 8GQ – UK
BigTel 48 Plus
A/W No.: 10002494 Rev.1 (EN/DA/SWE)
Printed in China





















