
Safety Information
Operating instruction manual
Please read this operating instruction manual thoroughly.
Intended use
The telephone is suitable for telephoning within a public telephone network system. Any other use is considered unintended use. Unauthorised modification or reconstruction is not permitted. Under no circumstances open the device or complete any repair work yourself.
Installation location
Prevent excessive exposure to smoke, dust, vibration, chemicals, moisture, heat and direct sunlight.
Hearing aid compatible
Using the premium receiver, the telephone is perfectly adapted for hearing aids and is compatible with most commercially available hearing aids. However, due to the wide range of hearing aids available, there is no guarantee that the telephone will function problem-free with every model.
Attention: This telephone is capable of producing very high volume levels when the amplifier is switched on and the volume control is set to maximum. Extreme caution should be taken if the handset is shared by users with normal hearing and others with impaired hearing.
Disposal: In order to dispose of your device, take it to a collection point provided by your local public waste authorities (e.g. recycling centre). According to laws on the disposal of electronic and electrical devices, owners are obliged to dispose of old electronic and electrical devices in a separate waste container. The adjacent symbol indicates that the device must not be disposed of in normal domestic waste! Packaging materials must be disposed of according to local regulations.
Overview of Your Phone

- One−touch dialling button
- Quick dial button
- R-button
- Redialling, Dialling pause
- Increase receiver volume +40 dB
- LED, incoming call
- Save number
- Receiver volume knob (hidden under premium receiver)
- “Ringing volume“ slide control
- “Ringing tone“ slide control
- “Sending loudness rating“ SLR slide control
- “Tone“ slide control
- Telephone connection cable socket
Putting the Telephone into Operation
Attention: It is essential to read the Safety Information before starting up.
Check box contents

- 1 Telephone
- 1 Premium receiver
- 1 Helix cable for receiver
- 2 Telephone connection cables
- 1 Wall installation bracket
- 1 User manual
Connecting the base unit
Connect the telephone as illustrated in the diagram. Only use the telephone cable supplied because the equipment may not function if another telephone cable is used.

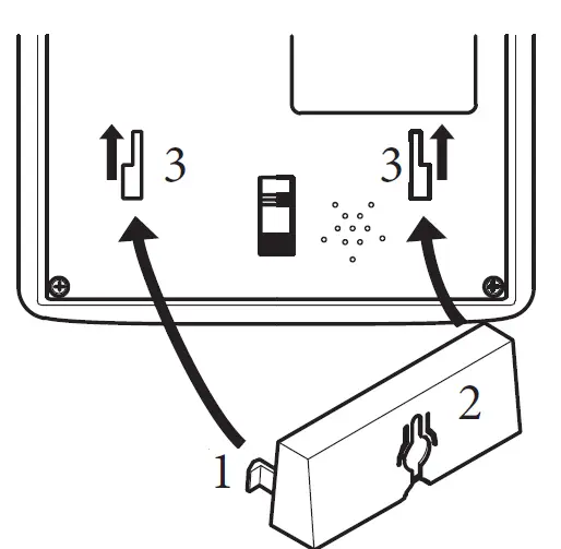
Wall installation
The telephone can also be installed on a wall. You require two screws in order to fix the telephone on a wall. Feed the guide tabs
- on the wall−mounting bracket
- in the slots
- on the rear side of the telephone. Slide the wall bracket (2) 10 mm upwards until it audibly snaps into place.

Warning: Ensure that there are no cables or pipes etc. under the surface of the wall where you want to drill the holes. Make sure that the mounting height is less than 2 meters.
Drill two holes whose distance apart corresponds to the bracket to be used, insert the screws and allow them to project 5 mm from the wall. Position the telephone on the bracket, fit the screws in the slots and slide the telephone downwards a little. Turn the receiver hook (4) in the receiver cradle 180° so that the receiver can be hooked in.
Telephoning
Making a call
- Lift the receiver.
- Enter the phone number (max. 32 digits).
Redialling
Your telephone stores the last phone number dialled. Lift the receiver and press .
One-touch dialling
You can use the one-touch dialling buttons for normal direct dialling or as memory locations for the emergency call function. Be sure to store phone numbers for one-touch dialling first. You can insert photos or symbols under the transparent covers of the 6 one-touch dialling buttons to label them.
NOTE: You cannot delete the phone numbers assigned to the one-touch dialling buttons. The existing phone numbers are overwritten when new numbers are assigned to them.
Removing the covers from the one-touch dialling buttons
Use your thumb and forenger to grip the cover and remove it, as illustrated in the diagram. Place the required label or photo under the cover and replace it on the button.

Saving one-touch dialling numbers

- Lift the receiver.
- Press.
- Enter the phone number (max. 24 digits) and press.
- Press the required one-touch dialling button (M1 – M6).
- Replace the receiver. The entry is saved.
Dialling with the one-touch dialling buttons
- Lift the receiver.
- Press the required one-touch dialling button (M1 – M6).
Quick dialling
It is possible to store 10 phone numbers so that they are dialled simply by pressing two buttons (quick dialling).
NOTE: You cannot delete the phone numbers stored on the quick dial buttons. Existing numbers are overwritten when new phone numbers are stored.
Programming quick dial buttons
Dialling using quick dial buttons
- Lift the receiver.
- Press.
- Enter the required memory location number (0 – 9).
- The phone number stored is automatically dialled.

Increasing the receiver volume to +40 dB
The receiver volume can be increased to +40 dB by pressing the button.
Setting the receiver volume
You can adjust the receiver volume using the rotary knob
Tone control
You can adjust the tone produced in the receiver using the slide control on the right-hand side of the housing. The tone control only works when the 40 dB amplification is activated.
Ringer volume
You can adjust the ringing volume using the slide control on the right hand side of the housing.
Ringing tone
You can adjust the ringing tone using the slide control on the right hand side of the housing. There are 3 ringing tones for selection.
Sending loudness rating
You can increase or reduce the sending loudness rating for the micro-phone in the receiver by means of the slide control on the right-hand side of the housing
PABX / Supplementary Services
R button on private branch exchanges
If the telephone is connected to a private branch exchange, functions such as transferring calls and automatic call back can be used via the R button. Please refer to the manual provided with your private branch exchange. The sales outlet where you purchased the exchange can provide information as to whether the telephone will work properly with the exchange.
Dialling pause
When using private branch exchanges, it is necessary to dial an access code to obtain the dialling tone for an outside line. When using some older private branch exchanges, it takes a little time before the dialling tone becomes audible. In the case of such private branch exchanges, a dialling pause can be inserted after the number for an outside line in order to continue dialling directly without having to wait for the dialling tone.
Insert a dialling pause:
Press. After dialling the number for the outside line, the telephone waits approx. 3 seconds before dialling the actual phone number.
R-button and supplementary services
Your telephone supports supplementary services provided by your telephone network provider, such as brokering, call waiting and conference facilities.These supplementary services can be used by implementing the R button. Contact your telephone network provider with regard to enabling supplementary services.
Setting the Flash time
Set the required Flash time using the sliding switch located on the underside of the telephone. You can select between 100 ms and 300 ms.
In Case of Problems
Service Hotline Should problems arise with the telephone, please refer to the following information first. In the case of technical problems, please contact our service hotline. The number of our service hotline can be found on our web site: www.amplicomms.com In the case of claims under the terms of guarantee, please contact your sales outlet. There is a 2 year period of guarantee.
No telephone calls possible
The telephone line is not connected properly or is defective. Only use the telephone connection cable supplied.
Maintenance / Guarantee
- Clean the housing surfaces with a soft, fluff-free cloth.
- Never use cleaning agents or solvents.
Guarantee
AMPLICOMMS equipment is produced and tested according to the latest production methods. The implementation of carefully chosen materials and highly developed technologies ensure trouble-free functioning and a long service life. The terms of guarantee do not apply where the cause of equipment malfunction is the fault of the telephone network operator or any interposed private branch extension system. The terms of guarantee do not apply to the batteries or power packs used in the products. The period of guarantee is 24 months from the date of purchase. All deficiencies related to material or manufacturing errors within the period of guarantee will be redressed free of charge. Rights to claims under the terms of guarantee are annulled following tampering by the purchaser or third parties. Damage caused as the result of improper handling or operation, normal wear and tear, incorrect positioning or storage, improper connection or installation or Acts of God and other external influences are excluded from the terms of guarantee. In the case of complaints, we reserve the right to repair defect parts, replace them or replace the entire device. Replaced parts or devices become our property. Rights to compensation in the case of damage are excluded where there is no evidence of intent or gross negligence by the manufacturer. If your device does show signs of a defect within the period of guarantee, please contact the sales outlet where you purchased the AMPLICOMMS device, producing the purchase receipt as evidence. All claims under the terms of guarantee in accordance with this agreement can only be asserted at the sales outlet. No claims under the terms of guarantee can be asserted after a period of two years from the date of purchase and hand-over of the product.
Declaration of Conformity
Hereby, ATLINKS EUROPE declares that the Corded type Telephone (BigTel 40 Plus) is in compliance with Legislation: Electromagnetic Compatibility Regulations 2016 (S.I. 2016/ 1091), and Electrical Equipment (Safety) Regulations 2016 (S.I. 2016/ 1101). To view the complete Declaration of Conformity, please refer to the free download available on our website: www.amplicomms.com
Telephoning



















