SERENE UA-45 Universal Phone Amplifier
Thank you for selecting the UA-45 phone amplifier. This unique amplifier is compatible with virtually any modular connected phone system. It enhances the clarity and increases incoming volume (up to 170 times) for louder and clearer conversations. UA-45 comes with these items:

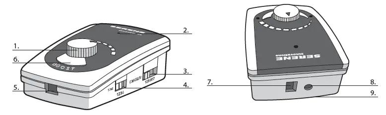
Feature Identification

- Rotary volume
- ON / OFF Indicator
- Compatibility Switch
- Tone Cont rol Switch
- Handset Jack
- Boost Button and LED
- Jack to phone
- Jack for optional AC adapter
- Battery cover
IMPORTANT SAFETY INSTRUCTIONS
WARNING – When using telephone equipment or electric appliances, basic precautions should always be followed to reduce the risk of fire, electrical shock and inju ry to persons, including the following:
- Read all the instructions before using the appliance.
- To reduce the risk of injury, close supervision is necessary when an appliance is used near children.
- Do not make contact with moving pa rts or any exposed metal surface.
- Only use attachments recommended or sold by the manufacturer.
- Do not use outdoors. Do not use near water, for example, near a bath tub, wash bowl, kitchen sink or laundry tub, in a wet basement or near a swimming pool.
- To disconnect, turn all controls to the off position, then remove plug from outlet.
- Do not unplug by pulling on co rd. To unplug, grasp the plug, not the cord.
- Unplug from outlet when not in use and before servicing or cleaning.
- Do not operate any appliance with a damaged cord or plug, or after the appliance malfunctions or is dropped or damaged in any manner. Retu rn appliance to the nearest authorized service facility for examination, repair, or electrical or mechanical adjustment.
- Use only the power cord and batteries indicated in the manual. Do not dispose of batteries in fi re. They may explode. Check local codes for possible special disposal instructions.
- Plug any power adapter to the socket outlet that near the equipment and should be easily accessible.
- Avoid using any telephone product during an electrical storm. There may be a remote risk of electric shock from lightning.
- Do not use the telephone to report a gas leak in the vicinity of the leak.
Installation & Operation
- Install a 9-volt battery (not included) and connect the UA-45 to your telephone handset as shown. Use only the provided “short cord” to connect UA-45 to the phone base. (Note: Ignore the ON /OFF indicator while doing any switch setting. It is not relevant at this time.) For your safety, always disconnect UA-45 from the phone base before replacing its battery. Use a coin to pry open the battery door.

- Set Volume control to its mid-point. Set Tone Control Switch to Position 2.

- Setting the Compatibility Switch: There are 7 positions on this switch. Positions 1 to 6 are for compatibility setting use. Position 7 is a “by-pass” position and o ffers no amplification and should only be used in case of emergency there is a total power outage.
- A Set Compatibility switch to Position 1 (Note: This is the most popular setting and is used by most phones. Igno re ON / OFF indicator status while setting this switch. It is n ot relevant at this time.)
- B. Lift up the handset and verify you can hear a clear dial tone.
- C. If there is no clear dial tone, hang up the handset and move the Compatibility switch to the next position and repeat Step B.
- D. If you do get a clear dial tone, verify the dial tone loudness can be changed by rotating the volume control. If there is change in dial tone loudness, go to Step F.
- E. If the dial tone loudness can not be changed by rotating the volume control, hang-up the handset and move the Compatibility switch over to the next position. Repeat Step B.
- F. Use the telephone keypad to make a call and verify you can hear each other.
- G. If you can hear each other, then the present Compatibility switch setting is the cor rect one and you are done. Reco rd this switch setting for futu re reference. Go to Step 4.
- H. If not, try the next Compatibility switch position until you can hear each other clearly.
(Note: Feel free to experiment with any switching setting.)
- While on the phone, try different Tone Control settings to find the one with the best incoming sound clarity. Lower the volume if you notice a squeal ing sound in the handset. Keep this setting for all future calls. You do not need to change this tone setting again. Record this tone setting for future reference.
- While talking on the phone, verify you can vary the handset volume by rotating the volume cont rol on the amplifier. (Caution: Lower the volume control if you notice there is a squeal sound in the handset).

- Press and hold the BOOST button down. Verify the incoming voice becomes louder and the BOOST LED is on. You must release this button when talking because your voice is muted if this button is held down.

- The ON / OFF indicator light should be on while the phone is in use. It will go o ff in 8-15 seconds after going on-hook (or if there is no sound / voice for 8-15 seconds).
- During normal usage, a 9-volt alkaline battery may last 6-12 months. Please replace the battery if the ON / OFF indicator becomes dim or if the receiver sound is disto rted.
- An optional 9-volt AC adapter (not included) may be installed a t this time. This adapter p rovides normal operating power while the batte ry serves as a back-up in case of power outage. The batte ry should be changed once eve ry two years or sooner if you notice the ON / OFF indicator failed to come on during power outage.

Specifications
- Power source 9 volt alkaline battery (Not Included)
- Battery consumption 10 mA typical; automatic shut-off if there is no voice
- Battery life 6-12 months depending on usage
- Amplification without Boost 30 dB
- Amplification with Boost 45 dB Auto shut battery) 8-15 seconds if no sound or voice
- Compatibility switch (6 positions) + a “by-pass” position
- Indicators ON / OF F, and BOOST
- Controls Volume, BOOS T, Tone Control, Compatibility
- Optional AC adapter 9 vdc. 200 mA (not provided)
- Operating temperature 0 to 45 degree C
- Storage temperature -20 to 50 degree C
Questions?
- ON / OFF indicator is dim or does not turn ON: Replace the battery.
- Can not hear dial tone or can not hear each other: Make sure the Compatibility switch is at the proper setting. If necessary, repeat A to D of installation Step 3 above.
- There is a loud squealing sound in my handset: The volume or tone is set too high, lower volume or tone setting to stop the noise.
Warranty Service Information
UA-45 comes with one-year limited warranty. We warrant during this warranty period, from the date of purchase, to the original consumer, UA-45 to be free f rom defects in materials and workmanship under intended home use. In the event that UA-45 fails to function properly within one year of original purchase due to defects in materials or workmanship, return the unit (f reight prepaid) with proof of purchase (sales receipt or packing slip, no exceptions) to Serene Innovations. Serene Innovations will either repair or replace the unit (with a refurbished unit or unit of equal condition) and return it to you (using UPS/USPS ground shipping) at no cost to you if the unit is returned within 30 days of purchase. If the unit is returned after 30days of purchase but within the warranty period, the re will be a warranty handling charge of US $9.95 for each return.
This warranty does not apply to any product that has been accidentally damaged, abused, misused or negligent, used on electrical frequency or voltage other than marked on product and/or described in manual. Defects or errors caused by unauthorized alterations, repairs, and/or tampering are also not covered by this warranty. This Warranty gives you specific legal rights, and you may also have o ther legal rights that va ry from states to states. If a defect covered by this warranty should occur, promptly contact a Customer Care Representative by phone or log onto ww w.se reneinnovations.com to obtain a Return Authorization Number (RAN) and shipping instructions before shipping the product tous. Any shipment without a RAN will not be accepted and will be returned to you at your expense. Any authorized returned product must be accompanied with proof of purchase and a brief explanation of the problem. For out of warranty repairs and service, please contact our Customer Care Department for directions.
FCC
This equipment complies with Part 68 of the FCC Rules. On the equipment is a label that contains, among other information, the FCC registration number and ringer equivalence number (REN) for thi s equipment. If requested; this information must be provided to your telephone company This equipment uses the following Universal Service O rder Codes (“USOC”) jacks: RJ-11. Connection to the telephone network should be made by using standard modular telephone jack type RJ11. The REN is useful to determine the number of devices you may connect to your telephone line and still have all of those devices ring when your telephone number is called. In most, but not all areas, the sum of the RENs of all devices connected to one line should not exceed five(5.0). To be ce rtain of the number of devices you may connect to your line, as determined by the REN, you should contact your local telephone company to dete rmine the maximum REN for your calling a rea. If your telephone equipment causes a rm to the telephone network, the telephone company may discontinue your service temporarily.
If possible, they will notify you in advance. But if advance notice is not practical, you will be notified as soon as possible. You will be informed of your right to file a complaint with the FCC. Your telephone company may make changes in its facilities, equipment, operations or procedures that could affect the proper functioning of your equipment. If they do, you will be notified in advance to give you an opportunity to maintain uninterrupted telephone service. In the event this equipment should fail to operate properly, disconnect the unit from the telephone line. Try using another FCC app roved telephone in the same telephone jack. If the trouble persists, call the telephone company repair service bureau. If the trouble does not persist and appears to be with this unit, disconnect the unit f rom the telephone line and discontinue use of the unit until it is repaired. For repair or warranty information, please contact Serene Innovations, Inc. at 562- 407 5400. Please note that the telephone company may ask that you disconnect this equipment from the telephone network until the problem has been corrected or until you’re sure that the equipment is not malfunctioning. There a re no user serviceable pa rts in this equipment.
This equipment may not be used on coin service provided by the telephone company. Connection to party lines is subject to state tariffs. Contact the state public utility commission or public service commission for information. If your home has specialty wired alarm equipment connected to the telephone line, ensure the installation of this equipment does not disable your ala rm equipment. If you have questions about what will disable alarm equipment, consult your telephone company or a qualified installer. Modification: Any modification not expressly approved by the manufacturer of this device could void the user ’s authority to operate the device.
NOTICE: The Industry Canada label identifies certified equipment. This certification means that the equipment meets telecommunications network protective, operational and safety requirements as prescribed in the appropriate Terminal Equipment Technical Requirements document(s). The Department does not guarantee the equipment will operate to the user ’s satisfaction. Before installing this equipment, users should ensure that it is permissible to be connected to the facilities of the local telecommunications company. The equipment must also be installed using an acceptable method of connection. The customer should be aware that compliance with the above conditions may not prevent degradation of service in some situations. Repairs to certified equipment should be coordinated by a representative designated by the supplie r. Any repairs or alterations made by the user to this equipment, or equipment malfunctions, may give the telecommunications company cause to request the user to disconnect the equipment. Users should ensure for their own protection that the electrical ground connections of the power utility, telephone lines and internal metallic water pipe system, if p resent, a reconnected together. This precaution may be particularly important in rural areas.
Caution: Users should not attempt to make such connections them selves, but should contact the appropriate electric inspections authority, or electrician, as appropriate. The REN for this amplified telephone as stated on the IC regulatory label located on the bottom of the product is REN # 0.9B
NOTICE: The Ringer Equivalence Number (REN) assigned to each terminal device provides an indication of the maximum number of the rminals allowed to be connected to a telephone interface. The termination on an interface may consist of any combination of devices subject only to the requirement that the sum of the Ringer Equivalence Numbers of all the devices does not exceed 5.



















