Velleman CAMSET33 2-Channel Video Security Door Phone

Introduction
Thank you for buying the CAMSET33. Read this manual carefully before bringing the device into service. This CAMSET33 consists of one indoor unit with monitor and one outdoor unit with camera, with which you can see visitors and converse with them from inside your home, without having to open your entrance door.
Generalities & Installation Tips
- Activation of units
When the call button of the outside camera is pressed, the indoor unit’s chime rings and the visitor’s picture appears on the indoor unit’s monitor. When you’ve visually identified the visitor, and you wish to converse with him/her, lift the handset and converse. The unit will remain activated for approximately 150 seconds before it automatically powers off. To re-activate for continued conversation push the “ON/OFF” button. - Activation of outside unit from inside unit
Press the ‘ON/OFF’ button of the indoor unit at any time and the outdoor camera will be activated and show the outside view. - Interphone
When 2 or more monitors are installed, press the interphone button (6) to communicate with the other monitor(s). The amber LED lights up. - Working time
- Call time: approximately 30 seconds: the picture automatically disappears if the indoor unit is not answered within approximately 30 seconds after the call button of the outdoor unit is pressed.
- Talk time: approximately 150 seconds: when the indoor unit is picked up, there is approximately 150 seconds of time available before the units automatically shut down.
- Monitor time : approximately 30 seconds: when outside camera is activated from inside, there is approximately 30 seconds of viewing time before unit automatically shuts down.
- Door open function
An electric DC door lock has to be purchased separately. The indoor unit can be wired to activate the door opener. - Installation location
Carefully select a site to install the outdoor unit, as it may be damaged by direct rainfall, strong vibrations or excessive dust. For optimum video display, the unit should be installed where direct sunlight cannot reach it.
Inferior picture quality can also occur when the lens cover is scratched.
Components & Installation
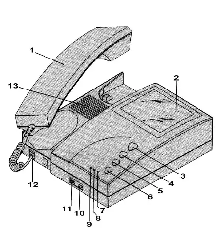
- Indoor unit with monitor (included)
- Phone hand set: to communicate with visitors outside.
- Monitor: visitors appear through the outdoor camera lens.
- Door release button: press the button to unlock the door (if an electric door lock is installed)
- Camera 1/2 selection button: press this button to switch from camera 1 to camera 2 and vice versa.
- Monitor on/off button: press the “ON/OFF” button to see who is outside ; press it again to turn the monitor off.
- Interphone button: when a submonitor is installed, press this button to communicate with the submonitor.
- LED (interphone): when the interphone button is pressed, the amber LED is on.
- LED (C2): when camera 2 is selected, the green LED is on.
- LED (C1): when camera 1 is selected, the red LED is on.
- Volume control: controls chime volume.
- Brightness control: adjust picture brightness (“monitor off” means the display is off).
- Handset jack: to connect the handset to the monitor.
- Speaker: for chime call.
Installation 
- Mount the wall-bracket (2) with the tapping screws provided
- Connect lead wires to terminal as shown in §2d) on page 4
- Fix the indoor unit (1) onto the wall bracket (2)
- Connect the AC plug (3) to the outlet.
Secondary indoor monitor units (submonitors) can be bought separately (CAMSET33/SUB) ; these have a different connection terminal configuration (see §2d).
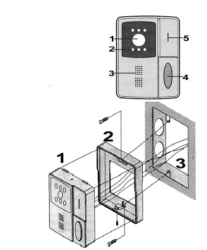
- Outdoor Unit with Camera (CAM6) (included ; also available separately)
- CCD camera lens: with automatic iris
- Infrared LEDs: allow you to identify the visitors in poorly lit areas.
- Speaker: for chime and voice.
- Call button: as the visitor presses the call button, the picture appears on the indoor monitor and the indoor chime rings.
- Microphone: to talk to the indoor unit.
Installation
- Take the base panel (2) and fix it firmly on the wall (3) with tapping screws.
- Connect lead wires to the terminals as shown in §2d) on page 4.
- Attach the camera (1) to the base panel and fasten it with one machine screw at the bottom.

Outdoor Unit with Camera (CAM12) (optional)
- Infrared LEDs: built-in infrared LEDs allow you to identify visitors in poorly lit areas.
- CCD camera lens: with automatic iris
- Speaker: for chime and voice
- Call button: as the visitor presses the call button, the picture appears on the indoor monitor and the indoor chime rings.
- Microphone: to talk to the indoor unit.

- The junction box (3) must be fixed in the wall with concrete or silicon.
- Remove the upper and lower parts (4) of the front of the camera (1) (using a flat screwdriver)
- Connect the wires to the terminals as shown in §2d) on page 4.
- Fix the unit to the junction box with two hexagonal bolts (2), one at the top and ne at the bottom, using a hexagonal wrench (not included).
- Reassemble the upper and lower parts of the front side.


Adjusting camera angle
- Take the unit out of the junction box.
- When vertical adjustment is required, move the control lever up or down.
Wiring
- Be careful to connect indoor and outdoor units as indicated below.
- Two wires are required for each outdoor unit to be connected to the indoor unit.
- An additional two wires are required for each electric door lock to be connected to the indoor unit.
- Make sure that a separate power source is provided for each door lock.
- NOTE : Electric door lock is not supplied with the CAMSET33.

- NOTE : Electric door lock is not supplied with the CAMSET33.
Wiring diagram with secondary monitors
- 2 cameras can be connected to 4 monitors under parallel wiring.
- An additional 4 wires are required per secondary monitor.
- Make sure there’s a separate power source for the door lock.
- Only the main monitor will be connected with cameras and door lock.
- For better audio & video, use the cable as follows:
- Coax cable conductor: use it for video connections
- Coaxial cable shield: use it for the GND connection
- Wire 2EA: use it for L1 and L2 connections.

Troubleshooting
| PROBLEM | CHECKPOINT |
| No picture on the monitor | Is the AC plug firmly inserted into the power outlet? Are the wires between the outdoor and indoor unit(s) firmly connected? |
| Volume is too low on calling tone | Adjust the volume. |
| Monitor picture too dark or bright | Adjust the brightness. |
| Video but no sound in the handset | Is the handset jack firmly inserted to indoor unit? |
Maintenance
- Keep the units dry. If water should get on them, wipe it off immediately. Water contains minerals that can corrode electronic circuits.
- Do not store in hot or cold areas. Extreme hot or cold temperatures can shorten the life of electronic devices and can even distort or melt certain plastics, or may cause improper working.
- Dropping can result in cracked circuit boards and cases, and failure to operate.
- Do not use or store in areas with high levels of dirt or dust, as they may contaminate the electronics.
- Do not use harsh chemicals, cleaning solvents or strong detergents to keep your unit looking new. You need only wipe it with a dampened cloth from time to time.
Specifications
Monitor (indoor unit)
| Model | CAMSET33 |
| Power Source | AC voltage (100 – 240V) |
| Power Consumption | Monitor: 12W ; submonitor: 7W |
| Working Temperature | 0 – 40°C |
| Display | 4″ flat CRT |
| Resolution | 350 horizontal TV lines |
| Scanning Frequency | horizontal: 15.75 kHz ; vertical: 60Hz |
| Voice Transmission | 2 way communication |
| Voice Transmission System | Frequency modulation |
| Call Signal | Ding Dong sound (2 stroke) |
| Mounting Type | wall mount type |
| Maximum Wiring Distance | Max 100m with TIV Æ0.65mm |
| Material | ABS |
Camera (outdoor unit)
| Model | CAM6 | CAM12 |
| Mounting Method | wallmount | flush |
| Material | ABS | aluminium |
| Camera | 1/3″ CCD image sensor | |
| Number of Pixels | 270 000 pixels | |
| Minimum Illumination | approx. 0.5lux @ 400m distance | |
| Infrared LED | built-in | |
| Video Output | 1Vp-p | |
| Iris | electronic auto iris | |
| Power Source | from monitor | |
| Microphone Sensitivity | -56dB | |
| Working Temperature | -10 ~ 50°C (14 ~ 122°F) | |
| Viewing Angle | 92°, 110° | |
Velleman CAMSET33 2-Channel Video Security Door Phone
























