Flextool FDU-DE2 Drive Unit

FLEXTOOL SPARE PARTS

Engine & Coupling
| Item No. | Product Code | Description | Qty | Remarks |
| 1 | NPS01710-UNIT | YAN ENGINE YANMAR L48N5 (RECOIL START) | 1 | |
| 2 | NPS02891-UNIT | FLX LIFTING HOOK (CNVR3-010) | 1 | |
| 3 | See Remarks | FLX SPACER (CNVR1-006) | 1 | Use SK-1 |
| 4 | NPS00779-UNIT | FLX KEY (CNVR1-007) | 1 | |
| 5 | See Remarks | FLX GRUB SCREW (CNVR1-008) | 2 | Use SK-1 |
| 6 | See Remarks | FLX DRIVE DOG (CNVR1-009) | 1 | Use SK-1 |
| 7 | See Remarks | FLX ROLL PIN (CNVR1-011) | 1 | Use AS-1 or SK-2 |
| 8 | See Remarks | FLX BELL HOUSING (CNVR1-012) | 1 | Use AS-1 |
| 9 | See Remarks | FLX TRIGGER SPRING (CNVR1-013) | 1 | Use AS-1 or SK-2 |
| 10 | NPS01581-UNIT | FLX SOCKET HEAD CAP SCREW (CNVR3-015) | 4 | |
| 11 | See Remarks | FLX TRIGGER (CNVR1-014) | 1 | Use AS-1 or SK-2 |
Engine & Coupling – Assembly / Service Kits
| Item No. | Product Code | Description | Qty | Remarks |
| AS-1 | NPS03374-UNIT | FLX ASSY BELL HOUSING (CNVR3-017) | 1 | Inc Items: 7, 8, 9, 11 |
| SK-1 | NPS07161-UNIT | FLX SERVICE KIT DRIVE DOG GX160-QX (CNVR3-016) | 1 | Inc Items: 3, 5, 6 |
| SK-2 | NPS07159-UNIT | FLX SERVICE KIT TRIGGER (CNVR3-019) | 1 | Inc Items: 7, 9, 11 |

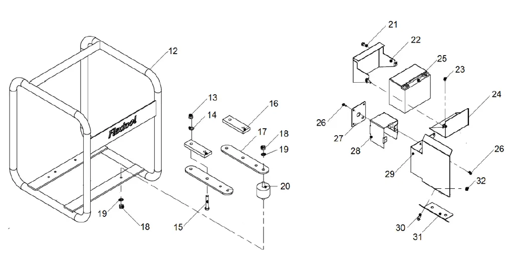
Frame & Engine Mount
| Item No. | Product Code | Description | Qty | Remarks |
| 12 | NPS03047-UNIT | FLX DRIVE UNIT FRAME FDU-D2 / DE2 (CNVR6A-007) | 1 | |
| 13 | See Remarks | FLX NYLOCK NUT (CNVR6A-001) | 4 | Use SK-3 |
| 14 | See Remarks | FLX FLAT WASHER (CNVR6A-002) | 4 | Use SK-3 |
| 15 | See Remarks | FLX BOLT (CNVR6A-004) | 4 | Use SK-3 |
| 16 | NPS03049-UNIT | FLX ENGINE MOUNT SPACER FDU-DE2 (CNVR6B-009) | 2 | |
| 17 | NPS00127-UNIT | FLX ENGINE MOUNT STRAP FDU-DE2 (CNVR6A-003) | 2 | |
| 18 | See Remarks | FLX NYLOCK NUT (CNVR4A-001) | 8 | Use SK-4 |
| 19 | See Remarks | FLX FLAT WASHER (CNVR4A-002) | 8 | Use SK-4 |
| 20 | See Remarks | FLX RUBBER MOUNT (CNVR4A-005) | 4 | Use SK-4 |
| 21 | See Remarks | FLX BOLT M6X20 (CNVR6B-014) | 4 | Use SK-5 |
| 22 | See Remarks | FLX BATTERY CASE UPPER SECTION (CNVR6B-013) | 1 | Use SK-5 |
| 23 | See Remarks | FLX BOLT M6X10 (CNVR6B-015) | 2 | Use SK-5 |
| 24 | See Remarks | FLX BATTERY CASE LOWER SECTION (CNVR6B-012) | 1 | Use SK-5 |
| 25 | See Remarks | FLX BATTERY 12V (CNVR6B-018) | 1 | Non Stock Part (Source Locally) |
| 26 | See Remarks | FLX SCREW (CNVR6B-021) | 6 | Use SK-6 |
| 27 | See Remarks | FLX IGN SWITCH COVER PANEL (CNVR6B-020) | 1 | Use SK-6 |
| 28 | See Remarks | FLX IGN SWITCH COVER SHROUD (CNVR6B-019) | 1 | Use SK-6 |
| 29 | See Remarks | FLX STARTER MOTOR COVER (CNVR6B-022) | 1 | Use SK-6 |
| 30 | See Remarks | FLX BOLT M6X20 (CNVR6B-014) | 2 | Use SK-6 |
| 31 | See Remarks | FLX STARTER MOTOR MOUNT PLATE (CNVR6B-017) | 1 | Use SK-6 |
| 32 | See Remarks | FLX NUT M6 | 2 | Use SK-6 |
Frame & Engine Mount – Assembly / Service Kits
| Item No. | Product Code | Description | Qty | Remarks |
| SK-3 | NPS03048-UNIT | FLX SERVICE KIT BOLT SET FDU (CNVR6A-008) | 1 | Inc Items: 13 – 15 |
Parchem Construction Supplies Pty Ltd
- 1956 Dandenong Road, Clayton VIC 3168, Australia
- Phone: 1300 353 986
- flextool.com.au
- ABN 80 069 961 968
This manual summarises our best knowledge of the product based on the information available at the time of publication. You should read this manual carefully and consider the information in the context of how the product will be used. Our responsibility for products sold is subject to our standard terms and conditions of sale.
DISCLAIMER
Any advice, recommendation, information, assistance or service provided by us in this manual is given in good faith and is believed by us to be appropriate and reliable. However, any advice, recommendation, information, assistance or service provided by us is provided without liability or responsibility PROVIDED THAT the foregoing shall not exclude, limit, restrict or modify the right entitlements and remedies conferred upon any person or the liabilities imposed upon us by any condition or warranty implied by Commonwealth, State or Territory Act or ordinance void or prohibiting such exclusion limitation or modification. The product can be expected to perform as indicated in this manual so long as operation and operational procedures of the individual products are followed as recommended in this manual.
Design and technical specifications may be subject to changes.
© This publication is copyright. All rights are reserved. Flextool is a registered trademark of Parchem Construction Supplies Pty Ltd.
FOR MORE INFORMATION
- CONTACT US ON: 1300 353 986
- VISIT: flextool.com.au




















