FDU-P3 Flextool Drive Unit User Manual
PARE PARTS MANUAL

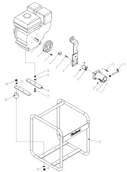
| Item No. | Product Code | Description | Qty | Remarks |
| 1 | NPS01957-UNIT | HON ENGINE GX270 QX (CNVR4B-001) | 1 | |
| 2 | See Remarks | FLX ADAPTOR BELL HOUSING (CNVR4B-002) | 1 | Use SK-1 |
| 3 | See Remarks | FLX SOCKET HEAD CAP SCREW (CNVR4B-003) | 4 | Use SK-1 |
| 4 | See Remarks | FLX SPACER (CNVR4B-004) | 1 | Use SK-2 |
| 5 | NPS01039-UNIT | FLX KEY (CNVR4B-005) | 1 | |
| 6 | NPS02891-UNIT | FLX LIFTING HOOK (CNVR3-010) | 1 | |
| 7 | See Remarks | FLX GRUB SCREW (CNVR4B-007) | 1 | Use SK-2 |
| 8 | See Remarks | FLX DRIVE DOG (CNVR4B-008) | 1 | Use SK-2 |
| 9 | See Remarks | FLX ROLL PIN (CNVR1-011) | 1 | Use SK-3 or AS-1 |
| 10 | See Remarks | FLX BELL HOUSING (CNVR1-012) | 1 | Use AS-1 |
| 11 | See Remarks | FLX TRIGGER SPRING (CNVR1-013) | 1 | Use SK-3 or AS-1 |
| 12 | See Remarks | FLX TRIGGER (CNVR1-014) | 1 | Use SK-3 or AS-1 |
| 13 | NPS01581-UNIT | FLX SOCKET HEAD CAP SCREW (CNVR3-015) | 4 | |
| 14 | See Remarks | FLX NYLOCK NUT (CNVR6A-001) | 4 | Use SK-4 |
| 15 | See Remarks | FLX FLAT WASHER (CNVR6A-002) | 4 | Use SK-4 |
| 16 | NPS9071H-UNIT | FLX MOUNTING PLATE (CNVR4A-003) | 2 | |
| 17 | See Remarks | FLX BOLT (CNVR4A-004) | 4 | Use SK-4 |
| 18 | See Remarks | FLX NYLOCK NUT (CNVR6A-001) | 8 | Use SK-5 |
| 19 | See Remarks | FLX FLAT WASHER (CNVR4A-002) | 8 | Use SK-5 |
| 20 | See Remarks | FLX RUBBER MOUNT (CNVR4A-005) | 4 | Use SK-5 |
| 21 | NPS01583-UNIT | FLX DRIVE UNIT FRAME FDU-P3 (CNVR4A-006) | 1 |
Assembly / Service Kits
| Item No. | Product Code | Description | Qty | Remarks |
| AS-1 | NPS03374-UNIT | FLX ASSY BELL HOUSING (CNVR3-017) | 1 | Inc Items: 9, 10, 11, 12 |
| SK-1 | NPS01584-UNIT | FLX SERVICE KIT ADAPTOR BELL HOUSING (CNVR4B-014) | 1 | Inc Items: 2, 3 |
| SK-2 | NPS09232-UNIT | FLX SERVICE KIT DRIVE DOG GX270-QX (25.4MM) (CNVR4B-015) | 1 | Inc Items: 4, 7, 8 |
| SK-3 | NPS07159-UNIT | FLX SERVICE KIT TRIGGER (CNVR3-019) | 1 | Inc Items: 9, 11, 12 |
| SK-4 | NPS03048-UNIT | FLX SERVICE KIT BOLT SET FDU (CNVR6A-008) | 1 | Inc Items: 14, 15, 17 |
| SK-5 | NPS01579-UNIT | FLX SERVICE KIT RUBBER MOUNT FDU (CNVR2-020) | 1 | Inc Items: 18, 19, 20 |
Parchem Construction Supplies Pty Ltd
1956 Dandenong Road, Clayton VIC 3168, Australia
Phone: 1300 353 986
flextool.com.au
ABN 80 069 961 968
This manual summarises our best knowledge of the product based on the information available at the time of publication. You should read this manual carefully and
consider the information in the context of how the product will be used. Our responsibility for products sold is subject to our standard terms and conditions of sale.
DISCLAIMER:
Any advice, recommendation, information, assistance or service provided by us in this manual is given in good faith and is believed by us to be appropriate and reliable. However, any advice, recommendation, information, assistance or service provided by us is provided without liability or responsibility PROVIDED THAT the foregoing shall not exclude, limit, restrict or modify the right entitlements and remedies conferred upon any person or the liabilities imposed upon us by any condition or warranty implied by Commonwealth, State or Territory Act or ordinance void or prohibiting such exclusion limitation or modification. The product can be expected to perform as indicated in this manual so long as operation and operational procedures of the individual products are followed as recommended in this manual.
Design and technical specifications may be subject to changes.
© This publication is copyright. All rights are reserved. Flextool is a registered trade mark of Parchem Construction Supplies Pty Ltd.
Costumer Support
FOR MORE INFORMATION
CONTACT US ON 1300 353 986 OR
VISIT flextool.com.au



















