TRUPER BOAP Series Peripheral Water Pump

Product Information
The peripheral water pump is a tool designed for agricultural use. It comes in three different models: BOAP-1/2, BOAP-3/4, and BOAP-1. The tool has a power requirement of 127V and 60Hz and is equipped with a 1/2 Hp, 3/4 Hp, or 1 Hp motor depending on the model. The maximum flow rate of the water pump ranges from 11.1 to 13.2 gallons per minute, and it can handle water temperatures up to 50 degrees Celsius. The tool has a work cycle of 50 minutes with a rest time of 20 minutes, and it can be used for a maximum of 6 hours per day.
Product Usage Instructions
Before using the peripheral water pump, read the user manual thoroughly to ensure the best performance of the tool, prolong its duty life, avoid hazards, and make the warranty valid if necessary.
To use the tool:
- Connect the tool to a separate electric circuit that has conductors with a caliber not lower than 12 AWG and is protected with a 20 A time delay fuse.
- Double-check that the voltage is equal to the data on the motor nameplate before connecting the motor to the current line.
- Perform periodic maintenance on the machine as outlined on page 8 of the manual.
- Fulfill the working cycles by using the tool for 50 minutes and resting it for 20 minutes. Do not use or pull the power cord to carry, lift, or disconnect the tool.
- Avoid exposing the tool to rain, liquids, and/or dampness.
- Disconnect all power sources before gaining access to the terminals.
It is recommended to feed the pump with a circuit that includes a differential switch with an assigned current not higher than 30 mA. If the power cable gets damaged, it should only be replaced by the manufacturer or at an authorized service center. All wiring, electric connections, and ground connections in the system must comply with the official regulations. Call a certified electrician for assistance.
Save all warnings and instructions for future reference.
CAUTION
To gain the best performance of the tool, prolong the duty life, make the Warranty valid if necessary, and to avoid hazards of fatal injuries please read and understand this Manual before using the tool.
Keep this manual for future references.
The illustrations in this manual are for reference only. They might be different from the real tool.
Use and care recommendations

FULFILL THE WORKING CYCLES.
50 min of work and 20 min of rest. Daily maximum 6 hours.
Never use or pull the power cord to carry, lift, or disconnect the tool.
Perform periodic MAINTENANCE to your machine (page 8).
Technical data

Power Cord Grips used in this product: Type “Y”.
Tool Build Quality: Basic insulation
Thermal insulation on motor winding: Class F
WARNING Avoid the risk of electric shock or severe injury. When the power cable gets damaged it should only be replaced by the manufacturer or at a Authorized Service Center. The build quality of the electric insulation is altered if spills or liquid gets into the tool while in use. Do not expose to rain, liquids and/or dampness.
WARNING Before gaining access to the terminals all power sources should be disconnected.
Power requirements

CAUTION Connection to the energy source shall be carried out by a professional in electricity, following the diagram to the right.
CAUTION Use a separate electric circuit for the pump. This circuit shall not have conductors with a caliber lower than 12 AWG and shall be protected with a 20 A time delay fuse. CAUTION Before. connecting the motor to the current line, double check the voltage is equal to the data in the motor nameplate. If operated with a lower voltage, the motor will get damaged.
The energy cables are coded with the following colors:
- Green and Yellow: Earth
- Black: Neutral
- White: Line
WARNING All the wiring, electric connections and ground connections in the system shall comply with THE OFFICIAL MEXICAN STANDARD NOM – 001 – SEDE – ELECTRIC INSTALLATION (USE) or with the local codes and ordinances. The user shall call a certified electrician. It is recommended to feed the pump with a circuit that includes a differential switch with an assigned current not higher than 30 mA
General power tools safety warnings
WARNING! Read carefully all safety warnings and instructions listed below. Failure to comply with any of these warnings may result in electric shock, fire and / or severe damage. Save all warnings and instructions for future references.
Work area
- Keep your work area clean, and well lit.
- Cluttered and dark areas may cause accidents.
- Never use the tool in explosive atmospheres, such as in the presence of flammable liquids, gases or dust.
- Sparks generated by power tools may ignite the flammable material.
- Keep children and bystanders at a safe distance while operating the tool.
- Distractions may cause loosing control.
Electrical Safety
- The tool plug must match the power outlet. Never modify the plug in any way. Do not use any adapter plugs with grounded power tools.
- Modified plugs and different power outlets increase the risk of electric shock.
- Avoid body contact with grounded surfaces, such as pipes, radiators, electric ranges and refrigerators.
- The risk of electric shock increases if your body is grounded.
- Do not expose the tool to rain or wet conditions.
- Water entering into the tool increases the risk of electric shock.
- Do not force the cord. Never use the cord to carry, lift or unplug the tool. Keep the cord away from heat, oil, sharp edges or moving parts.
- Damaged or entangled cords increase the risk of electric shock.
- When operating a tool outdoors, use an extension cord suitable for outdoor use.
- Using an adequate outdoor extension cord reduces the risk of electric shock.
- If operating the tool in a damp location cannot be avoided, use a ground fault circuit interrupter (GFCI) protected supply.
- Using a GFCI reduces the risk of electric shock.
Personal safety
- Stay alert, watch what you are doing and use common sense when operating a tool. Do not use a power tool while you are tired or under the influence of drugs, alcohol or medication.
- A moment of distraction while operating the tool may result in personal injury.
- Use personal protective equipment. Always wear eye protection.
- Protective equipment such as safety glasses, anti-dust mask, non-skid shoes, hard hats and hearing protection used in the right conditions significantly reduce personal injury.

- Prevent unintentional starting up. Ensure the switch is in the “OFF” position before connecting into the power source and / or battery as well as when carrying the tool.
- Transporting power tools with the finger on the switch or connecting power tools with the switch in the “ON” position may cause accidents.
- Remove any wrench or vice before turning the power tool on.
- Wrenches or vices left attached to rotating parts of the tool may result in personal injury.
- Do not overreach. Keep proper footing and balance at all times.
- This enables a better control on the tool during unexpected situations.
- Dress properly. Do not wear loose clothing or jewelry. Keep hair, clothes and gloves away from the moving parts.
- Loose clothes or long hair may get caught in moving parts.
- If you have dust extraction and recollection devices connected onto the tool, inspect their connections and use them correctly.
- Using these devices reduce dust-related risks.
Power Tools Use and Care
- Do not force the tool. Use the adequate tool for your application.
- The correct tool delivers a better and safer job at the rate for which it was designed.
- Do not use the tool if the switch is not working properly.
- Any power tool that cannot be turned ON or OFF is dangerous and should be repaired before operating.
- Disconnect the tool from the power source and / or battery before making any adjustments, changing accessories or storing.
- These measures reduce the risk of accidentally starting the tool.
- Store tools out of the reach of children. Do not allow persons that are not familiar with the tool or its instructions to operate the tool.
- Power tools are dangerous in the hands of untrained users.
- Service the tool. Check the mobile parts are not misaligned or stuck. There should not be broken parts or other conditions that may affect its operation. Repair any damage before using the tool.
- Most accidents are caused due to poor maintenance to the tools.
- Use the tool, components and accessories in accordance with these instructions and the projected way to use it for the type of tool when in adequate working conditions.
- Using the tool for applications different from those it was designed for, could result in a hazardous situation.
Service
- Repair the tool in a Authorized Service Center using only identical spare parts.
- This will ensure that the safety of the power tool is maintained.
Children or people with reduced physical, sensory or mental capabilities shall not operate the tool, neither inexperienced people or without knowledge in the use of the tool, unless supervised by a person responsible of their safety or if receiving previous instructions about the tool operation.
Children shall be kept under supervision to double-check they will not play with the tool. Tight supervision shall be used with children or disabled persons to prevent from using or being close to any household tool.
This tool is in compliance with the Official Mexican Standard (NOM – Norma Oficial Mexicana).
Safety warnings for the use of water pumps
Adequate Uses
- The pump is a stationary device designed to pump clean neutral liquids, with no suspended abrasive solids, in temperature not higher than 104 ºF Useful for watering orchards, for pumping non aggressive liquids and to increase insufficient pressure in aqueducts pressure.
- Periphery pumps are suitable for agricultural applications in watering systems by mini aspersion or air pulverization. Also, where pressure requirements are higher due to height in the watering system and the minimum pressure requirements for sprayers to function.
For these type of applications, centrifugal pumps are not recommended due to the low pressure managed. - The device is in compliance with the most updated safety requirements, only if is used for what it is designed. The devise shall only be used under the allowed performance restrictions.
- Do not use it for explosive liquids, combustibles or aggressive materials, or for substances hazardous to health, or sewage water.
- Inadequate use or modifications to the device, using components not approved or tested by the manufacturer may result in unexpected damage to the device and the operator and frees the manufacturer from their legal responsibility.
Adequate Uses
CAUTION
- The pump shall be connected through a residual current circuit breaker RCCB designed with current short circuit not higher than 30 mA
- Before connecting, double check the power supply matches the pump requirements.
- Do not install the pump outdoors or near wet areas.
WARNING
- Do not install the pump in areas where there is danger of explosion or near combustible liquid and gases.
WARNING
- Do not aim the water jet against the device or other electric components. It is a death hazard due to electric shock.
CAUTION
- Double check the power cable is not making contact with water circulating in the pump.
- Any type of repair shall only be carried out in a
Authorized Service Center. Otherwise, the user is exposed to an electric shock and makes the warranty void.
- All the symbols attached to the device shall not be removed or cover. All information about the device that is not legible, shall be replaced immediately,
- Read and follow the operation instructions before installing and starting the pump. Any malfunction caused by omission of indications in this Manual, may damage the pump an makes the warranty void.

Recommended for watering with atomizers.
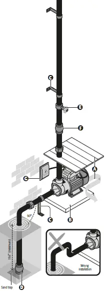
Parts
Installation
Mounting

- The pump shall be installed in a dry place, away from the elements; with air flow to allow air flow for the adequate ventilation (A)
Ambient temperature not exceeding 104 ºF - Use bolts to fix the pump onto a concrete base to prevent vibrations (B) The pump shall be installed in a horizontal position to assure it runs properly.
- The suction lines and pressure pipes shall be supported to the wall or the floor to prevent transmission of tension to the pump body (C)
- Use care not to damage the pump and / or the pipes due to excessive tightening of the joints.
Suction line (inlet)
- The suction pipes diameter shall not be smaller than the diameter of the pump water inlet. If the suction height exceeds 13 ft, use a pipe with a larger diameter.
- The suction pipe shall be completely watertight, the end shall be submerged into water at least one meter and a half, where using a (D). The pipe shall be set totally vertical and bend to 90º towards the water inlet in the pump.
CAUTION
Failure to follow these indications will result in air sealing – in and bubbles interfering with the pump performance.
Pressure line (outlet)
- The outlet pipe will need a gate valve (E) to adjust the required flow speed and pressure.
- It is recommended to set a check valve (F) between the pressurized water from the pump and the gate valve to prevent the unexpected return of water columns exceeding 65 ft
Electrical Installation-
- Call a professional electrician to carry out the electric connection to the power supply (G), following the mandatory rules.
- The fixed installation shall incorporate a device to assure the omnipolar disconnect from the power supply.
- Make sure the electric requirements described in this Instruction Manual and the pump nameplate, match with the power supply value capacity.
- Connect the pump into a circuit with physical earth and then, connect the phases following the electric diagram in page 3 or the pump nameplate.
- The pump is built with a monophasic motor protected against overload using a thermal device (overcurrent cut) built in the winding.
Start up
Purge
- The first time you start the pump or after a long period of time idle, or when air has entered the system, fill-up the pump with clean water before starting.
- Remove the purge cap (H) and fill with water until reaching the level un the orifice.
- WARNING Never start the pump when empty. If it happens accidentally, turn OFF the pump immediately, wait for the pump to cool down, then, fill with clean water.

Maintenance

- The pump does not require maintenance only if following these simple precautions:
- When there is a risk of freezing, empty the pump completely by removing the foot valve so that the pipe can drain (J). Remember to flush the pump before starting it up again.
- If the pump will remain idle for long periods of time, it is recommended to empty it completely, rinse with clean water and store in a dry place.
- If the shaft is not turning freely, use a screwdriver to release it. Insert the screwdriver in the rear orifice of the pump (J).
WARNING
- Disconnect the pump from the power supply before carrying out maintenance jobs.
- In the event the environment temperature is below 39 ºF, or the pump is going to be idle for long periods of time, empty the liquid from the pipes to prevent freezing inside the pump. Do not operate the pump without water.
Troubleshooting
Problem: Cause: Solution
- The motor is not starting
- There is no power
- The impeller is stuck
- Check the connections and the power values.
- Release it with a screwdriver (see page 8)
- The motor turns but is not pumping water
- The foot-valve filter is clogged
- Excessive suction height
- Air in the admission
- Clean the filter
- Shorten the suction pipe length. Check the suction pipe is hermetic. Double check the foot valve is submerged, at least, 19.6” It is necessary to purge the pump again (see page 7).
- Check the suction height
- Flow speed is insufficient
- The suction height is in the limit
- Foot valve filter is partially clogged
- Shorten the suction pipe length
- Clean the foot valve and the whole suction pipe if necessary
- The motor thermal protector is activated
- The motor is overheated
- The impeller is stuck
- Check voltage and ventilation
- Release it with a screwdriver (see page 8).
In case the problem can not be solved please go to an Authorized Service Center. Failure to follow with these caution advices may damage the pump and void the warranty.
In the event of any problem contacting a Truper Authorized Service Center, please see our webpage www.truper.com to get an updated list, or call our toll-free numbers 800 690-6990 or 800 018-7873 to get information about the nearest Service Center.
AGUASCALIENTES
DE TODO PARA LA CONSTRUCCIÓN
GRAL. BARRAGÁN #1201, COL. GREMIAL, C.P. 20030, AGUASCALIENTES, AGS. TEL.: 449 994 0537
BAJA CALIFORNIA
SUCURSAL TIJUANA
AV. LA ENCANTADA, LOTE #5, PARQUE INDUSTRIAL EL FLORIDO II, C.P 22244, TIJUANA, B.C.
TEL.: 664 969 5100
BAJA CALIFORNIA SUR
FIX FERRETERÍAS
FELIPE ÁNGELES ESQ. RUIZ CORTÍNEZ S/N, COL. PUEBLO NUEVO, C.P. 23670, CD. CONSTITUCIÓN, B.C.S.
TEL.: 613 132 1115
CAMPECHE
TORNILLERÍA Y FERRETERÍA AAA
AV. ÁLVARO OBREGÓN #324, COL. ESPERANZA
C.P. 24080 CAMPECHE, CAMP. TEL.: 981 815 2808
CHIAPAS
FIX FERRETERÍAS
AV. CENTRAL SUR #27, COL. CENTRO, C.P. 30700, TAPACHULA, CHIS. TEL.: 962 118 4083
CHIHUAHUA
SUCURSAL CHIHUAHUA
AV. SILVESTRE TERRAZAS #128-11, PARQUE INDUSTRIAL BAFAR, CARRETERA MÉXICO CUAUHTÉMOC, C.P. 31415, CHIHUAHUA, CHIH. TEL. 614 434 0052
CIUDAD DE MÉXICO
FIX FERRETERÍAS
EL MONSTRUO DE CORREGIDORA, CORREGIDORA # 35, COL. CENTRO, C.P. 06060, CUAUHTÉMOC, CDMX.
TEL: 55 5522 5031 / 5522 4861
COAHUILA
SUCURSAL TORREÓN
CALLE METAL MECÁNICA #280, PARQUE INDUSTRIAL ORIENTE, C.P. 27278, TORREÓN, COAH.
TEL.: 871 209 68 23
COLIMA
BOMBAS Y MOTORES BYMTESA DE MANZANILLO BLVD. MIGUEL DE LA MADRID #190, COL. 16 DE SEPTIEMBRE, C.P. 28239, MANZANILLO, COL.
TEL.: 314 332 1986 / 332 8013
DURANGO
TORNILLOS ÁGUILA, S.A. DE C.V.
MAZURIO #200, COL. LUIS ECHEVERRÍA, DURANGO, DGO.TEL.: 618 817 1946 / 618 818 2844
ESTADO DE
MÉXICOSUCURSAL CENTRO JILOTEPEC
PARQUE INDUSTRIAL # 1, COL. PARQUE INDUSTRIAL JILOTEPEC, JILOTEPEC, EDO. DE MÉX. C.P. 54257
TEL: 761 782 9101 EXT. 5728 Y 5102
GUANAJUATO
CÍA. FERRETERA NUEVO MUNDO S.A. DE C.V.
AV. MÉXICO – JAPÓN #225, CD. INDUSTRIAL, C.P. 38010, CELAYA, GTO. TEL.: 461 617 7578 / 79 / 80 / 88
GUERRERO
CENTRO DE SERVICIO ECLIPSE
CALLE PRINCIPAL MZ.1 LT. 1, COL. SANTA FE, C.P. 39010, CHILPANCINGO, GRO. TEL.: 747 478 5793
HIDALGO
FERREPRECIOS S.A. DE C.V.
LIBERTAD ORIENTE #304 LOCAL 30, INTERIOR DE PASAJE ROBLEDO, COL. CENTRO, C.P. 43600, TULANCINGO, HGO. TEL.: 775 753 6615 / 775 753 6616
JALISCO
SUCURSAL GUADALAJARA
AV. ADOLFO B. HORN # 6800, COL: SANTA CRUZ DEL VALLE, C.P.: 45655, TLAJOMULCO DE ZUÑIGA, JAL.
TEL.: 33 3606 5285 AL 90
MICHOACÁN
FIX FERRETERÍAS
AV. PASEO DE LA REPÚBLICA #3140-A, COL.
EX-HACIENDA DE LA HUERTA, C.P. 58050, MORELIA, MICH. TEL.: 443 334 6858
MORELOS
FIX FERRETERÍAS
CAPITÁN ANZURES #95, ESQ. JOSÉ PERDIZ, COL. CENTRO, C.P. 62740, CUAUTLA, MOR.
TEL.: 735 352 8931
NAYARIT
HERRAMIENTAS DE TEPIC
MAZATLAN #117, COL. CENTRO, C.P. 63000, TEPIC, NAY. TEL.: 311 258 0540
NUEVO LEÓN
SUCURSAL MONTERREY
CARRETERA LAREDO #300, 1B MONTERREY PARKS, COLONIA PUERTA DE ANÁHUAC, C.P. 66052, ESCOBEDO, NUEVO LEÓN, TEL.: 81 8352 8791 / 81 8352 8790
OAXACA
FIX FERRETERÍAS
AV. 20 DE NOVIEMBRE #910, COL. CENTRO, C.P. 68300, TUXTEPEC, OAX. TEL.: 287 106 3092
PUEBLA
SUCURSAL PUEBLA
AV PERIFÉRICO #2-A, SAN LORENZO ALMECATLA,
C.P. 72710, CUAUTLACINGO, PUE.
TEL.: 222 282 8282 / 84 / 85 / 86
QUERÉTARO
ARU HERRAMIENTAS S.A DE C.V.
AV. PUERTO DE VERACRUZ #110, COL. RANCHO DE ENMEDIO, C.P. 76842, SAN JUAN DEL RÍO, QRO.
TEL.: 427 268 4544
QUINTANA ROO
FIX FERRETERÍAS
CARRETERA FEDERAL MZ. 46 LT. 3 LOCAL 2, COL EJIDAL, C.P. 77710 PLAYA DEL CARMEN, Q.R.
TEL.: 984 267 3140
SAN LUIS
FIX FERRETERÍAS
AV. UNIVERSIDAD #1850, COL. EL PASEO, C.P. 78320, SAN LUIS POTOSÍ, S.L.P. TEL.: 444 822 4341
SINALOA
SUCURSAL CULIACÁN
AV. JESÚS KUMATE SUR #4301, COL. HACIENDA DE LA MORA, C.P. 80143, CULIACÁN, SIN.
TEL.: 667 173 9139 / 173 8400
SONORA
FIX FERRETERÍAS
CALLE 5 DE FEBRERO #517, SUR LT. 25 MZ. 10, COL. CENTRO, C.P. 85000, CD. OBREGÓN, SON.
TEL.: 644 413 2392
TABASCO
SUCURSAL VILLAHERMOSA
CALLE HELIO LOTES 1, 2 Y 3 MZ. #1, COL. INDUSTRIAL, 2A ETAPA, C.P. 86010, VILLAHERMOSA, TAB.
TEL.: 993 353 7244
TAMAULIPAS
VM ORINGS Y REFACCIONES
CALLE ROSITA #527 ENTRE 20 DE NOVIEMBRE Y GRAL. RODRÍGUEZ, FRACC. REYNOSA, C.P. 88780, REYNOSA, TAMS. TEL.: 899 926 7552
TLAXCALA
SERVICIOS Y HERRAMIENTAS INDUSTRIALES PABLO SIDAR #132, COL . BARRIO DE SAN BARTOLOMÉ, C.P. 90970, SAN PABLO DEL MONTE, TLAX.
TEL.: 222 271 7502
VERACRUZ
LA CASA DISTRIBUIDORA TRUPER
BLVD. PRIMAVERA. ESQ. HORTENSIA S/N, COL. PRIMAVERA C.P. 93308, POZA RICA, VER.
TEL.: 782 823 8100 / 826 8484
YUCATÁN
SUCURSAL MÉRIDA
CALLE 33 #600 Y 602, LOCALIDAD ITZINCAB Y MULSAY, MPIO. UMÁN, C.P. 97390, MÉRIDA, YUC.
TEL.: 999 912 2451
Warranty policy
Code : Model
- 10068 BOAP-1/2
- 10069 BOAP-3/4
- 10070 BOAP-1
Warranty. Duration: 5 year. Coverage: parts, components and workmanship against manufacturing or operating defects, except if used under conditions other than normal; when it was not operated in accordance with the instructive; was altered or repaired by personnel not authorized by Truper®. To make the warranty valid, only present the product in the establishment where you bought it or in Corregidora 35, Centro, Cuauhtémoc, CDMX, 06060, where you can also purchase parts, components, consumables and accessories. The costs of transportation of the product that derive from its fulfillment of its service network are included. Truper will not require any proof of purchase to make the warranty effective. Phone number 800-018-7873. Made in China. Imported by Truper, S.A. de C.V. Parque Industrial 1, Parque Industrial Jilotepec, Jilotepec, Edo. de Méx.
C.P. 54257, Phone number 761 782 9100.
Stamp of the business. Delivery date:


Installation











