YTL TS2401 Post Hole Digger Owner’s
IMPORTANT SAFETY INFORMATION
- WARNING: Read and thoroughly understand all instructions and safety information before assembling or operating this post hole digger. Failure to do so may cause serious injury or death. Do not allow anyone to operate this post hole digger who has not read this manual. As with all power equipment a post hole digger can be dangerous if assembled or used improperly. Do not operate this post hole digger if you have doubts or questions concerning safe operation. Call our customer service department at (888) 723-6534 to address these concerns.
- INTENDED USE
This product is designed to dig holes in the soil when attached to the 3-point linkage system and power-take-off a tractor. It is not intended for any other use. Using the product for anything other - than digging holes could result in serious injury or death.
GENERAL SAFETY AND PREPARATION
- ALWAYS make sure that anyone else who operates this post hole digger has read and understood the contents of the owner’s manual and all safety decals on the product.
- ALWAYS be certain that all members of the work party are familiar with the operation of the digger and the hazards associated with it.
- ALWAYS check with authorities for underground utilities before digging a hole. Serious injury or death could result from contact with gas or electric lines.
- ALWAYS check the tractor owner’s manual for instructions on operation, attachment of 3-point equipment and safety.
- ALWAYS make sure that all safety shields are in place and tightened down. Do not operate this post hole digger if any shields are missing. Contact YTL at (888) 723-6534 or email at [email protected] for replacement parts.
- ALWAYS make sure that the auger point and cutting edges are intact and in good working order before using this digger.
- ALWAYS operate this post hole digger from the tractor seat. Only one person should operate the digger. NEVER attach the post hole digger with the tractor engine running.
- NEVER operate the post hole digger with anyone near or in contact with any part of the implement, PTO driveline or auger. Serious injury or death could result from entanglement with moving parts.
- ALWAYS make sure that the tractor brake is set before digging a hole.
- ALWAYS keep hands, feet and clothing away from power-driven parts during operation.
- NEVER manually position the auger or manually force the auger into the ground.
- ALWAYS make sure that the tractor engine is shut off and the PTO drive is disengaged before leaving the tractor seat.
- NEVER move the tractor with the power-take-off in the ON position.NEVER exceed 540 RPM PTO operating speed. NEVER operate the post hole digger when the auger point is more than 12 in. above ground level. Operating the digger in elevated positions may cause the PTO driveline “U” joints to bind resulting in equipment damage and operator injury. ALWAYS turn off the digger immediately if an immovable object is encountered to prevent damage to the gear box or driveshaft and possible injury. Driveline is protected by a shear bolt. If the shear bolt shears stop operating immediately to prevent further damage.
PERSONAL PROTECTIVE EQUIPMENT
ALWAYS use appropriate personal protective equipment such as protective eyewear and safety shoes when operating this post hole digger.NEVER wear loose clothing or jewelry that could become entangled in the auger or driveline. SAFETY DECALS
ALWAYS replace missing or defaced decals. Reorder from YTL or call 888-723-6534. PROP 65 WARNING This product contains chemicals known to the state of California to cause cancer, birth defects, or other reproductive harm.
REPAIR AND MAINTENANCE SAFETY
ALWAYS perform maintenance operations such as lubrication, adjustments or repairs on the post hole digger with the tractor engine off, the PTO drive disengaged and the auger point resting on the ground. ALWAYS use the correct shear bolt (Grade 5). NEVER use or replace the shear bolt with one that is longer than the one specified in the manual (5/16” x 3”).
Periodically inspect all moving parts for wear and replace when necessary with authorized service parts. Look for loose fasteners, worn or broken parts, and leaky or loose fittings. Serious injury may occur from not maintaining this machine in good working order. Do not modify or alter this Implement. Do not permit another to modify or alter this Implement, any of its components or any Implement function. Any modification will void the warranty.
TOOLS REQUIRED
- Allen Wrench 3
- 10mm, 14mm, 19mm, 22mm Wrenches
- Plier
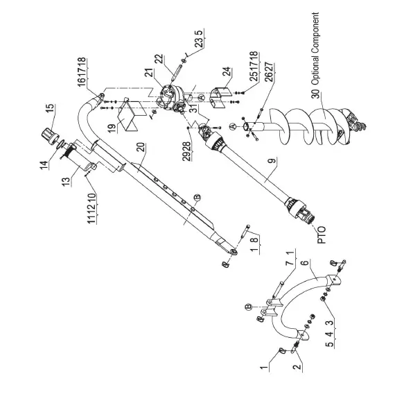
Component Parts
ASSEMBLY INSTRUCTIONS
IMPORTANT The gear box is shipped without lubricant. Fill the top hole with 80W-90 lubricant or the equivalent. Fill until the lube appears at the side level check hole. Approximately two pints (32 ounces) of lubricant is required. Do not fill to overflow point as this may damage the seals.
STEP 1
Be certain that the gear box has adequate lubrication. Check the oil level after every fifty hours of use.
STEP 2
Pull out manual and hardware pack out from manual canister (13). Attach manual canister (13) on the boom (20) using hex bolt (10), lock washer (12) and flat washer (11). Put on rubber gasket (14), screw on Barrelhead (15) onto manual canister (13) and tighten.
STEP 3
Connect the “A” frame (6) to the tractor’s 3-point lift arms using the7/8 in. draw pin with nut and washers as shown in the drawing. For Category 1 tractors (lift arm spacing of 26 in.), use the pins in the inward position. For Category 2 tractors (lift are spacing of 32 in.), the pins should point outwards. Attach the “A” frame pin (7) to the boom (20) after selecting the desired hole (for angle adjustment) using the “A” frame pin (7) and lynch pin (1).
STEP 4
Attach the gear box (21) to the boom (20) using the boom pin (22). When in place secure with flat washers (5) and cotter pins (23).
NOTE: Input shaft shield (19) and output shaft shield (24) are already attached to the gear box.
STEP 5
Attach the auger (30) to the output shaft on the bottom of the gear box (21) using the Hex bolts 1/2″-13UNC-2A*3-1/2″ (26) and nylon lock nuts1/2″-13UNC-2B (27). Tighten the nuts. Attach the driveline (9) to the gear box input shaft using the hex bolt 3/8″-16UNC-2A*3″ (28) and the nylon lock nut 3/8″-16UNC-2B (29). Tighten the nut. Insert the ¼”x 3/8” set screw (#31) in the hole on the yoke that aligns with the 3/16” groove on the gear box input shaft. Tighten loosely.
ATTENTION:
THE HEX BOLT 3/8″-16UNC-2A*3″ PROVIDES SHEAR PROTECTION. USE A GRADE 5/16x 3” BOLT ONLY TO AVOID DAMAGE TO THE GEAR BOX OR AUGER.
IMPORTANT: The universal joint should be greased with a good grade chassis lube approximately every 6 months. At the beginning of each season grease the sliding driveshaft members with a moly grease. All diggers are equipped with quick-detach universal joints on the power-take-off end for a 1-3/8 in. splined shaft.
STEP 7
Attach the tractor end of the driveline (9) to the tractor PTO shaft. Retract the yellow zinc plated outer collar and slip it on the splined PTO shaft of the tractor. Release the collar when it is securely in place on the shaft. Note: Driveline has 1-3/8×6 splined for tractor end. PTO adaptors or extenders are not recommended.
STEP 8
Check all nuts and bolts for tightness. Stabilizers should be kept tight to avoid side sway of the digger.
NOTE: See illustration A for reference in assembling the digger and mounting it to the tractor. Note that the boom angle can be adjusted on your tractor for proper digging and ground clearance by moving the “A” frame to a different mounting hole as shown in illustration B.
NOTE: When the 7/8 in. diameter draw pins in the “A” frame are too small for the holes in the lift arms a Cat 1 to Cat 2 draw pin can be substituted or bushings should be used to obtain the proper fit.
OPERATING INSTRUCTIONS
WARNING Read and thoroughly understand all instructions and safety information before operating this post hole digger. Failure to do so may cause serious injury or death. Do not allow anyone to operate this post hole digger who has not read this manual.
STEP 1
After mounting the digger to the tractor, lower the auger point slowly to the ground at the desired digging angle before engaging power.
STEP 2
Engage the power-take-off and start digging at a slow speed, lowering the auger slowly as it begins to dig.
STEP 3
Increase speed as the auger goes deeper. The type of soil will determine the proper auger speed. If the soil is extremely hard, it will generally improve operation to vary the speed of the auger at times.
STEP 4
When the auger has reached the desired depth, spin it momentarily at a high speed to clear the hole of dirt. Reduce speed before withdrawing the auger from the hole.
STEP 5
Disengage the power-take-off after withdrawing from the hole and move the tractor to the next hole location.
GENERAL MAINTENANCE
- To remove the auger from the gear box output shaft, remove the two hex bolts 1/2″-13UNC-2A*3-1/2″ (26).
- To remove the driveshaft from the gear box input shaft, remove the hex bolt 3/8″-16UNC-2A*3″ (28).
- Check the oil level after every fifty hours of use. Use 80W-90 lubricant and fill to oil level plug. All replacement lubricant should be of this type.
- The universal joints should be greased with a good grade chassis lube every week. At the beginning of each season, grease the sliding driveshaft members with a moly grease.
SPECIFICATIONS
Tractor Category……………………………………………………..…..Category 1 or Category 2
Gear Box…………………………. Special alloy pinion gears and tapered roller bearings on both sides of each gear
Driveline… Series 4 equipped with quick-latch yoke to fit standard 6-spline PTO (completely shielded)
Augers……………………..……….. Sold separately. 6 in.,9 in. and12 in. sizes available
Cutting Edges………………………………………………. Replaceable High Carbon Steel
Point…………………………………………………………………….. Replaceable S piral tip
Boom…………………………………………………………………………..3 in. O.D. high strength tubing A-
frame…………………………………………………………………………3 in. O.D. high strength tubing
Safety shields……………………………………………………… On driveline, gear box “U” joint and gear box output shaft
Shear Pin………………………………………. Replaceable. On input shaft to protect driveline, auger and gears
DIGGER PARTS DRAWING & PARTS LIST
| Ref# | Drawing No. | Description | Qty |
| 1 | Z120-00003-CD | Lynch Pin | 4 |
| 2 | TS2400-00001-CD | Pull Pin I | 2 |
| 3 | YZ01-22000-CD | Hex Nut 7/8″-14UN-2B | 2 |
| 4 | 9306-22000-CD | Lock Washer Ø22 | 2 |
| 5 | 9301-22000-CD | Flat Washer Ø22 | 4 |
| 6 | TS2401-01000 | “A” Frame | 1 |
| 7 | TS2401-00001-CD | “A” Frame Pin | 1 |
| 8 | N800-00004-CD | Pull Pin II | 1 |
| 9 | TS2400-04000 | Driveline | 1 |
| 10 | 9101-06020-CD | Hex Bolt M6x20 | 3 |
| 11 | 9301-06000-CD | Flat Washer Ø6 | 3 |
| 12 | 9306-06000-CD | Lock Washer Ø6 | 3 |
| 13 | LSP30MD-02001 | Manual Canister | 1 |
| 14 | LSP30MD-02002 | Rubber Gasket | 1 |
| 15 | LSP30MD-02003 | Barrelhead | 1 |
| 16 | 9101-10030-CD8.8 | Hex Bolt M10x30 | 2 |
| 17 | 9306-10000-CD | Lock Washer Ø10 | 4 |
| 18 | 9301-10000-CD | Flat Washer Ø10 | 4 |
| 19 | TS2400-03010 | Input Shaft Shield | 1 |
| 20 | TS2401-02000 | Boom | 1 |
| 21 | TS2400-03000 | Gear Box | 1 |
| 22 | TS2400-00003-CD | Boom Pin | 1 |
| 23 | 9404-04040-CD | Cotter Pin Ø4×40 | 2 |
| 24 | TS2400-03011 | Output Shaft Shield | 1 |
| 25 | 9104-10020-CD8.8 | Inner Hex Flat Screw M10x20 | 2 |
| 26 | YZ01-1/2″-13UNC-2A*3-1/2″-CD8.8 | Hex Bolt 1/2″-13UNC-2A*3-1/2″ | 2 |
| 27 | YZ06-12000-CD | Nylon Lock Nut 1/2″-13UNC-2B | 2 |
| 28 | YZ01-3/8″-16UNC-2A*3″-CD8.8 | Hex Bolt 3/8″-16UNC-2A*3″ | 1 |
| 29 | YZ06-10000-CD | Nylon Lock Nut 3/8″-16UNC-2B | 1 |
| 30 | Optional auger | Please go ordering information for choice | / |
| 31 | YZ09-1/4″-20UNC-2A*3/8″-FH8.8 | Set Screw 1/4″-20UNC-2A*3/8″ | 1 |
DIGGER PARTS DRAWING & PARTS LIST
ORDERING INFORMATION
| PART NO. | DESCRIPTION |
| YTL-017-787 | 6’’ auger with spiral point and replaceable carbide cutting edges |
| YTL-017-794 | 9’’ auger with spiral point and replaceable carbide cutting edges |
| YTL-017-800 | 12’’ auger with spiral point and replaceable carbide cutting edges |
CUTTING EDGES, SPIRAL POINT DRAWING & PARTS LIST
NOTE: It is important to replace the point and cutting edges when they show signs of excessive wear.
| REF. NO | DESCRIPTION | QTY |
| 1 | Carbide Cutting Edge | Varies by auger |
| 2 | 1/2’’x 1’’ UNC Carriage Bolt | 1 per cutting edge |
| 3 | 1/2’’ UNC Lock Nut | 1 per cutting edge |
| 4 | 1/2’’x3-1/2’’ Bolt | 1 |
| 5 | 1/2’’ Lock Nut | 1 |
| 6 | Spiral Point | 1 |
LIMITED WARRANTY
For 1 year from the date of purchase YTL International will replace or repair defects in material and workmanship, the gear box has a three warranty for the original purchaser of the digger. The warranty will not apply to any unit which was not assembled correctly, misused, overloaded or which has been used or operated contrary to our instructions, or which has been repaired or altered by anyone other than a service representative authorized by YTL International Inc.
Warranty Exclusions This warranty does not cover cosmetic defects such as paint, decals or wear items This warranty will not cover failures or problems due to acts of God, or events or forces beyond the control of the manufacturer. Normal Wear Exclusion The digger needs periodic service to perform well. This warranty does not cover repair when normal use has exhausted the life of a part or the equipment as a whole. Installation, Use and Maintenance Exclusion This warranty will not apply to parts and/or labor if the digger has been misused, neglected, involved in an accident, abused, loaded beyond its limits, modified or assembled incorrectly. Normal maintenance is not covered under this warranty.
Contact Information YTL International Inc. 17517 Fabrica Way Suite H Cerritos, CA 90703Phone: (888) 723-6534 or (562) 404-8016 Fax: (562) 404-8013 Website: www.ytlinternational.comContact Information below for Warranty and Service Parts and Service: Toll Free (888) 723-6534 (USA & Canada) Email: [email protected]




















