SWIT CL-M100D Studio Panel LED Light

Specification
| Model LED QTY | CL-M100D 576pcs |
| Color Temperature | 2700K-6500K |
| Brightness | 0%-100% |
| Illumination | 3400 Lux@1m |
| Half Peak Beam Angle | About 62° |
| CRI | 98 |
| TLCI | 99 |
| SS(I D55) | 73 |
| Working Voltage | AC 100-240V,50/60Hz ; DC 11-17V |
| Output Power | ≤130W |
| Dimension | See Fig.1、Fig.2、Fig.3 |
| Weight | 5.6Kg |

- Warning 1. Do not disassemble the panel light or touch the interior with metal objects to avoid damage;
- Do not store the panel light in dusty or wet environment to avoid damage;
- USB interface is reserved interface, please use it according to the specified environment of the company’s related products, not for other purposes, so as not to cause loss;
- Do not connect the output device of the DMX signal in the panel light network when using the mutual control function of the panel light, otherwise the function can not be used normally;
- Only use the light in the temperature range of -10℃-40℃.
Maintenance
- Please use a soft dry cloth to clean the front panel of the product, or use a soft cloth dipped in a neutral detergent solution Wipe with a soft, dry cloth.
- Do not wipe the front panel with a wet cloth, anhydrous alcohol, gasoline, or the mixture of anhydrous alcohol and ether. Otherwise, the front panel may be damaged.
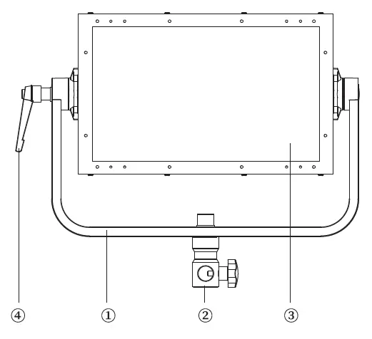
Overall Dimension
Front View:

Back View

- U-Bracket
- York Connector
- Diffuser
- Fasten Knob
- DMX OUT
- DMX IN
- USB
- DC 11-17 IN
- Power switch
- DIMMER djusting knob
- LCD
- COLOR Temp adjusting knob
- AC IN
- AC OUT
LCD Information
Take“CCT=5600K,Dimmer=100%,Full capacity,DMX Communication mode,DMX address “008” for example:

- Current Mode⸺DMX Mode
- Current Mode⸺Group Mode
- Current Dimmer value
- Current communication address
- Current color value
- Power indicator
Installation of safety rope
When lifting and using the lamps, please pass the safety rope (hereafter referred to as “safety rope”) through the lamp wire hole and the round tube of the barn door according to the method shown in Fig. 6, so as to establish an effective connection between the product and the hanging devices such as hinges. Precautions for use of safety rope are as follows:
- If you use your own safety rope, please confirm that the load of the safety rope is greater than that of this product;
- The safety rope cannot be dragged on the rough surface;
- Please check carefully before using the safety rope, where the rope strand is broken or the number of broken wires in one twist distance exceeds 6, the safety rope shall not be used.Safety rope with obvious wear, corrosion, deformation and damage caused by heat or arc is not allowed to use;
- The safety rope is strictly prohibited from contact with any charged body, hot object or flame;
- The two safety rope buckles shall not be directly connected with each other, and D shackle in accordance with the load specifications must be added.

Usage
Installation
Mount the lamp head onto a light stand, then fix it in place by tightening the T-Handle on the mounting column. Then loosen /tighten the handbrake locking mechanism on the yoke to adjust the tilt of the fixture.
Tips: Please use with safety rope when lifting lamps. See “Safety Rope Assembly” for the assembly method of safety rope.
Power supply
This light support DC 11-17V(Polarity:Pin1"-";Pin4"+")、AC 100- 240V 50/60Hz two ways of power supply, loop out is supported when AC power is supplied,Maximum:20pcs .
Brightness/CCT setting and usage
This product supports two brightness/color temperature adjustment modes: normal adjustment mode, fast adjustment mode.Switch according to the brightness/color temperature adjustment knob (Figure 4 ⑩/ unkind) . Users can quickly set brightness and color temperature by combining these two adjustment modes according to their needs.
Normal adjustment mode
CCT
Range:2700K-6500K,adjustment steps:50K;
Brightness
Range:0%-100%,adjustment steps:1%。
Communication address setting and usage
Hold the brightness adjustment knob (As shown in Figure 4 ⑩) for about 2 seconds to enter the communication address setting interface. The communication address setting range is 001-512. The LCD (Figure 5 ④) blinks, indicating that the current position is selected. Rotate the brightness adjustment knob (Figure 4 ⑩) to set the current position and press the brightness adjustment Knob (Figure 4 ⑩) to determine the current bit Settings and enter the next bit Settings. When the last bit Settings are completed, press the brightness adjustment knob (Figure 4 ⑩) or wait for about 5 seconds to exit the communication address Settings.
Communication control mode setting and usage
Connect the lamps through DMX, and press the color tempera-ture adjustment knob (FIG. 4) for about 2s to complete the setting of the communication control mode of the lamps.
DMX Communication mode
“DMX” is displayed in the upper left corner of LCD (Fig. 5 ①), indicating that the current communication control mode supported by the lamp is DMX communication mode.In this mode, the DMX signal output device is connected to the lamp network, the communication address is set, and it can be used normally. A lamp occupies a total of two DMX control channels, the current set DMX address (N) for brightness control, the current set value of the next address (N+1) for color temperature control
For example:
| DcoMmXmunication address | DCoMnXtrol address | Function |
| 005 | 005 | Intensity 0%-100% |
| 006 | Color temperature 2700K-6500K |
Mutual mode
“CH” is displayed in the upper left corner of LCD (Figure 5 ②), indicating that the communication control mode currently supported by the lamp is mutual control mode.In this mode, the target lamps are set to the same communication address and can be used normally without distinguishing the master and slave machines.
Note: When using the mutual control function of lamps, do not access the OUTPUT device of DMX signal in the network of lamps, otherwise the function can not be used normally;
USB usage
The USB port is a reserved port. Please use it according to the environment specified by the company’s related products. Otherwise, the USB port may not be used for other purposes.
Packing list
| No. | Item | Engineering kit |
| 1 | CL-M100D | X 1 |
| 2 | AC power cable | X 1 |
| 3 | Safety rope | X 2 |
| 4 | AC loop out cable(optional) | Client can purchase according to requirement |



















