
Pro Dual Pedestal Cable
Installation Guide
Watti Pro Dual Pedestal Cable
Single or Dual Pedestal INSTALLATION GUIDE goelectricave.com I [email protected]
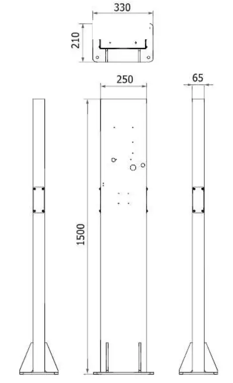
1. Dual-mounted pedestal outline dimensions. Unit: mm 
Installation Instructions
2 . 1 Concrete base requirement:
The built concrete pad should be compliant with local regulatory requirements. The following dimensions and struction-related descriptions are the minimum requirements only.
Fig. 1 The schematic of concrete pad
Cable Conduit Suggest
Charging current 32A : Use ur conduit.
Charging current 48A : Use 3/46 conduit.
Fig. 2 The concrete
| BALLON NO. | QTY | DISCRIPTION | MOTES |
| 1 | 1 | CONCRETE PAD | COMPRRESSIVE STRENGTH > 3000P51 |
| 2 | 4 | ANCHOR BOLT | M12 x 1.75Px100mm |
| 3 | 1 | ETHERNET CABLE | LENGHT FROM CONCRETE > 1500mm |
| 4 | 1 | AC POWER CABLE | LENGHT FROM CONCRETE >1500MM |
| 5 | 4 | CABLE CONDUIT | HEIGHT FROM CONCRETE > 200mm |
- First, build the concrete pad for the pedestal. The compressive strength must be over 3000psi. Reference Fig.1 and Fig. 2, and the concrete pad dimensions (space: W400mm x L400mm x HSO0mm) is shown in Fig. 3.
- Mount 4 pieces of M12X1.75 anchor bolts on the concrete pad based on the dimensions on page 3. The height of the bolt should be at least 20mm above the concrete pad and depth of the bolt should be at least 90mm.
Fig. 3 The Concrete pad dimensions - The conduit length must be over 200mm to avoid liquid entering.
- Ensure the length of AC power cable and the Ethernet (LAN) cable are long enough (1500mm) to reach up the pedestal body, then into the charger.
- Please follow the instructions of the AC charging station on the rack.
- After the AC and LAN cable work is finished, fill the conduit with silicone sealant to create water, dust, and bug resistance.
- Mount 4 pieces of M12X1.75 anchor bolts on the concrete pad based on the dimensions on page 3. The height of the bolt should be at least 20mm above the concrete pad and the depth of the bolt should be at least 90mm.
Side Entry
If using the side entry, seal it with silicone after completion.
2 . 2 Pedestal installation
- The pedestal base has 4 holes to align the anchor bolts and tight nuts (tightening torque > 400 kgf-cm).
Fig. 4 Pedestal anchor bolts install - The AC cable and LAN cable go through the holes off the pedestal body, shown as follows:

- The AC cable and LAN cable go through the holes off the pedestal body, shown as follows:



2 . 3 Final Steps
- The pedestal has four screw holes that can be used to fasten the bracket of EVSE, the positions are shown as follows:

- If you wish to use metal hoses, you need your own two hose waterproof joints.

- Metric thread BGQF-M
Rem No. Thread Suit to RCCN conduit item no
BGSuit to RCCN conduit item no
BGThread 0.0.
DIPanel Mounting
HoleThread Length
LIBlack BGQF- M258(BG-23) M25 X 1.5 BG-23 29. 25 25-25.4 12 - The mounted whole series EVSE are shown as follows.

goelectricave.com
[email protected]
Fig. 3 The Concrete pad dimensions
Fig. 4 Pedestal anchor bolts install

























