
ALLEN + ROTH™ and logo design are trademarks or registered trademarks of
LF, LLC. All rights reserved.
ITEM #4976287 / 4976288
VENTED NATURAL
GAS LOGS
Model #VL-W18DL / VL-W24DL

VL-W18DL 24-in 55000-BTU Dual Vented Gas Fireplace Logs
Complies with ANSI Z21.60-2017 / CSA 2.26-2017 – “Decorative gas appliances for installation in solid-fuel burning fireplaces” & ANSI Z21.84-2017 – “Manually lighted, natural gas, decorative gas appliances for installation in solid-fuel burning appliances.
INSTALLER: Leave this manual with the appliance.
CONSUMER: Retain this manual for future reference.
This appliance is convertible for use with propane/LP gas by using the MANUAL ON/OFF VALVE/SAFETY PILOT KIT (see ACCESSORIES on page 18).
SPECIFICATIONS
Note: This vented appliance must be installed only in a solid-fuel burning fireplace with a working flue and constructed of noncombustible material.
The charts indicate technical information regarding the installation of your gas log set.
Please make sure that all of the specifications shown are applicable before installation is attempted.
The fireplace must include a working flue and venting system with the minimum openings shown as below.
| ITEM VL-W18DL VL-W24DL | ||
| Input Rating (BTU/Hr) | 45,000 | 55,000 |
| Gas Type | NG | NG |
| Ignition Type | Match | Match |
| Max. Inlet Pressure | 7” WC | 7” WC |
| Min. Inlet Pressure | 5.5” WC | 5.5” WC |
| Normal Pressure | 7” WC | 7” WC |
| (For Purpose of Input Adjustment) | ||
| Minimum Vent Opening | 8” Diameter | 8” Diameter |
| Log Size | Height | Minimum Firebox Size Depth Front Width | Rear Width | |
| 18 in. Vented | 19” | 15” | 24”* | 20” |
| 24 in. Vented | 19” | 15” | 30”* | 26” |
*Important: If adding a Liquid Propane Conversion Safety Pilot Kit to the burner, 8″ needs to be added to the front width dimension.
SAFETY INFORMATION
CAUTION – FOR YOUR SAFETY
WARNING: IF THE INFORMATION IN THIS MANUAL IS NOT FOLLOWED EXACTLY, A FIRE OR EXPLOSION MAY RESULT CAUSING PROPERTY
DAMAGE, PERSONAL INJURY OR LOSS OF LIFE.
– Do not store or use gasoline or other flammable vapors and liquids in the vicinity of this or any other appliance.
– WHAT TO DO IF YOU SMELL GAS
- Do not try to light any appliance.
- Do not touch any electrical switch; do not use any phone in your building.
- Immediately call your gas supplier from a neighbor’s phone. Follow the gas supplier’s instructions.
- If you cannot reach your gas supplier, call the fire department.
– Installation and service must be performed by a qualified installer, service agency or the gas supplier.
This is a gas-fire appliance. It uses air (oxygen) from the room in which it is installed. Provisions for adequate combustion and ventilation air must be provided. Refer to Air For Combustion and Ventilation of page 7 of this manual.
IMPORTANT: Read this owner’s manual carefully and completely before trying to assemble, operate, or service this log set. Improper use of this log set can cause serious injury or death from burns, fire, explosion, electrical shock, and carbon monoxide poisoning.
Only a qualified installer, service agent, or local gas supplier may install and service this product.
WARNING: Do not store or use gasoline or other flammable vapors or liquids in the vicinity of this or any other appliance.
WARNING: The log set is shipped from the factory adjusted for natural gas use only. Liquid
Propane can only be used after installation of Liquid Propane Conversion Safety Pilot Kit.
CARBON MONOXIDE POISONING: Early signs of carbon monoxide poisoning resemble the flu with headaches, dizziness, or nausea. If you have these signs, the log set may not be working properly. Get fresh air immediately! Have log set serviced. Some people are more affected by carbon monoxide than others. These include pregnant women, people with heart or lung disease, people who are anemic, those under the influence of alcohol, and those living in high altitudes.
NATURAL AND PROPANE/LP GAS: Natural and Propane/LP gases are odorless. An odor-making agent is added to the gas. The odor helps you detect a gas leak. However, the odor added to the gas can fade. Gas may be present even though no odor exists. Make certain you read and understand all warnings. Keep this manual for reference. It is your guide to operating this log set safely.
WARNING:
- Due to high temperatures, locate this appliance out of traffic and away from furniture and draperies.
- Log set becomes very hot when operating. Keep children and adults away from hot surfaces to avoid burns or clothing ignition. Log set will remain hot for a time after shutoff.
Allow surfaces to cool before touching. - Carefully supervise young children when they are in the room with the log set.
- Do not place clothing or other flammable material on or near the appliance. Never place any objects in the log set.
- Installation and repair should be done by a qualified service person. The appliance should be inspected before use and at least annually by a professional service person. More frequent cleaning may be required due to excessive lint from carpeting, bedding material, etc. It is imperative that control compartments, burners and circulating air passageways of the appliance be kept clean.
- Any change to this log set or its controls can be dangerous.
- DO NOT OPERATE THIS GAS LOG SET WITH GLASS DOORS CLOSED.
- Do not use any accessories not approved for use with this log set.
- Keep the appliance area clear and free from combustible materials, gasoline, and other flammable vapors and liquids.
WARNING
This product and the fuels used to operate this product (liquid propane or natural gas), and the products of combustion of such fuels, can expose you to chemicals including benzene, which is known to the State of California to cause cancer and reproductive harm. For more information go to www.p65Warnings.ca.gov
- This appliance is only for use with the type of gas indicated on the rating plate.
- Do not place propane/LP supply tank(s) inside any structure. Locate propane/LP supply tank(s) outdoors.
- If you smell gas
• Shut off gas supply
• Do not try to light any appliance
• Do not touch any electrical switch; do not use any phone in your building
• Immediately call your gas supplier from a neighbor’s phone. Follow the gas supplier’s instructions
• If you cannot reach your gas supplier, call the fire department - This log set shall not be installed in a bedroom or bathroom.
- Do not use this log set as a wood-burning log set. Use only the logs provided with the log set.
- Do not add extra logs or ornaments such as pine cones, vermiculite or rock wool. Using these added items can cause sooting.
- This log set is designed to be smokeless. If logs ever appear to smoke, turn off log set and call a qualified service person.
Note: During initial operation, slight smoking could occur due to log curing and log set burning manufacturing residues. - To prevent the creation of soot, follow the instructions in Cleaning and Maintenance, page 18-19.
- Before using furniture polish, wax, carpet cleaner or similar products, turn log set off. If heated, the vapors from these products may create a white powder residue within burner box or on adjacent walls or furniture.
- This log set needs fresh air ventilation to run properly.
- Do not run log set
• Where flammable liquids or vapors are used or stored.
• Under dusty conditions. - Do not use this log set to cook food or burn paper or other objects.
- Never place any objects in the fireplace or the logs.
- Do not use log set if any part has been under water. Immediately call a qualified service technician to inspect the log set and to replace any part of the control system and any gas control which has been under water.
- Turn off and unplug log set and let cool before servicing. Only a qualified service person should service and repair log set.
QUALIFIED INSTALLING AGENCY
Only a qualified agency should install and replace gas piping, gas utilization equipment or accessories, and repair and equipment servicing. The term “qualified agency” means any individual, firm, corporation, or company that either in person or through a representative is engaged in and is responsible for:
a) Installing, testing, or replacing gas piping or
b) Connecting, installing, testing, repairing, or servicing equipment; that is experienced in such work; that is familiar with all precautions required; and that has complied with all the requirements of the authority having jurisdiction.
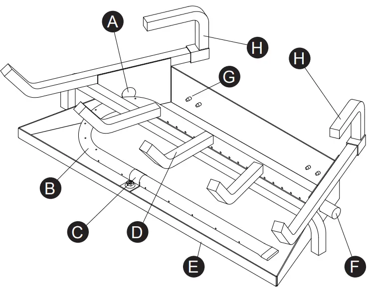
PACKAGE CONTENTS

| VL-W18DL / VL-W24DL | |
| Item | Description |
| A | Cover Plate* |
| B | Burner Manifold |
| C | Burner Clamp* |
| D | Grate |
| E | Burner Pan |
| F | Burner Inlet |
| G | Pilot Bracket Screw (4) 8X3/8PPHTS-B |
| H | Log Risers |
*Uses (4) 8X3/8PPHTS-B Screws
PRODUCT FEATURES
The State of Massachusetts requires that the chimney flue damper, when used with decorative gas log sets, be welded open or completely removed. In the State of Massachusetts, this appliance must be installed by a licensed plumber or gasfitter.
In the State of Massachusetts the gas cock must be a T-handle type. The State of Massachusetts requires that a flexible appliance connector cannot exceed three feet in length.
LOCAL CODES
Install and use log set with care. Follow all codes. In the absence of local codes, use the latest edition of The National Fuel Gas Code, ANSI Z223.1, also known as NFPA 54*.
*Available from:
American National Standard Institute, Inc.
1430 Broadway
New York, NY 10018
National Fire Protection Association, Inc.
1 Batterymarch Park
Quincy, MA 02269-9101
UNPACKING
CAUTION: Do not remove the metal data plates from the burner pan. The data plates contain important product information.
- Remove logs, pan materials, and hardware from carton.
- Remove all protective packaging applied to logs and base for shipment.
- Check all items for any shipping damage. If damaged, promptly inform the dealer where you bought the product.
Fig. 1
For Masonry Built Fireplaces Free Opening Area Of Chimney Damper
| Log Set Size | ||
| 18″ | 24″ | |
| Chimney Height* (ft) | Minimum Opening (sq. in.)** | |
| 6 | 41.7 | 49.2 |
| 8 | 38.7 | 45.5 |
| 10 | 35.2 | 41.7 |
| 15 | 32.0 | 37.7 |
| 20 | 28.8 | 34.3 |
| 30 | 26.5 | 31.2 |
* Height is from hearth to top of chimney and the minimum height is 6 feet.
** Chart shows minimum opening (sq. in.) for a given height and input rate.
For Factory Built Fireplaces Free Opening Area Of Chimney Damper
| Log Set Size | ||
| 18″ | 24″ | |
| Chimney Height* (ft) | Minimum Opening (sq. in.)** | |
| 10 | 28.3 | 35.3 |
| 15 | 21.2 | 26.4 |
| 20 | 18.1 | 22.1 |
| 25 | 15.9 | 18.1 |
| 30 | 14.5 | 17.3 |
| 35 | 13.2 | 15.9 |
| 40 | 12.6 | 15.2 |
* Height is from hearth to top of chimney and the minimum height is 10 feet.
** Chart shows minimum opening (sq. in.) for a given height and input rate.
PREPARING FOR INSTALLATION
AIR FOR COMBUSTION AND VENTILATION
WARNING: If the area in which the log set may be operated does not meet the required volume for indoor combustion air, combustion and ventilation air shall be provided by one of the methods described in the National Fuel Gas Code, ANSI Z223.1/NFPA 54, the International Fuel Gas Code, or applicable local codes.
Today’s homes are built more energy efficient than ever. New materials, increased insulation, and new construction methods help reduce heat loss in homes. Home owners weather strip and caulk around windows and doors to keep the cold air out and the warm air in. During heating months, home owners want their homes as airtight as possible. While it is good to make your home energy efficient, your home needs to breathe. Fresh air must enter your home. All fuel-burning appliances need fresh air for proper combustion and ventilation.
Exhaust fans, fireplaces, clothes dryers, and fuel burning appliances draw air from the house to operate. You must provide adequate fresh air for these appliances. This will ensure proper venting of vented fuel-burning appliances.
WARNING: Before installing in a solid fuel burning fireplace, the chimney flue and firebox must be cleaned of soot, creosote, ashes, and loose paint by a qualified chimney cleaner. Creosote will ignite if highly heated. A dirty chimney flue may create and distribute soot within the house. Inspect chimney flue for damage.
NOTICE: Installation, service, and repair of this appliance must be performed by a qualified installer, service agency, company or gas supplier experienced with this type of gas appliance. Only factory authorized components listed in these instructions may be used in accordance with the manufacturer’s instructions and all codes and requirements of the authority having jurisdiction. Any modifications to this kit, or use of unauthorized components, or accessory items, will void the manufacturer’s warranty, and may result in a hazardous condition.
CAUTION: Do not remove the metal data plates attached to the burner pan. The data plates contain important warranty information.
INSTALLATION
CHECK GAS TYPE
Use only natural gas. If your gas supply is not natural gas, you must install On/Off Safety Pilot
Valve Kit (see Accessories, page 19).
If the fireplace does not have a gas supply shutoff valve, one must be installed.
VENTING SPECIFICATIONS FOR INSTALLATION
The fireplace chimney flue and vent must be drafting properly. To check the vent for proper drafting, light a tightly rolled newspaper on one end and place it at the inside front edge of the fireplace. Observe the smoke and be sure the vent is properly drawing it up the chimney. If the smoke spills out into the room, extinguish the flame and remove any obstruction until proper venting is achieved. The chimney flue must remain open a minimum of 3″ at all times during the operation of this log set. Any chimney damper must be fixed in a manner which will maintain the minimum permanent vent opening at all times. It is highly recommended to install adamper clamp (See next page) to prevent the damper from accidentally closing. The minimum permanent free opening (in square inches) that must be provided by either the fireplace chimney or chimney damper to vent the flue gases. The minimum vent area shall be determined by the manufacturer in accordance with the venting specifications page 7, Fig. 1 for each of the chimney heights indicated. (Per 1.15.7.; ANSI 1.14.1B)
INSTALLATION
PREPARE DAMPER
The chimney damper must be fixed open in a manner which will maintain the minimum permanent vent opening at all times. This may be accomplished by installing a screw or bolt in the edge of the damper to prevent the damper from closing, by drilling a hole or holes in the damper blade or by installing the supplied damper clamp on the edge of the damper blade (see Figure 2).
NOTE: The State of Massachusetts requires the chimney damper to be removed or to be welded in the fully open position.

HEARTH KIT ASSEMBLY
Note: The following instructions apply to dual flame “U” style burners. Be sure all pipe threaded connections are tight, and have thread compound to prevent leaks.
- Determine which side the gas line will be coming into the fireplace. Gas line is on the right side. This unit is manufactured with the gas inlet on the right side of the burner pan. See Installation and Gas Connection, page 10. Gas line is on the left side. If your gas line will be coming into the fireplace from the left side, continue with step 2.
- Using a screwdriver, remove cover plate on left side of burner pan (see Figure 3).
- Unscrew burner inlet fitting from burner manifold (see Figure 3).
- Place burner manifold in pan with threaded opening facing opening on left side.
- Using thread sealant (resistant to the action of natural gas) on larger end of fitting, screw the burner inlet fitting through hole and into burner manifold. Tighten using a wrench (see Figure 4).
- Using burner clamp, screw, and nut provided, assemble clamp to pan. This will hold the burner manifold in place (see Figure 4).
- Using screws removed in step 2, install cover plate over opening on right side of burner pan (see Figure 4).
![]() | ![]() |
In compliance with ANSI Z21.60•CGA2.26 and National Fuel Gas Code, Section 6.
BEFORE INSTALLING THE APPLIANCE
– Turn off gas supply to fireplace or firebox.
– Clean fireplace floor and chimney before installing log set. Seal any ash. Clean out doors to protect the unit from down drafts.
WARNING:Before installing this appliance, have the fireplace and chimney professionally cleaned to remove any ashes, soot, creosote, or other obstructions. Perform this cleaning annually after installation.
Installation and Gas Connection (See Fig. 5)
1. Place the burner pan assembly in the center of the fireplace floor. Make sure the front of pan faces forward.
2a. Thread the keyed shut-off valve to the fireplace gas supply pipe. Use thread sealant.
2b. If a keyed shut-off valve is already installed, thread
1/2″ female connector to the fireplace gas supply pipe.
Use thread sealant.
3. Thread adapter fitting into keyed shut-off valve (or 1/2″ Female Connector).
4. Install 3/8″ orifice fitting onto the burner inlet fitting using thread sealant on male threads of burner inlet fitting.
5. Install the gas flex tube to the adapter fitting.
Carefully shape tube to attach to orifice fitting.
CONNECTION TO GAS SUPPLY
WARNING: A qualified service person must connect log set to gas supply. Follow all local codes.
Installation Items Needed
Before installing log set, make sure you have the items listed below.
- piping (check local codes)
- sealant (resistant to natural gas)
- equipment shutoff valve
- test gauge connection
- adjustable (crescent) wrench or pliers
- sediment trap
- tee joint
- pipe wrench
CAUTION: Only use a new, black iron or steel pipe. Internally-tinned copper tubing may be used in certain areas. Check your local codes. Use pipe of 1/2″ diameter or greater to allow proper gas volume to log set. If pipe is too small, loss of pressure will occur.
Installation must include an equipment shutoff valve, union, and plugged 1/8″ NPT tap. Locate NPT tap within reach for test gauge hook up. NPT tap must be upstream from log set (see Figure 6).
IMPORTANT: Install equipment shutoff valve in an accessible location. The equipment shutoff valve is for turning on or shutting off the gas to the appliance. Apply pipe joint sealant lightly to male threads.This will prevent excess sealant from going into pipe. Excess sealant in pipe could result in a clogged burner injector. Install sediment trap in supply line as shown in Figure 6. Locate sediment trap where it is within reach for cleaning. Locate sediment trap where trapped matter is not likely to freeze. A sediment trap traps moisture and contaminants. This keeps them from going into log set controls. If sediment trap is not installed or is installed incorrectly, log set may not run properly.

CHECKING GAS CONNECTIONS
WARNING: Test all gas piping and connections for leaks after installing or servicing. Correct all leaks immediately.
WARNING: Never use an open flame to check for a leak. Apply a mixture of liquid soap and water to all joints. If bubbles form, there may be a leak. Correct all leaks immediately.
Pressure Testing Gas Supply Piping System
Test Pressures In Excess Of 1/2 PSIG ( 3.5kPa )
- Disconnect log set with its appliance main gas valve (control valve) and equipment shutoff valve from gas supply piping system. Pressures in excess of 1/2 PSIG will damage log set regulator.
- Cap off open end of gas pipe where equipment shutoff valve was connected.
- Pressurize supply piping system by either using compressed air or opening gas supply tank valve.
- Check all joints of gas supply piping system. Apply mixture of liquid soap and water to gas joints. If bubbles form, there may be a leak.
- Correct all leaks immediately.
- Reconnect log set and equipment shutoff valve to gas supply. Check reconnected fittings for leaks.
Test Pressures Equal To or Less Than 1/2 PSIG (3.5 kPa)
- Close equipment shutoff valve (See Fig. 7).
- Pressure supply piping system by either using compressed air or opening gas supply tank valve.
- Check all joints from gas meter to equipment shutoff valve (See Fig. 8.1 & 8.2). Apply mixture of liquid soap and water to gas joints. If bubbles form, there may be a leak.
- Correct all leaks immediately.

Pressure Testing Log set Gas Connections
- Open equipment shutoff valve (See Fig. 7).
- Open gas supply tank valve.
- Make sure control knob of log set is in the OFF position.
- Check all joints from equipment shutoff valve to control valve (See Fig. 8.1 & 8.2). Apply mixture of liquid soap and water to gas joints. If bubbles form, there may be a leak.
- Light log set (see Operation, page 16).
Check all other internal joints for leaks. - Turn off log set (see “To Turn Off Gas to Appliance,” page 16).

ADDING PAN MATERIAL
WARNING: Apply loose material (embers and lava rock [cinders]) per instruction manual. DO NOT apply extra material not supplied with this appliance. All previously applied loose material (embers) must be removed prior to reapplication.
- Open bags of ash bed material (vermiculite), and spread evenly across burner pan to the top. It is ok to cover the connecting hardware and the burner pan, but DO NOT cover the gas valve.
- Open Glowing Embers and lightly and evenly cover the Vermiculite that was put into the pan on step 1 with 1/2″ size ember fiber pieces.
- Place the Lava Rock around the burner assembly. DO NOT place inside of heater or on logs. Place desired amount of lava rock on the fireplace floor only.
ASSEMBLING LOGS
VL-W18DL, VL-W24DL
WARNING: Failure to position the parts in accordance with these diagrams or failure to use only parts specifically approved with this log set may result in property damage or personal injury.
CAUTION: After installation and periodically thereafter, check to ensure that no yellow flame comes in contact with any log. With the log set set to High, check to see if yellow flames contact any log. If so, reposition logs according to the log installation instructions in this manual. Yellow flames contacting logs will create soot.
It is very important to install the logs exactly as instructed. Do not modify logs; use only logs supplied with log set. Each log is marked with a number, and this number will help you identify each log during installation.
NOTE: These log installation instructions are recommended to decrease the amount of sooting the most.

- After optional accessories are installed (see previous page), slide both risers onto the back of the grate. Make sure the back of the grate is flush with the back of the riser.

- Place log #1 on the top of the front grate and make sure the log is centered in the grate.

- Carefully place log #2 on the top of the risers. Make sure the log is centered on top of the risers.

- Place log #3 so it is resting on the top left of logs #1 and #2.

- Place log #4 so it is resting on the top right of logs #1 and #2.

- Place log #5 so it is resting on logs #3 and #2 only.

- Place log #6 so that it is resting on logs #1 and #4.

OPERATION
FOR YOUR SAFETY
READ BEFORE LIGHTING
WARNING: If you do not follow these instructions exactly, a fire or explosion may result causing property damage, personal injury or loss of life.
A. This appliance requires ignition by match lighting. When lighting the appliance, follow these instructions exactly.
B. BEFORE LIGHTING smell all around the appliance area for gas. Be sure to smell next to the floor because some gas is heavier than air and will settle on the floor.
WHAT TO DO IF YOU SMELL GAS
- Do not try to light any appliance.
- Do not touch any electrical switch; do not use any phone in your building.
- Immediately call your gas supplier from a neighbor’s phone. Follow the gas supplier’s instructions.
- If you cannot reach your gas supplier, call the fire department
C. Use only your hand to push in or turn the gas control knob. Never use tools. If the knob will not push in or turn by hand, don’t try to repair it, call a qualified service technician. Forced or attempted repair may result in fire or explosion.
D. Do not use this appliance if any part has been under water. Immediately call a qualified service technician to inspect the appliance and to replace any part of the control system and any gas control which has been under water.
E. Solid fuels shall not be burned in a fireplace where a decorative appliance is installed.
F. A fireplace screen must be in place when the appliance is operating and, unless other provisions for combustion air are provided, the screen shall have an opening(s) for introduction of combustion air.
IMPORTANT: This gas log set requires curing the first time that they are put into operation. You must complete the following instructions for curing to avoid cracking the logs with continued use.
During the 3 hour “curing period” of the appliance, you may detect an odor from the appliance. Do not be alarmed, this is a temporary and normal situation, which indicates the various compounds and paints being used in the log set are curing. Optionally, additional ventilation to the room during this “curing period” may be something to consider.
Proper curing of the logs should go as follows:
- Ignite a 2″ flame. Maintain for 1 hour
- Let the logs cool down for 30 minutes
- Ignite the appliance again, but with the flame 2″ higher than the last time. Maintain for 1 hour
- Repeat steps 2-3 until flame reaches maximum height, and for a total of 3 hours.
LIGHTING INSTRUCTIONS MATCH LIGHT UNITS
- STOP! Read the safety information as noted above.
WARNING: BE SURE THAT THE CHIMNEY DAMPER IS FULLY OPEN. - Read all warnings and safety information in this manual.
- Turn keyed shutoff valve to the “OFF” position (see Figure 30).
- Wait five (5) minutes to clear out any gas. If you smell gas, STOP! Follow the safety instructions on the previous page named “WHAT TO DO IF YOU SMELL GAS”. If you do not smell gas, continue onto the next step.
- Place a burning match on the surface of the burner embers. Do not hold match in hand.
- Slowly turn keyed shutoff valve ON. The gas should ignite in five (5) seconds. If there is no ignition within ten seconds of laying the match down, set keyed shutoff valve to OFF and repeat steps 1-5 again.

WARNING: The fireplace screen must be in place when the appliance is operating and, unless other provisions for combustion are provided, the screen shall have an opening(s) for introduction of combustion air.
WARNING: Any glass doors shall be completely opened while appliance is in operation.
TO TURN OFF GAS TO APPLIANCE
- Gently turn the keyed shutoff valve to the “OFF” position. (See Figure 30).
CARE AND MAINTENANCE
BURNER FLAME PATTERN
Figure 31 shows a correct burner flame pattern. Figure 32 shows an incorrect burner flame pattern. The incorrect burner flame pattern shows sporadic, irregular flame tipping. The flame should not be dark or have an orange/reddish tinge.
Note: When using the log set the first time, the flame will be orange for approximately one hour until the log cures.
If burner flame pattern is incorrect, as shown in Figure 32.
• turn log set off (see To Turn Off Gas to Appliance, page 16).
• see Troubleshooting, page 19.

WARNING: Turn off log set and let cool before servicing.
CAUTION: You must keep control areas, burner, and circulating air passageways of log set clean. Inspect these areas of log set before each use. Have log set inspected yearly by a qualified service person. Log set may need more frequent cleaning due to excessive lint from carpeting, bedding material, pet hair, etc.
WARNING: Failure to keep the primary air opening(s) of the burner(s) clean may result in sooting and property damage.
BURNER ORIFICE HOLDER AND PILOT AIR INLET HOLE
The primary air inlet holes allow the proper amount of air to mix with the gas. This provides a clean burning flame. Keep these holes clear of dust, dirt, lint and pet hair. Clean these air inlet holes prior to each heating season. Blocked air holes will create soot. We recommend that you clean the unit every three months during operation and have log set inspected yearly by a qualified service person.
We also recommend that you keep the burner tube and pilot assembly clean and free of dust and dirt. To clean these parts we recommend using compressed air no greater than 30 PSI. Your local computer store, hardware store or home center may carry compressed air in a can. If using compressed air in a can, please follow the directions on the can. If you don’t follow directions on the can, you could damage the pilot assembly.
Periodic examination and cleaning of the venting system and the solid fuel-burning fireplace, including frequency of such examination and cleaning, must be done by a qualified agency.
• Keep the area around the log set clean and clear of debris.
• Once every year a qualified agency or certified chimney sweep should examine and clean the venting system of the fireplace.
At the beginning of each season, the system should be checked as follows:
- Check the chimney flue/vent pipe to ensure that the flue is drawing properly. This will also check if any vent pipe connections are tight.
- Check to see that the chimney/vent termination have no blockages.
- Check the chimney and/or vents for creosote and soot build-up and clean if necessary.
- Inspect the burners and pilot (if applicable).
The burner system has been previously adjusted for proper operation at the factory. No adjustment is necessary, other than pilot flame or altitude de-rate.
SOOTING & CLEANING LOGS
Occasional sooting of your log set is common, adding to the appearance of real burned wood. If excessive sooting is occurring and accumulates, the logs can be cleaned using either of the following options:
A. Spray the logs with clean water while they are burning and hot. The soot will burn and lift off.
B. Brush the soot off with a stiff brush while the logs are cool. While using a brush, do not use water or soot cleaners.
ACCESSORIES
Purchase these fireplace accessories from your local dealer. If they can not supply these accessories, contact customer service department for information.
Note: Moisture may cause the granules and Glowing Embers in your burner pan to settle. To return the flame to the original condition and improve the burn, follow these tips.
a. Settling of sand (or vermiculite) – Using a screwdriver or flat-blade knife, carefully stir the granules, loosening the material. Clear up any spills.
b. Embers – Break up any clumps (where used) – Inspect control and pilot to be sure it is free of dirt or debris.

VMC100 – VERMICULITE
Helps spread gas evenly throughout the burner pan for a more full flame pattern. Also, doubles as an ash bed.
LVR100L – LAVA ROCK
Enhances depth and realism by creating a realistic rock bed for vented or vent-free gas logs. Use as a replacement or first-time use.
GEF100L – GLOWING EMBER FIBERS
Adds realism to gas logs by providing the same effect as a glowing bed of ashes found in a wood-burning fire.
TROUBLESHOOTING
WARNING: If you smell gas:
- Shut off gas supply.
- Do not try to light any appliance.
- Do not touch any electrical switch; do not use any phone in your building.
- Immediately call your gas supplier from a neighbor’s phone. Follow the gas supplier’s instructions.
- If you cannot reach your gas supplier, call the fire department.
IMPORTANT: Operating log set where impurities in air exist may create odors. Cleaning supplies, paint, paint remover, cigarette smoke, cements and glues, new carpet or textiles, etc., create fumes. These fumes may mix with combustion air and create odors.
WARNING: Turn off and let cool before servicing. Only a qualified service person should service and repair log set.
| PROBLEM | POSSIBLE CAUSE | CORRECTIVE ACTION |
| Log set is smoking/ sooting excessively Note: It is natural and unavoidable for vented gas log sets to produce moderate levels of carbon(soot) where flames contact the logs. | 1. Poor fuel quality. 2. Fireplace venting system not drafting properly. 3. Excessive flame impinge- ment or blockage. 4. Improper fuel/air mixture. 5. Excessive gas supply/ pres- sure. 6. Damper closed or not open sufficiently. | 1. Contact local natural gas company. 2. Adjust damper wide open and/or have fireplace and venting professional cleaned and checked. 3. Separate the logs to allow more flame passage. 4. Remove any foreign items from the flame pattern. 5. Preheat flue in very cold weather 6. Open the damper fully when operating the gas log set. |
| Burner is exces- sively noisy. Note: The movement and combustion of gas will create low, un- avoidable levels of noise. | 1. Passage of air/gas across irregular surfaces. | 1. Relieve any tight bends or kinks in gas supply line. |
| Burner flame is too low or too high. | 1. Incorrect gas supply or pres- sure. 2 Blocked burner orifice or burner manifold ports. 3. Improper burner orifice size. 4. Valve not operating properly. 5. High Altitude. | 1. Check for proper gas supply pressure. 2. Free burner orifice and manifold ports of any burrs, paint, or other blockage. 3. Verify proper burner orifice sizing. 4. Replace Valve. 5. Adjust orfice size for altitude. |
| PROBLEM | POSSIBLE CAUSE | CORRECTIVE ACTION |
| Log set produces a clicking/ticking noise just after burner is lit or shut off. | 1. Metal expanding while heating or contracting while cooling. | 1. This is common with most log sets. If noise is excessive, contact qualified service person. |
| Log set produces unwanted odors. | 1. Log Set burning vapors from paint, hair spray, glues, cleaners, chemicals, new carpet, etc. (See IMPORTANT statement page 20). 2. Gas leak. See Warning statement page 20. | 1. Open flue to maximum. Stop using odor causing products while log set is running. 2. Locate and correct all leaks (see Checking Gas Connections, page 11). |
| Gas odor even when control knob is in OFF position. | 1. Gas leak. See Warning statement page 19. 2. Control valve defective. | 1. Locate and correct all leaks (see Checking Gas Connections, page 11). 2. Replace control valve. |
| Gas odor during combustion. | 1. Gas leak. See Warning statement at top of page 19. | 1. Locate and correct all leaks (see Checking Gas Connections, page 11). |
| Whistle noise when burner is on. | 1. Air in gas line. 2. Control knob not in fully open position. 3. Spiral gas flex line. | 1. Bleed gas lines. 2. Turn control to full Open position. 3. Replace gas supply line. |
REPLACEMENT PARTS
For replacement parts, call our Technical Service Department at 1-877-447-4768, 8:30 a.m. –4:30 p.m., CST, Monday – Friday.

VL-W18DL / VL-W24DL
| ITEM | DESCRIPTION | QTY | PART NO. | |
| No. | VL-W18DL 80-06-27 | VL-W24DL 80-06-28 | ||
| 1 | Log Set (Complete) | 1 | ||
| 1-1 | Log 1 | 1 | H-0063 | H-0068 |
| 1-2 | Log 2 | 1 | H-0064 | H-0069 |
| 1-3 | Log 3 | 1 | H-0061 | H-0066 |
| 1-4 | Log 4 | 1 | H-0062 | H-0067 |
| 1-5 | Log 5 | 1 | H-0060 | H-0065 |
| 1-6 | Log 6 | 1 | H-0059 | H-0059 |
| 6 | Shut-Off Valve | 1 | 80-06-30 | 80-06-30 |
| 7 | Damper Clamp | 1 | 80-06-031 | 80-06-031 |
| 8 | 12″ Flex Line | 1 | 80-06-032 | 80-06-032 |
| 9 | 3/8″ Flare x 1/2″ MIP Connector | 1 | 80-05-104 | 80-05-104 |
| 10 | 3/8″ orifice fittingr (NG) | 1 | 80-06-034 | 80-06-034 |
| 11 | Log Riser | 2 | 80-06-035 | 80-06-035 |
| 12 | Cover Plate | 1 | 80-06-036 | 80-06-036 |
| 13 | Burner tube Clamp | 1 | 80-06-037 | 80-06-037 |
| 14 | Burner tube | 1 | 80-06-038 | 80-06-039 |
| 15 | 1/2″ Female connector | 1 | 80-06-033 | 80-06-033 |
Printed in China![]()
Questions, problems, missing parts? Before returning to your retailer, call our customer service department at 1-877-447-4768, 8:30 a.m. – 4:30 p.m., CST, Monday – Friday or email us at [email protected].
AS22222
80-10-653 – 2022-04-27






















