CADDY cfs297 109 Series Side Mount Strap Hander Instructions
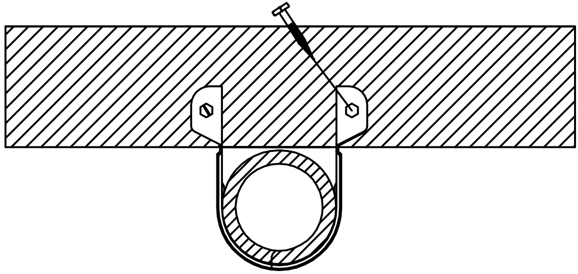
SCRREWE PROVDED
| PART NO. | PIPE DIA. |
| 1090075EG | 3/4″ |
| 1090100EG | 1″ |
| 1090125EG | 1/4″ |
| 1090150E0 | 1/2″ |
| 1090200EG | 2″ |
USE FOR PVC PIPE ONLY

- SNAP PVC PIPE INTO HANGER. DIMPLES HOLD PIPE IN PLACE. 2. MOUNT HANGER ONTO WOOD BEAM WITH SCREWS PROVIDED.
- MAY ALSO BE USED ON THE UNDERSIDE OF BEAM. (SEE BELOW)
- DO NOT ANCHOR TIGHTLY TO SURFACE, PIPE MUST SLIDE FREELY THROUGH HANGER.
- INTENDED FOR USE AS A GUIDE WHEN THE PIPE IS INSTALLED ON THE TOP SIDE OF A BEAM. THIS IS DUE TO THE FACT THAT THE BEAM IS SUPPORTING THE WEIGHT OF THE PIPE, NOT THE HANGER.

WARNING
- ERICO products shall be installed and used only as indicated in ERICO product instruction sheets and training materials. Instruction sheets are available at www.erico.com and from your ERICO customer service representative.
- ERICO products must never be used for a purpose other than the purpose for which they were designed or in a manner that exceeds specified load ratings.
- All instructions must be completely followed to ensure proper and safe installation and performance.
- Improper installation, misuse, misapplication or other failure to completely follow ERICO’s instructions and warnings may cause product malfunction, property damage, serious bodily injury and death.
- Products that are manufactured using spring steel components shall be used only in a non—corrosive indoor environment
- All pipe supports, hangers, intermediate components and\ structural attachments must ONLY be used as described herein and are NEVER to be used for any other purpose.
NOTE: All load ratings are for static conditions and do not account far dynamic loading such as wind, water or seismic loads, unless otherwise noted.
The customer is responsible for:
a. Conformance to all governing codes.
b. The integrity of structures to which the products are attached, including their capability of safely accepting the loads imposed, as evaluated by a qualified engineer.
c. Using appropriate industry standard hardware as noted above.
SAFETY INSTRUCTIONS
All governing codes and regulations and those required by the job site must be observed. Always use appropriate safety equipment such as eye protection, hard hot, and gloves as appropriate to the application.
CADDY, CADWELD, CRITEC, ERICO, ERIFLEX, ERITECH and LENTON are registered trademarks of ERICO International Corporation.
TECHNICAL SUPPORT:
www.erico.com
CFS297_C 1 of 1
®2008 ERICO International Corporation



















