Kanlux AREL LED

INTENDED USE / APPLICATION
Product designed for the use in households and for other similar general applications.
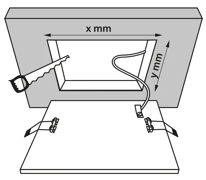
MOUNTING
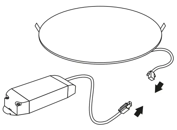
Technical changes reserved. Read the manual before mounting. Mounting should be performed by an appropriately qualified person. Any activities to be done with disconnected power supply. Exercise particular caution. Mounting diagram: see pictures. Check for proper mechanical fastening and connection to electrical power prior to first use. Terminals need to be placed in a way that will disable their contact with the product parts that become heated. The product can be connected to a supply network which meets energy quality standards as prescribed by law. The end parts of the leads must be isolated at the right length. If the wire ends are galvanized: cut off the galvanized wire ends, remove the wire insulation at the length of 8 mm, fix the wire in the terminal block. The emergency pack is integral with the fixture. Using the parts separately from one another is not possible.
FUNCTIONAL CHARACTERISTICS
Product for indoor use.
USAGE GUIDELINES / MAINTENANCE
Any maintenance work must be performed when the power supply is cut off and the product has cooled down. Clean only with soft and dry cloths. Do not use chemical detergents. Do not cover the product. Ensure free air access. Product may heat up to a higher temperature. Product with non-replaceable light source of the LED type. Product cannot be fixed if the light source becomes damaged. ATTENTION! Do not look directly at LED light beam. Product must not be used in unfavorable environment, e.g. dust, moisture, water, vibrations, etc.
EXPLANATIONS OF SYMBOLS USED
P1: Rated voltage, frequency.
P2: Rated power.
P3: Rated luminous flux.
P4: Rated durability.
P5: Product meets the requirements of EU directives.
P6: Colour temperature.
P7: Colour Rendering Index.
P8: Dust-proof product. Protection against water jets provided.
P9: Protection against solid foreign objects bigger than 12mm provided.
P10: Use only indoors.
P11: Class II. A product in which protection against electric shock is provided not only through basic insulation, but also double or reinforced insulation.
P12: This symbol means that the product can be installed and operated in/on a surface made of materials which are normally flammable.
P13: The symbol describes the minimal distance of a light fixture (its light source) from the spots and objects that it’s illuminating.
P14: The product is not compatible with lighting dimmers.
P15: Viewing angle.
P16: The product not suitable for covering with heat-insulating material.
P17: The chipped globe, screen or protective shield must be replaced immediately. Immediately stop using the product if the outer bulb is cracked or broken.
P18: Certificate of Conformity confirming the quality of production in accordance with approved standards on the territory of the Customs Union.
P19: Class III. A product in which protection against electric shock is provided by feeding it with very low safe voltage (SELV) with no risk of creating higher than safe voltage




ENVIRONMENTAL PROTECTION
Keep your environment clean. Segregation of post-packaging waste is recommended. P20: This labelling indicates the requirement to selectively collect waste electronic and electrical equipment. Products labelled in this way must not be disposed of in the same way as other waste under the threat of a fine. These products may be harmful to the natural environment and health, and require a special form of recycling/neutralising. Products labelled in this way should be returned to a collection facility for waste electrical and electronic goods. Information on collection centres is provided by local authorities or sellers of such goods. Used items can also be returned to the seller when new product is purchased, in quantity no larger than the purchased item of the same type. The above rules regard the EU area. In the case of other countries, regulations in force in a given country must be applied. Contacting the distributor of our products in a given area is recommended.
COMMENTS / GUIDELINES
Failure to follow these instructions may result in e.g. fire, burns, electrical shock, physical injury and other material and non-material damage. For more information about Kanlux products visit www.kanlux.com. Kanlux SA shall not be responsible for any damage resulting from the failure to follow these instructions. Kanlux SA reserves the right to make changes in the manual – the current version can be downloaded at www.kanlux.com.



- AREL LED DL

- AREL LED DO

- AREL LED DL



- AREL LED DO





























