Vannus Luna LED
Product Information
The Luna-5B LED Ceiling Fan is a high-quality ceiling fan designed to provide reliable and efficient cooling in any room. It is available in five different models, with LED lighting options and different blade sizes to suit your needs. The fan comes with a comprehensive instruction manual that includes safety precautions, installation instructions, maintenance guidelines, and technical specifications.
Safety Precautions
Installation and maintenance of the Luna-5B LED Ceiling Fan should only be performed by qualified persons who are familiar with local codes and regulations and experience with this type of appliance. All field wiring must be installed in accordance with national wiring regulations, and the rated voltage of the unit must correspond to that of the nameplate before commencing wiring work according to the wiring diagram. The unit must be grounded to prevent possible hazards due to insulation failure. Tighten the blade firmly using a screwdriver, as blades that are detached from the unit during operation can cause serious injuries and property damage.
Installation Instructions
The installation of the Luna-5B LED Ceiling Fan requires fixing means for attachment to the ceiling, such as hooks or other devices, that are fixed with sufficient strength to withstand four times the weight of the ceiling fan. The mounting of the suspension system should be performed by the manufacturer, its service agent, or suitably qualified persons.
Power Supply Connection
Confirm that the power supply has been switched off before installing or servicing the unit. Ensure that the blade is fully static before doing any maintenance work.
Circuit Diagram
A circuit diagram is provided in the instruction manual for guidance on wiring connections.
Transmitter Learning Process
The instruction manual includes a step-by-step guide for the transmitter learning process.
Transmitter Function & Assembly
The instruction manual provides information on the transmitter function and assembly.
Maintenance
Regular maintenance of the Luna-5B LED Ceiling Fan is essential to ensure optimal performance and longevity. The instruction manual provides guidelines for maintenance, including tightening screws, cleaning, and replacing worn-out parts.
Technical Specifications
The Luna-5B LED Ceiling Fan has a range of technical specifications, including:
- Model options: Luna-5B/36 LED, Luna-5B/40 LED, Luna-5B/46 LED, Luna-5B/56 LED, and Luna-5B/60 LED
- Power supply: 220-240V, 50/60Hz
- Power consumption: 30W (without LED light)
- Noise level: <45dB(A)
- Airflow rate: 1,200-6,000m³/h
- Blade size: 36″, 40″, 46″, 56″, or 60″
- LED light: Yes (depending on the model)
Customer Service Centre
If you have any questions or concerns about the Luna-5B LED Ceiling Fan, please contact the customer service center for assistance.
Safety Precaution
Warning
Installation and maintenance work shall only be performed by qualified persons, familiar with local code and regulation, and experienced with this type of appliance. All field wiring must be installed in accordance with the national wiring regulation. Ensure that the rated voltage of the unit corresponds to that of the name plate before commencing wiring work according to the wiring diagram. The unit must be GROUNDED to prevent possible hazard due to insulation failure. The earth wire is approximately 60mm longer than safety wire. This is to ensure at the event whereby the suspension system fails, the (L) and (N) wire will break leaving the fan remain earthed to prevent electrocution. Tighten the blade firmly using a screw driver. Blades that are detached from the unit during operation will cause serious injuries and property damages. This appliance is not intended for use by persons (including children) with reduced physical, sensory or mental capabilities, or lack of experience and knowledge, unless they have been given supervision or instruction concerning use of the appliance by a person responsible for their safety. Children should be supervised to ensure that they do not play with the appliances. Confirm that the power supply has been switched OFF before installing or servicing the unit. Ensure that the blade is fully static before doing any maintenance work.
STOP using the ceiling fan when any abnormality or failure occurs. If unusual oscillating movement is observed, immediately stop using the ceiling fan and contact the manufacturer, its service agent or suitably qualified persons.
CAUTION
Please take note of the following important points when installing. The fixing means for attachment to the ceiling such as hooks or other devices shall be fixed with a sufficient strength to withstand 4 times the weight of the ceiling fan. The mounting of the suspension system shall be performed by the manufacturer, its service agent or suitably qualified persons. The fan is to be installed so that the blades are more than 2.5m above the floor. Safety cord should not be longer than the earthing conductor. Should failure of the suspension system occur, the supporting of the fan must not rely on the earthing conductor. The earthing terminal in the fan assembly should be such that should any part of the suspension system fall off, the body of the fan assembly shall effectively earthed. Ensure that the unit’s panel is closed after service or installation. Unsecured panels will cause the unit to operate noisily.Sharp edges and coil surfaces are potential locations which may cause injury hazards. Avoid from being in contact with these places. Before turning off the power supply set the remote controller’s ON/OFF switch to the “OFF” position. If this is not done, the unit’s fans will start turning automatically when power resumes, posing a hazard to service personnel or the user. Do not operate any heating apparatus too close to the ceiling fan unit or use in room where mineral oil, oil vapour or oil steam exist, this may cause plastic part to melt or deform as a result of excessive heat or chemical reaction. Ensure the colour of wires of the outdoor unit and the terminal markings are same to the indoors respectively. Don’t use joined and twisted wires for incoming power supply. Do not place any object in the path of the blades. Avoid raising objects or your arms near the ceiling fan. The fan suspension system and blade screw tightening shall be examined yearly. Replacement of parts of the safety suspension system device shall be performed by the manufacturer, its service agent or suitably qualified persons. Torque value for screw/bolts for securing primary suspension system for motor is 2Nm.
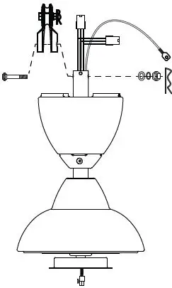
Parts & Accessories


Installation Instruction
IMPORTANT: DO NOT CONNECT THIS REMOTE CONTROL CEILING FAN TO DIMMER SWITCH OR REGULATOR.
Step 1 – Fix the Rubber Pulley Assembly to the Downrod with Bolt, Washer, Nut and tighten them firmly, then insert the Clevis Pin.
Step 2 – Remove the Bolt, Clevis, Nut, Washer and Rubber Pulley from the Downrod. Place the Rubber Pulley onto the ceiling hook and fix back the Bolt, Clevis, Nut and Washer.
IMPORTANT: Clevis Pin MUST be insert to prevent nut from loosening.
Step 3 – Remove the Safety Wire screw and spring washer from the Downrod.
Step 4 – Tie the Safety Wire across the hook as shown. 
Step 5 – Firmly screw the Safety Wire with spring washer onto the Downrod.
Step 6 –
- Connect the Connectors from Fan and Receiver.
- Connect the wires from the receiver to House’s Supply Wire.
- Connect Earth Wire to House Supply Earth Terminal.

Step 7 – Install the Blades on Motor with Screw. Connect the connectors and install the LED light kit by twisting in.
IMPORTANT: Assemble the Fan Blades only after the ceiling fan is mounted on the hook.
Below shows a complete installation diagram.
Power Supply Connection
IMPORTANT: DO NOT CONNECT THIS REMOTE CONTROL CEILING FAN TO THE DIMMER SWITCH OR REGULATOR.

Circuit Diagram

Transmitter Learning Process
The receiver & transmitter is pre-programmed in factory. If you wish to control 2 or more fans using 1 transmitter, the below steps are required.
DO NOT PRESS ANY OTHER BUTTON DURING THIS PROCESS
Step 1
- Insert the 2 pcs of batteries (provided) into transmitter.
- Turn on the power supply (wall switch) to the fan.
- Within 30 sec, press and hold the “OFF” button for 3 sec. Once the receiver has detected the frequency, transmitter will “Beep Beep” twice. Programming process is completed and fan is ready to use.
If the fan is not responding to the transmitter, repeat Step 1b.
Transmitter Function

- Light on/off & select LED color
- Turn off fan
- Fan speed lowest to highest
- Natural wind, creates a gentle sea-breeze effect
- Forward/Reverse, turn anti-clockwise or clockwise rotation.
- Timer on – fan turns on after 1hr
- Timer on – fan turns on after 3hr
- Timer on – fan turns on after 6hr

- Mount the remote control holder on the wall with the screws provided.

- Mount the remote control holder on the wall with the screws provided.
The transmitter & receiver is incorporated with the last memory function. This function stores your last setting in memory and the next time you turn on the fan, the fan will operate as the last setting.
The function of Forward & Reverse
The fan must be turned on and rotated. Press the Forward/Reverse button and the fan will slow down and then change direction (approx. 15 sec). When the fan is slowing down to change direction, the Fan Speed function is disabled until the direction has been changed.
Forward
The fan rotates anti-clockwise blowing the air downwards creating the wind chill effect. Suitable for hot weather conditions.
Reverse
The fan rotates clockwise drawing the air towards the ceiling and circulating the warm air downwards. This function works best at low speed. Suitable for air-conditioned conditions. 
Maintenance
Due to the fan’s natural movement, connections may get loose after a period of usage. To ensure proper and safety usage, it is highly recommended to inspect and tighten all connections every 6 months.
Cleaning
Cleaning your fan periodically will prolong its new appearance. Basic cleaning procedures are as follows :
- Use only water and mild soap. Do not use solvents, corrosive or acidic solutions.
- Damp the cloth lightly. Use only soft or lint-free cloth to clean the fan. Rough fabric will scratch the surface.
- Do not bend the blades while cleaning. In the event that blades are bent or damaged, order a new set of blades from the service center or dealer shop.
- There is no need to oil the fan.
Specifications
| Model | Luna-5B/60 LED | Luna-5B/56 LED | Luna-5B/46 LED |
| No. Of Blades | 5 | ||
| Fan Width | 1524mm (60”) | 1420mm (56”) | 1165mm (46”) |
| Motor R.P.M | 78 – 195 | 78 – 205 | 90 – 250 |
| Voltage | 220V-240V~ 50Hz | ||
| Motor Wattage | 5W – 50W | 5W – 40W | 5W – 35W |
| LED Wattage | 25W | ||
| Nett Weight | 6.6kg | 6.6kg | 5.9kg |
| Model | Luna-5B/40 LED | Luna-5B/36 LED |
| No. Of Blades | 5 | |
| Fan Width | 1015mm (40”) | 914mm (36”) |
| Motor R.P.M | 120 – 275 | 90 – 255 |
| Voltage | 220V-240V~ 50Hz | |
| Motor Wattage | 5W – 35W | 5W – 35W |
| LED Wattage | 25W | |
| Nett Weight | 5.3kg | 5.2kg |

Customer Service Centre
If you need any technical assistance or a faulty report, please contact our customer service center at :
- Alpha Home Appliances Sdn. Bhd. (390258-H)
- Head Office : 6, Jalan Sungai Kayu Ara 32/37, Berjaya Park, Section 32, 40460 Shah Alam, Selangor.
- Tel : 03-5740 6666
- Fax : 03-5740 8220
- Website : www.alphamalaysia.com Email : [email protected].
- Johor : 71, Jalan Molek 3/10, Taman Molek, 81100 Johor Bahru.
- Tel : 07-353 4833 / 4933 Fax : 07-355 4233
- Melaka : 19, 19-1 & 19-2, Jalan KSB 11, Taman Kota Syahbandar, 75200 Melaka.
- Tel: 06-292 6292 / 6293
- Fax: 06-292 6296
- Perak : 11, Laluan Tasek Timur 5, Pusat Perdagangan Tasek Indra, 31400 Ipoh, Perak.
- Tel : 05-545 2282 / 547 2282 Fax : 05-547 6282
- Penang : 28, Jalan Icon City, Icon City, 14000 Bukit Mentajam, Penang.
- Tel : 04-506 2366 / 2066 / 2566 Fax : 04-506 2966
- Pahang : A131, TK1, Jalan Wang Ah Jang, Taman Liza, 25100 Kuantan, Pahang.
- Tel : 09-516 5226 Fax : 09-513 9226
Vannus Luna LED






















