sygonix 2525879 LED Tri Proof Tube Light Instruction Manual
Dismantling Instructions
- Dismantling recommendations
- Disconnect from power supply.
- Ask help from a professional if needed.
- Dismantling instructions
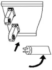
Step 1 Remove the buckle from the lamp carefully

Step 2 Remove the diffuser from the lamp carefully

Step 3 Replace with a new tube.

Step 4 Fix the diffuser and the clips before used, then put the tube into the lamp holder. After that, turn 90 degrees.

This is a publication by Conrad Electronic SE, Klaus-Conrad-Str. 1, D 92240 Hirschau (www.conrad.com). All rights including translation reserved. Reproduction by any method (e.g. photocopying, microfilming or the capture in electronic data processing systems) requires prior written approval from the editor. Reprinting, also in part, is prohibited. This publication reflects the technical status at the time of printing. Copyright by Conrad Electronic SE.
2525879_V1_0622_hs_en 572270347 I1/O1


















