avtec M Series Energy Distribution Systems

ENERGY DISTRIBUTION SYSTEMS INSTALLATION
Island Style
- Field Joint Detail
Bolt field joint[s] together as shown.
- Control Tower Mounting Detail
Use ¼”-20 bolts between raceway and control tower as shown on typical construction below.
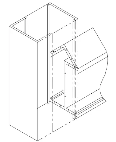
- Pedestal Mounting Detail
Bolt raceway to pedestals with ¼”-20 bolts and nuts. Use flat washers beneath head of bolt and under nut when bolting through slots. Note that removable panels are facing sides of raceway. Slots are provided to aid in ease of assembly. Adjust pedestal so that it is centered under raceway and one inch [1”] from end of raceway. Pedestals under field joints are to be centered under field joint.
- Pedestal Floor Mounting Detail
After attaching risers and pedestals place raceway in position. Level raceway [shims or spacers may be required beneath pedestals to accomplish this] mark position of holes in bottom of pedestal on floor. Carefully lift raceway and remove pedestals to allow installation of mounting hardware into floor. Use extreme care to avoid placing lifting devices across breaker plates as this will damage lights, switches, knobs or receptacles. Floor mounting hardware [not provided by AVTEC] should be installed in all four corners of pedestal. Re-attach pedestals to raceway and lower into position, bolting through pedestal base into floor. Use flat washers beneath heads of bolts used to attach unit to floor. - Tower Interface Detail
Place trim collar on tower, Position tower under hood. Fully tighten trim collar retaining hardware after the UDS tower is in proper location. See diagrams f-1,2,3. See pages 12,13,14. - Hanging Rod Detail
Locate raceway in position and attach hanging rod to structural ceiling. Use turnbuckles to make final adjustments in raceway height. Level raceway with level [do not use floor for leveling purposes, as it may be pitched for drainage]. - Side Panel Detail
The side panels slip fit in place at the top, #8-32 screws fasten the panel to the bottom of the housing. The side panel[s] is installed by fitting the top of the panel into the top of the housing and then sliding the bottom of the panel into position. The #8-32 screws are then installed into the bottom housing securing the panel.

Wall Mounted Energy Distribution System
- Field Joint Detail
Bolt field joints together as shown with ¼”-20 bolts and nuts. Use flat washers beneath heads of bolts and under nut when bolting through slots.
- Risor Mounting Detail
Bolt risor to raceway through flange and to sloped-top through side of risor with ¼”-20 nuts and bolts. Use flat washers beneath head of bolt and under nut when bolting through slots. Square-up edges before finally torqueing bolts to present a satisfactory appearance.
- Wall Mounting Detail
Locate stud centerlines on INSIDE of unit if mounting to a stud wall. Drill corresponding mounting holes in the back of the unit. Care must be taken to prevent metal shavings from contacting electrical components.
Vacuum ALL metal fragments measuring height above finished floor, be aware that floor may be pitched. Mark wall through holes, remove unit and drill into wall for anchors. Avoid drilling through unit to avoid accumulations of debris. Secure unit to wall with quarter-inch [1/4”] minimum diameter hardware.
NOTE: VERIFY THAT THE WALL IS CAPABLE OF BEARING THE LOAD.
- Service Enclosure Detail
Mounting the back of the service enclosure to the wall by drilling through the back of the housing. Attach front of enclosure to back with hardware provided.
- Side Panel Detail
The side panels slip fit in place at the top, #8-32 screws fasten the panel to the bottom of the housing. The side panel[s] is installed by fitting the top of the panel into the top of the housing and then sliding the bottom of the panel into position. The #8-32 screws are then installed into the bottom housing, securing the panel.
Plumbing Connection at Field Joints
It is the plumbing contractor’s responsibility to insure that all unions are tightened and leaks do not exist. Take care when tightening unions that they are not loosened from the pipe. Pipe sealant may be required to be applied to the face of the union to prevent leakage. Use care to keep contaminants and sealant from entering the pipe where it might cause blockage of traps and lines when the unit is brought into operation.
Electrical Connections at Field Joints
- Field joints for bus bar are generally 24” long sections fastened in four [4] locations. Note that the field joint section of bus bar is usually insulated where possible short spacing may occur. When bolting down field joint section, be sure that it makes complete contact with mating bus bar.
- Where space limitations prohibit the use of bus bar, cable bus is used. Sections of wire with lugs are provided at field joints. These wires should be routed through a protective bushing when they may be subjected to abrasion.
- Control circuit wiring at field joints use quick-connect plug-in connectors. These can be assembled in only one way. When more than one connector is located at a field joint, they should be different configurations. If not, plug together the connectors with the same color wires leading into them. Be certain that the connections are fully inserted and that they are making good contact.
Care and Maintenance
The protective coating on the stainless steel should be removed after installation is completed. Traces of marking pens can be removed with careful use of acetone and a soft cloth. Fingerprints and most stains can be removed with a soft cloth dampened with water and mild detergent. The unit should not be hosed or sprayed with either steam or water. In order to further seal the unit, silicone sealant may be applied to the seams. Annually, the power should be turned OFF and threaded connections [both electrical and mechanical] should be tightened as required.
CONNECTION TO REMOTE FIRE-FUEL SHUT OFF SYSTEM
Electrical Shut-Off Detail, No Vent Controls
The AVTEC Electrical Fire-Fuel Shut-Off System uses a shunt trip circuit breaker[s]. The breakers will trip OFF whenever 120vac is applied to the Red and White/Red wires [excluding M*** series style connection plates]. A single main shut off shunt trip breaker may be used in lieu of individual shunt trips.

Gas Fire-Fuel Shut-Off Systems, No Vent Controls
The AVTEC Gas Fire-Fuel Shut-Off System uses constant 120vac power supply to hold open an electrically operated solenoid valve[s]. There is a delay of approximately 1-1/2 seconds built into the system which holds the circuit [internal to the raceway] closed in the event of a momentary power loss. [The Gas Solenoid Valve[s], however, will close for the duration of the power loss.] Upon application of power to the Black and White/Red wires, a horn will sound and a yellow LED will light, indicating that power is available for the gas solenoid[s] and warning that the pilot light[s] will have to be lit on the accompanying cooking equipment. The gas solenoid[s] will open and gas flow begins when the fuel reset button is depressed.
Gas and Electric Fire-Fuel Shut-Off Detail
When both Gas and Electric Fire-Fuel Shut-Off options are used, a form “C” [SPDT] switch can be employed. The contact which is held open during normal [non-fire] operation is connected to the Red wire and the contact which is held closed during normal [non-fire] operation is connected to the Black wire. The neutral to complete the 120vac circuit is connected to the White/Red wire. 
STEAM VALVE TIMER
Valve Installation
The Steam Valve consists of three (3) assemblies.
- The motor,
- The linkage and
- The steam valve body.
Instructions for assembling and adjusting these parts are provided in the shipping boxes [except when the Valve is an integral part of the raceway, in which case the valve is assembled at the factory]. The valve is intended to shut OFF the flow of steam to a particular area [or perhaps one particular raceway] upon completion of the work day. The amount of equipment involved is dependent upon placement of the valve. A manual valve should be installed parallel to the motorized steam valve [as shown in the accompanying drawing] so that the steam equipment could be made operative in the event of an electrical malfunction. In the event of a power loss, the valve remains in the position it was in at that time. 
Steam Purging System
In most applications, the AVTEC raceway is equipped to constantly remove condensate from the steam supply line as it accumulates. In units with a condensate return line this condensation is routed to the condensate return line. On units without a condensate return line, this condensation is routed to a drain.
Start Up
After the raceway and valve are installed and steam is available, the steam trap should be removed. Steam should then be allowed to flow through the unit, flushing the lines of any debris which may have accumulated during installation. This debris is removed by opening the ball valve leading to the steam trap. After the lines are cleared, the steam should be shut OFF and the steam trap assembly re-installed. It is imperative that the lines be flushed before any equipment is used and before the steam trap assembly is put into operation to void damage by large pieces of debris [pipe dope, metal chips, etc.] Every effort should be made to keep the inside of the pipes clean.
Timer Operation
The timer is a single channel circuit electronic programmable time control. Instructions for programming the timer are enclosed in this folder. Turn ON the circuit by pressing in the circuit breaker. Note the Light Emitting diode [LED] on the door. When the Motorized Steam Valve is fully open, the LED is green and when it is fully closed the LED is red.
REMOTE BREAKER STATUS INDICATOR LIGHTS (E-Series only.)
Operation and Function
As an optional feature, remote LED’s can be located in a more accessible area. The number immediately above the LED indicates the corresponding breaker plate location. These LED’s glow Red when the breaker is OFF and Green when the breaker is ON. Where there are future electrical connections, the LED’s remain unlit. Note that these LED’s do not indicate whether or not there actually is equipment connected nor does it indicate if the equipment, if connected, is ON or OFF, merely whether the breaker is ON or OFF.
Power Supply
Power for the LED’s is provided by a transformer which steps down the line voltage to 24vac. That power is further reduced by a resistor and rectified by a diode which is built on to each breaker connection plate. The transformer is protected by a fuse[s].
GROUND FAULT EQUIPMENT PROTECTION [GFEP] (E-Series only.)
Operation and Function
GFEP is designed to protect pieces of equipment from damage due to loss of current to ground. It operates by sensing the amount of power being delivered to the equipment and the amount of power returning to the raceway. Any imbalance greater than 0.5 amps will cause the circuit breaker to trip OFF. [In some cases where the voltage and amperage is low enough to allow, the GFEP trip amperage may be as low as 0.15 amps.] It is necessary to have all power conductors [including the neutral wire where appropriate] passing through the center of the current sensor the same number of times and in the same direction relative to line and load. A “Push to Test” button is provided on each unit.
At initial start up, the equipment should be disconnected and the circuit breaker turned OFF. With the equipment turned OFF, it should be connected and the breaker turned ON. If the equipment trips the circuit breaker, immediately [or as soon as the equipment if turned ON] disconnect the equipment and check it thoroughly. If the equipment trips the circuit breaker during operation, immediately disconnect the equipment and have it checked thoroughly. Repeatedly turning ON a breaker connected to a piece of equipment which has a ground fault or a short circuit can damage the ground fault sensor.
When checking the equipment, bear in mind that conditions can change while the equipment is in use, and the problem may not exist after the equipment has cooled.
Power Supply
The GFEP receives 24vac power from the same transformer as the Breaker Status Indicators. If you suspect that the GFEP has been damaged, and the circuit breaker connection plate will not reset, you can check this by turning OFF the 24vac transformer, and removing the 10 amp fuse. If the breaker will then reset, but turns OFF again as soon as the control circuit transformer is repowered, then the current sensor should be replaced. If, however, the circuit breaker will not reset, even with the control circuit transformer turned OFF, then most likely, the problem is either the fire-fuel shut-off remote wiring or circuit breaker itself is damaged. Note that when checking the GFEP, the equipment should be disconnected.
BREAKER CONNECTION PLATE
Nomenclature [enclosed in this folder]
When referring to a connection plate, use the Reference Number and UDS Model No.[e.g., MIDE999999A] and the connection [#1E, 2E, etc.]. The connection plate can be further identified by including the amperage and the voltage/phase. The model no’s. connection plates are shown below.
X X XXX XX XXX
[1] [2] [3] [4] [5]
[1] Model Number
L “L” or “M” series
E “E” series
[2] Type
F Electric fire shutoff (Model “E” Only)
G GFEP (Model “E” Only)
H Electric fire shutoff and GFEP (Model “E” Only)
I GFCI (Only used with 20 amp breaker single pole 120v/1 phase)
J Electric fire shutoff and GFCI (Model
“E” only: same as “I” in usage)
N Plate with receptacle only
X Electric (No f/f GFEP of Aux switch)
[3] Amperage
15 15 amp A = 1 pole
20 20 amp B = 2 pole
30 30 amp C = 3 pole
40 40 amp
50 50 amp
60 60 amp
80 80 amp
100 100 amp A,B, C not used
[4] Voltage/Phase
03 120v/1 phase
23 208v/1 phase
24 208v/3 phase
14 120/208v/1 phase
15 120/208v/3 phase
43 480v/1 phase
44 480v/3 phase
45 277/480v/3 phase
Note: #’s 43, 44 & 45 only used on “E” series, 3 pole.
[5] Receptacle
AR Straight blade receptacle
AS Switch and straight blade receptacle
BO No receptacle
CR Turn and lock receptacle
DC Duplex convenience outlet, straight blade
SW Switch only, used only 20 amp 1 pole
P Flexible seal tite conduit (pigtail)
Note: Add “W” to #5 for watertight cover. Pigtail is “special,” pigtails do not get watertight covers.
Operation
The Circuit Breaker is turned ON by means of a lever actuator located behind an optional hinged cover. When plugging equipment into the receptacle the breaker should be OFF. Insert cordset fully into receptacles and turn to secure into position [twist/lock outlets only]. Some receptacle/plug types have a locking collar which should be tightened. Twist/lock type plugs and receptacles will require care upon insertion to prevent the natural straightening tendency of the cord from unlocking the plug from the receptacle.
Installation and Replacement
The breaker connection plate assembly is held in position by four (4) or six [6] #8-32 x ½” stainless steel screws. It is attached to the bus by wires and is connected to the control circuit harness by means of a 6-pin quick-connect plug which provides power for the LED indicator and Fire-Fuel Shut-Off, Ground Fault Equipment Protection and/or remote lights.
REMOTE GAUGES AND VALVES
Installation
As an option, ½” Male NPT temperature/pressure gauges may be provided for hot water, cold water and steam supply incoming services. When provided, gauges are located near the incoming service to the raceway by the plumbing contractor.
Purpose
The temperature/pressure gauges are intended to provide information on the quality of services; i.e., whether or not there is sufficient pressure or if the hot water, for example, has lost too much heat en route to the raceway.
VENTILATOR LIGHT SWITCH
In some cases, a switch and circuit breaker is provided which controls the lights in the hood above the equipment. A ten ft. [10’-0”] length of ½” flexible conduit is provided with three wires [black for hot, white for neutral, green for ground] for connection to a junction box above the ventilation unit. This flexible conduit can be trimmed to length in the field by the electrical contractor.
STEAM SUPPORT MODULE [Kettle Arm]
Installation and Connection to Raceway
The kettle arms are attached to the raceway by bolts and on non-cantilevered units to the floor by short legs. It is imperative that the arms and kettles [or fry pans] be level and bolted to the floor during installation. Flexible conduit and/or cable are provided on kettle/arm assemblies manufactured by AVTEC for electrical connections and pipe or hoses for plumbing connections. Refer to schematics for proper connection.
Water Meter
A water meter may be provided as an option to regulate the amount of water used. The water meter is a microprocessor based counter. Instructions for its use are on a label affixed to the panel in proximity to the counter. The Green button starts the flow of water by opening an electrically operated solenoid valve. The Red button will stop the flow of water at that point. While the meter is stopped, the desired number of gallons can be set by adjusting the dials to the appropriate digits. As the water flows through the flowmeter, the display will automatically countdown, constantly indicating the number of gallons remaining. When the display reaches 000 it will automatically shut OFF the flow of water. A switch is provided marked “Free-Flow” and “Metered.” In the “Metered” position, the flow of water is regulated by the Water Meter. In the Free-Flow position, the solenoid valve is electrically held open which allows an unlimited flow of water. In the event of an electrical power loss, the flow of water will cease as there will be no power to hold the solenoid valve open.

Electronic Cooking Timer
An electronic timer may be provided as an option. It is used to display time remaining when cooking a particular product. After the heat level has been set, the time [in hours and minutes] is set on the display similar to the manner used on the Water Meter. The Green button starts the timer. The timer may be stopped at any time by pressing the Red button. When the display reaches 000, a horn sounds for approximately five seconds.
Cook/Chill
As an option, an electrically operated Cook/Chill feature can be provided, through a series of solenoid valves. With the switch in the “Cook” position, the steam supply and condensate return solenoids are opened and the coolant and drain solenoids are closed. In the “Chill” position, the coolant and drain solenoids are open and the steam supply and condensate return solenoids are closed. With the switch in the center position, all solenoid valves are closed. To Cook in a kettle after it has passed through the Chill cycle, it may be expeditious to open the kettle jacket drain to remove coolant. Kettles may be equipped with an optional drain solenoid which allows for removal of the fluid within the kettle jacket whenever the switch is in the “OFF” position.
Motorized Steam Control
A motorized steam valve control can be provided as an option on some kettle/arm assemblies. This valve is controlled by a knob which in turn operates a motor. This to to permit mild warming or rapid heating of the product, or anywhere in between. This feature can be used in conjunction with the Cook/Chill option when the latter is in the “Cook” position. The control plate is not graduated as heating potential varies greatly depending on steam pressure and temperature. 
CORDSETS
Sizing and Connection to Equipment
Cordsets provided by AVTEC include a strain relief grip for attachment to the equipment. The length of cord may be trimmed at the time of installation by the electrical contractor in order to present a neat appearance and prevent excessive lengths of cable from resting on the floor. Care should be taken, however, especially on mobile items, to allow enough slack to allow the operator to move the equipment far enough to disconnect it from the raceway without stressing the connections.
Connection to Raceway
The plug for connecting to the raceway receptacle is generally one of three types: Straight Blade, Twist/lock, and Locking Collar.
Be sure that the plug blades are fully inserted into the receptacle in order to prevent arcing and excessive heating. On twist/lock plugs, care should be taken to make sure that the natural straightening tendencies of the cable do not cause the plug to twist out and loosen away from the receptacle. On plugs equipped with a locking collar, be sure that the collar is tightened on to the receptacle, thus drawing the blades fully into the receptacle and insuring proper contact.
Care in Operation
When moving equipment, turn off the breaker and disconnect the plug from the receptacle before reaching the limit of the cordset. Excessive strain can cause damage to the plug and/or receptacle and present a very serious situation. If problems arise because of operator abuse, you may consider securing the equipment to a tether which limits the travel before the 7cable is strained. When cleaning the equipment, it should be OFF and the circuit breaker turned OFF before disconnecting the cordset. Though the cable is oil resistant, solvents should not be used to clean the cordset. Use a moist cloth and mild detergent. Be sure that all parts are dry before re-connecting the equipment to the outlet.
Nomenclature
Error! Not a valid link.
Model No.
50 24 – AN 6
[1[ [2[ [3] Cable length in ft.
[1] Amperage
20 20amp
30 30amp
50 50amp
60 60amp
80 80amp
100 100amp
[2] Voltage/Phase
03 120v/1φ
23 208v/1φ
24 208v/3φ
14 120/208v/1φ
15 120/208v/3φ
43 480v/1φ
44 480v/3φ
45 277/480v/3φ
[3] Plug Type
AN Straight Blade Straight Cap
BN Straight Blade Angle Cap
CN Twist Lock Straight Cap
DN Twist Lock/Water Tight/Straight
Cap
EN StraightBlade/Water
Tight/Straight Cap
FLEXIBLE HOSE
Connection to Equipment
One end of the hose is provided with a union for connecting to the equipment. Care should be taken to prevent sharp bends in the hose while in its operating position and when the equipment is moved for cleaning and/or service. Elbow, nipples, etc., may be necessary to accomplish this.
Connection to Raceway
On water lines the raceway is equipped with quick-disconnect fittings. The supply side is female for hot water and male for cold water. Both sides are equipped with shut off valves which automatically close when disconnected on water quick disconnects.
On gas lines the raceway is equipped with a female quick-disconnect which incorporates an automatic shut off valve which closes when it is not connected. The raceway also has a manual ball valve to further ensure that there is no flow of gas. The male half of the quick-disconnect is attached to the hose and does not have an automatic shut off feature. [The double shut off option is, however, available for use with manifolded equipment fed by a looped service]. Hoses for steam lines have an insulation layer to reduce heat flow to the outer braiding. The outer surface, however, does get hot when in use, so caution should be used. The raceway is equipped with a ball shut off valve only. A union and close nipple can be added between the hose and ball valve to further facilitate assembly. Take care to avoid twisting the hose when connecting the hoses.
Care and Maintenance
The hoses can be cleaned easily with a damp cloth and mild detergent. Do not place undue stress on the hose when moving equipment.
Nomenclature
Model No.
075 G S 48
[1] [2] [3] [4]
[1] Diameter
025 – ¼”
038 – 3/8”
050 – ½”
075 – ¾”
100 – 1”
0125 – 1-1/4”
[2] G GAS
W WATER
SM STEAM
[3] S Stainless Steel Braid [All hoses]
P Stainless Steel Braid with
Polytec [plastic] Coating
N NSF Potable Water/Steam
[4] Length in inches [12” increments]
DRAIN HOSES
Flexible drain hoses may be supplied as an option. These are supplied with a union at one end for connection to the ventilator and a smooth pipe extension to be inserted into the air gap drain. The length of pipe between the ventilator and the drain hoses will determine the amount of penetration into the air gap. [which should be just above the flood level, but kept to a minimum to reduce splash].
PARTS LIST
ENERGY DISTRIBUTION SYSTEM – ELECTRICAL
“L” OR “M” SERIES BREAKERS
| AVTEC PART NO. | DESCRIPTION |
| EL BRK 0301 | 15 amp, 240v, 3<I, 3 pole, BQ3B15 |
| EL BRK 0302 | 15 amp, 120v, 1<I, 1 pole, BQ1B15 |
| EL BRK 0303 | 15 amp, 240v, 1<I, 2 pole, BQ2B015 |
| EL BRK 0304 | 20 amp, 120v, 1<I, 1 pole, BQ1B020 |
| EL BRK 0305 | 20 amp, 240v, 1<I, 2 pole, BQ2B020 |
| EL BRK 0306 | 20 amp, 240v, 3<I, 3 pole, BQ3B020 |
| EL BRK 0307 | 30 amp, 120v, 1<I, 1 pole, BQ1B030 |
| EL BRK 0308 | 30 amp, 240v, 1<I, 2 pole, BQ2B030 |
| EL BRK 0309 | 30 amp, 240v, 3<I, 3 pole, BQ3B030 |
| EL BRK 0364 | 50 amp, 120v, 1<I, 1 pole, BQ1B050 |
| EL BRK 0310 | 50 amp, 240v, 1<I, 2 pole, BQ2B050 |
| EL BRK 0311 | 50 amp, 240v, 3<I, 3 pole, BQ3B050 |
| EL BRK 0312 | 60 amp, 240v, 1<I, 2 pole, BQ2B060 |
| EL BRK 0313 | 60 amp, 240v, 3<I, 3 pole, BQ3B060 |
| EL BRK 0371 | 80 amp, 240v, 3<I, 3 pole, BQ3B080 |
| EL BRK 0315 | 100 amp, 240v, 1<I, 2 pole, BQ2B100 |
| EL BRK 0316 | 100 amp, 240v, 3<I, 3 pole, BQ3B100 |
“E” SERIES BREAKERS
| AVTEC PART NO. | DESCRIPTION |
| EL BRK 0318 | 15 amp, 120v, 1<I, 1 pole, Circuit Breaker with shunt trip, BQ1B015 |
| EL BRK 0319 | 15 amp, 240v, 1<I, 2 pole, Circuit Breaker with shunt trip, BQ2B015 |
| EL BRK 0376 | 15 amp, 240v, 3<I, 3 pole, Circuit Breaker with shunt trip, BQ3B015 |
| EL BRK 0320 | 20 amp, 120v, 1<I, 1 pole, Circuit Breaker with shunt trip, BQ1B020 |
| EL BRK 0321 | 20 amp, 240v, 1<I, 2 pole, Circuit Breaker with shunt trip, BQ2B020 |
| EL BRK 0322 | 20 amp, 240v, 3<I, 3 pole, Circuit Breaker with shunt trip, BQ3B020 |
| EL BRK 0323 | 30 amp, 120v, 1<I, 1 pole, Circuit Breaker with shunt trip, BQ1B030 |
| EL BRK 0324 | 30 amp, 240v, 1<I, 2 pole, Circuit Breaker with shunt trip, BQ2B030 |
| EL BRK 0325 | 30 amp, 240v, 3<I, 3 pole, Circuit Breaker with shunt trip, BQ3B030 |
| EL BRK 0331 | 40 amp, 240v, 3<I, 3 pole, Circuit Breaker with shunt trip, BQ3B040 |
| EL BRK 0365 | 50 amp, 120v, 1<I, 1 pole, Circuit Breaker with shunt trip, BQ1B050 |
| EL BRK 0326 | 50 amp, 240v, 1<I, 2 pole, Circuit Breaker with shunt trip, BQ2B050 |
| EL BRK 0327 | 50 amp, 240v, 3<I, 3 pole, Circuit Breaker with shunt trip, BQ3B050 |
| EL BRK 0328 | 60 amp, 240v, 3<I, 3 pole, Circuit Breaker with shunt trip, BQ3B060 |
| EL BRK 0329 | 80 amp, 240v, 3<I, 3 pole, Circuit Breaker with shunt trip, BQ3B080 |
| EL BRK 0330 | 100 amp, 240v, 3<I, 3 pole, Circuit Breaker with shunt trip, BQ3B100 |
| EL BRK 0332 | 20 amp, 480v, 3<I, 3 pole, Circuit Breaker with shunt trip, CQD320 |
| EL BRK 0333 | 30 amp, 480v, 3, 3 pole, Circuit Breaker with shunt trip, CQD330 |
| EL BRK 0338 | 40 amp, 480v, 3, 3 pole, Circuit Breaker with shunt trip, CQD340 |
| EL BRK 0334 | 50 amp, 480v, 3, 3 pole, Circuit Breaker with shunt trip, CQD350 |
| EL BRK 0335 | 60 amp, 480v, 3, 3 pole, Circuit Breaker with shunt trip, CQD360 |
| EL BRK 0336 | 80 amp, 480v, 3, 3 pole, Circuit Breaker with shunt trip, CQD380 |
| EL BRK 0337 | 100 amp, 480v, 3, 3 pole, Circuit Breaker with shunt trip, CQD3100 |
| EL TRN 0304 | Transformer [Control Harness] 120:24v 40va |
| PB MTR 0401 | ¾” Water Flow Meter |
| HD BRK 0310 | Current Sensor Bracket |
| EL RLY 0325 | Current Sensor |
| EL CVR 0328 | Breaker Cover |



WARRANTY
AVTEC INDUSTRIES INC. warrants to the original purchaser for use of our products, that any part thereof which proves to be defective in material or workmanship under normal use within one year from date of installation, will be replaced free of charge, labor to replace such part is warranted for one year from installation. All warranty labor to be performed during regular working hours, with no overtime premium.
All Warranty service must be authorized by the factory and be performed by AVTEC’s authorized service personnel.
This Warranty is limited to the United States and Canada.
This Warranty does not apply to any damage resulting from shipping, improper installation, accident, unauthorized alteration, local codes not previously brought to the attention of AVTEC, misuse, or abuse; and does not cover loss of food, other products or damage to equipment or property resulting from mechanical or electrical failure.
AVTEC neither makes nor assumes and does not authorize any other person to assume any other obligation or liability in connection with its products other than that covered in this Warranty.

























