Instruction Manual
REKA
![]() | ![]() | ![]() |
INTENDED USE / APPLICATION
Product designed for use in households and for other similar general applications.
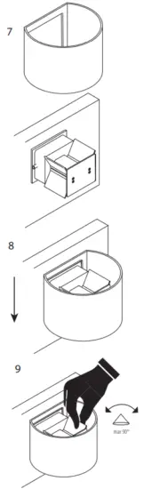
MOUNTING
Technical changes reserved. Read the manual before mounting. Mounting should be performed by an appropriately qualified person. Any activities to be done with disconnected power supply. Exercise particular caution. Mounting diagram: see pictures. Check for proper mechanical fastening and connection to electrical power prior to first use. The product can be connected to a supply network that meets energy quality standards as prescribed by law. The product has a protective contact/terminal. Failure to connect the protective lead may lead to electric shock. The end parts of the leads must be isolated at the right length. If the wire ends are galvanized: cut off the galvanized wire ends, remove the wire insulation at the length of 8 mm, and fix the wire in the terminal block. To maintain the proper IP protection level, the right diameter of the power cable should be selected for the cable gland used in the product.
FUNCTIONAL CHARACTERISTICS
The product can be used either indoors or outdoors. The product’s light direction can be manually adjusted.
USAGE GUIDELINES / MAINTENANCE
Any maintenance work must be performed when the power supply is cut off and the product has cooled down. Clean only with soft and dry cloths.
Do not use chemical detergents. Do not cover the product. Ensure free air access. The product may heat up to a higher temperature. Product with a non-replaceable light source of the LED type. The product cannot be fixed if the light source becomes damaged.
ATTENTION! Do not look directly at the LED light beam. The product can only be supplied by rated voltage or voltage within the range provided. It’s forbidden to use the product with a damaged protective cover. The product must not be used in unfavorable conditions, e.g. dust, water, moisture, vibrations, explosive air atmosphere, fumes, chemical fumes, etc. Replacing the light source in the housing is impossible. If the light source is damaged replace the entire housing.
EXPLANATIONS OF SYMBOLS USED
P1: Rated voltage, frequency.
P2: Rated power.
P3: Rated luminous flux.
P4: Rated durability.
P5: Colour temperature.
P6: Colour Rendering Index.
P7: Class I. A product in which protection against electric shock is provided not only by means of basic insulation but also through additional safety measures, i.e. extra protective circuit to which the protective conductor of the fixed feeding installation needs to be connected.
P8: The symbol describes the minimal distance of a light fixture (its light source) from the spots and objects that it’s illuminating.
P9: Dust-resistant product. Protection against splashing water provided.
P10: The product can be used either indoors or outdoors.
P11: The product is not compatible with lighting dimmers.
P12: The chipped globe, screen, or protective shield must be replaced immediately.
P13: Product meets the requirements of EU directives.
P14: Environmental operating temperature range that the product can be exposed to.
P15: Caution, risk of electric shock.
P16: Certificate of Conformity confirming the quality of production in accordance with approved standards on the territory of the Customs Union.
P17: Viewing angle. Adjustable beam angle: see illustrations.
ENVIRONMENTAL PROTECTION
Keep your environment clean. Segregation of post-packaging waste is recommended.
P18: This labelling indicates the requirement to selectively collect waste electronic and electrical equipment. Products labelled in this way must not be disposed of in the same way as other waste under the threat of a fine. These products may be harmful to the natural environment and health and require a special form of recycling/neutralising. Products labelled in this way should be returned to a collection facility for waste electrical and electronic goods. Information on collection centres is provided by local authorities or sellers of such goods. Used items can also be returned to the seller when a new product is purchased, in quantity no larger than the purchased item of the same type. The above rules regard the EU area. In the case of other countries, regulations in force in a given country must be applied. Contacting the distributor of our products in a given area is recommended.
COMMENTS / GUIDELINES
Failure to follow these instructions may result in e.g. fire, burns, electrical shock, physical injury and other material and non-material damage. For more information about Kanlux products visit www.kanlux.com. Kanlux SA shall not be responsible for any damage resulting from the failure to follow these instructions. Kanlux SA reserves the right to make changes to the manual – the current version can be downloaded at www.kanlux.com.
2019/02-1



















