BRIZO T704 Two Handle Wall Mounted Tub Filler Instruction Manual

www.brizo.com/customer-support
www.brizo.com/customer-support/product-registration
⚠ CAUTION
Failure to read these instructions prior to installation may result in personal injury, property damage, or product failure. Manufacturer assumes no responsibility for product failure due to improper installation.
You may need:


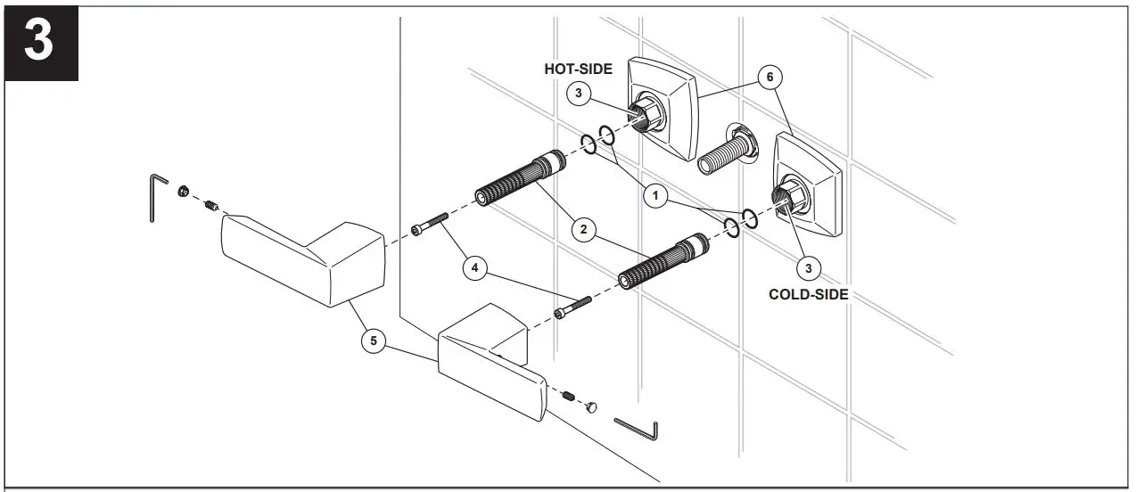
2A HANDLE BASE INSTALLATION
(for models with separate bases)

A. Pull off plasterguards (1) and discard them.
B. Place handle base (2) and gasket (3) over stem (4). Secure base against wall with nut (5). Nut is reversible to allow for thick or thin wall mounting applications. Repeat for handle base on other side. Optional: If mounting surface is uneven, apply suitable sealant to the back surface of each flange before installation.
2B HANDLE INSTALLATION
(for models with threaded bases)

Install stems (1) to valves (2), secure stems (1) with screws (3). Thread handle sleeves (4) on valves, mark groove that falls between 5/8″-1 1/8″ from finished wall. Remove sleeve and cut at marked groove. Reinstall sleeves (4) then thread handles (5) onto sleeves. Make sure hot-side valve stem is rotated as far as possible in the counter-clockwise direction. Thread handle onto sleeve so that handle lever is horizontal and pointed to the left. Make sure cold-side valve stem is rotated as far as possible in the clockwise direction. Thread handle onto sleeve so that handle lever is horizontal and pointed to the right.After successful installation of the handles, proceeds to step 3.
NOTE: If handles will not install exactly in horizontal position, remove handle and adapter. Rotate adapter by one spline and reinstall onto valve stem. Repeat until desired handle alignment is achieved.
NOTE: Hot and cold valves may be swapped in the rough so that the handles rotate in the opposite direction (downward) to open valves. Hot and cold supply lines should not be altered.

HANDLE INSTALLATION (for models with separate bases)
A. Install two o-rings (1) onto splined handle adapter (2). Install adapter onto hotside (left) valve stem (3). Secure adapter with screw (4).
B. Install handle (5) onto adapter. Measure gap between handle and handle base (6).
C. Remove handle and handle adapter. Using measurement from step B, mark this distance from end of adapter. Cut adapter at notch closest to this mark.
D. Reinstall adapter onto hot-side (left) valve stem and secure with screw.
E. Make sure hot-side valve stem is rotated as far as possible in the counter clockwise direction. Install handle onto adapter so that handle lever is horizontal and pointed to the left.
F. Repeat steps A through D for installing handle onto cold-side (right) valve stem.
G. Make sure cold-side valve stem is rotated as far as possible in the clockwise direction. Install handle onto adapter so that handle lever is horizontal and pointed to the right.
NOTE: If handles will not install exactly in horizontal position, remove handle and adapter. Rotate adapter by one spline and reinstall onto valve stem. Repeat until desired handle alignment is achieved.
NOTE: Hot and cold valves may be swapped in the rough so that the handles rotate in the opposite direction (downward) to open valves. Hot and cold supply lines should not be altered.

FLUSH YOUR SYSTEM
Turn both faucet handles (1) to full open position. Turn on hot and cold supplies (if not already open) and flush water lines for one minute. Important: This flushes away any debris that could cause damage to internal parts or disrupt water flow from your faucet.
After flushing, turn handles to off position.

SPOUT FLANGE AND SPOUT INSTALLATION
A. Install gasket (1) onto brass nut (2). Install nut onto rough and tighten until nut is against finished wall. Install spout tube adapter (3). Tighten until adapter bottoms out against brass nut.
B. Push spout assembly (4) over adapter (3) until spout base is flat against wall. Secure spout by tightening set screw (5) on underside of spout base. Set screw should engage groove in brass nut. Optional: If mounting surface is uneven, apply suitable sealant to gasket on brass nut.

MAINTENANCE VALVES
SHUT OFF WATER SUPPLIES BEFORE SERVICING VALVE OR SPOUT ASSEMBLIES If your faucet leaks out of spout or around handle body, replace valve cartridge (1).
A. Remove handle (10) and nut (5) (and handle base (4) if applicable) – see handle instructions for details.
B. Remove screw (7) and spline adapter (6).
C. Unscrew sleeve (2) by turning counterclokwise.
D. Unscrew cartridge (1) by turning it counterclokwise using a 19 mm hex socket wrench.
E. Install new cartridge and assemble other parts in reverse order.
NOTE: Line up handles with valves in closed position before refitting handles.
MAINTENANCE SPOUT
SHUT OFF WATER SUPPLIES BEFORE SERVICING VALVE OR SPOUT ASSEMBLIES If your faucet leaks at base of spout, replace o-ring (12) on spout adapter (11).
A. Loosen set screw (13) on bottom side of spout escutcheon and pull straight out on spout to remove it from adapter.
B. Replace o-ring (12) on adapter (11).
C. Reassemble in reverse order.
D. If leak continues replace adapter (11) RP93535.
If your faucet leaks around stream straightener (14), replace stream straightener assembly.
A. Use a small flat-bladed screw driver to carefully pry stream straightener out of faucet using tabs in side of stream straightener.
B. Ensure o-ring (15) is installed on replacement stream straightener. Push stream straightener assembly into spout opening until it is fully seated.
CLEANING AND CARE
Care should be given to the cleaning of this product. Although its finish is extremely durable, it can be damaged by harsh abrasives or polish. To clean, simply wipe gently with a damp cloth and blot dry with a soft towel.
Limited Warranty on Brizo® Faucets
Parts and Finish. All parts (other than electronic parts, air switch power modules, batteries, and parts not supplied by Brizo Kitchen and What You Must Do To Obtain Warranty Service or Replacement Parts. A warranty claim may be made and replacement parts may Bath Company) and finishes of Brizo® faucets purchased from authorized Brizo sellers are warranted to the original consumer purchaser be obtained by calling 1-877-345-BRIZO (2749) or by contacting us by mail or online as follows (please include your model number and date to be free from defects in material and workmanship for as long as the original consumer purchaser owns the home in which the faucet was of purchase): first installed. For commercial purchasers, (a) the warranty period is ten (10) years for multi-family residential applications and (b) five (5) years for all other commercial uses, in each case from the date of purchase. For purposes of this warranty, the term “multi-family residential application” refers to the purchase of the faucet from an authorized Brizo seller by a purchaser who owns but does not live in the residential dwelling in which the faucet is initially installed, such as in a rented or leased single unit or multi-unit detached home (duplex or townhome), or a condominium, apartment building or community living center. The following installations are not considered multi-family residential applications, are excluded from the 10-year warranty, and are subject to the 5-year warranty: industrial, institutional or other business premises, such as a dormitory, hospitality premises (hotel, motel, or extended stay location), airport, educational facility, long- or short-term healthcare
In the United States and Mexico: Brizo Kitchen & Bath Company 55 E. 111th Street Indianapolis, IN 46280 Attention: Warranty Service
https://www.brizo.com/customer-support/contact-us
In Canada: Masco Canada Limited, Plumbing Group Technical Service Centre 350 South Edgeware Road St. Thomas, Ontario, Canada N5P 4L1
https://www.brizo.com/customer-support/contact-us
Proof of purchase (original sales receipt) from the original purchaser must be made available to Brizo Kitchen & Bath Company for all Electronic Parts and Batteries (if applicable). Electronic parts (other than air switch power modules and batteries), if any, in Brizo® faucets purchased from authorized Brizo sellers are warranted to the original consumer purchaser to be free from defects in material and warranty claims unless the purchaser has registered the product with Brizo Kitchen & Bath Company. This warranty applies only to Brizo® faucets installed in the United States of America, Canada, and Mexico. workmanship for five (5) years from the date of purchase or, for commercial users, for one (1) year from the date of purchase. No warranty is provided on batteries.
Air Switch Power Module. The electronic power module of Brizo® air switches purchased from authorized Brizo sellers is warranted to the original consumer purchaser to be free from defects in material and workmanship for two (2) years from the date of purchase or, for commercial users, for one (1) year from the date of purchase.
What We Will Do. Brizo Kitchen & Bath Company will repair or replace, free of charge, during the applicable warranty period (as described above), any part or finish that proves defective in material and/or workmanship under normal installation, use, and service. Brizo Kitchen & Bath Company may, in its sole discretion, use new, refurbished or recertified parts or products for such repair or replacement. If repair or replacement is not practical, Brizo Kitchen & Bath Company may elect to refund the purchase price in exchange for the return of the product. These are your exclusive remedies.
What Is Not Covered. Because Brizo Kitchen and Bath Company is unable to control the quality of Brizo products sold by unauthorized sellers, unless otherwise prohibited by law, this warranty does not cover Brizo products purchased from unauthorized sellers (visit Brizo.com to see a list of our Authorized Online Resellers).
Any labor charges incurred by the purchaser to repair, replace, install or remove this product are not covered by this warranty. Brizo Kitchen & Bath Company shall not be liable for any damage to the product resulting from reasonable wear and tear, outdoor use, misuse (including use of the product for an unintended application), freezing water, abuse, neglect, or improper or incorrectly performed assembly, installation, maintenance or repair, including failure to follow the applicable care and cleaning instructions. Customized components purchased by the consumer or commercial user and installed into a Brizo product, and any damage resulting from removal or improper installation of such Limitation on Duration of Implied Warranties. Please note that some states/provinces (including Quebec) do not allow limitations on how long an implied warranty lasts, so the below limitations may not apply to you. TO THE MAXIMUM EXTENT PERMITTED BY APPLICABLE LAW, ANY IMPLIED WARRANTY, INCLUDING THE IMPLIED WARRANTIES OF MERCHANTABILITY AND OF FITNESS FOR A PARTICULAR PURPOSE, IS LIMITED TO THE STATUTORY PERIOD OR THE DURATION OF THIS WARRANTY, WHICHEVER IS SHORTER.
Limitation of Special, Incidental or Consequential Damages. Please note that some states/provinces (including Quebec) do not allow the exclusion or limitation of special, incidental, or consequential damages, so the below limitations and exclusions may not apply to you. TO THE MAXIMUM EXTENT PERMITTED BY APPLICABLE LAW, THIS WARRANTY DOES NOT COVER, AND BRIZO KITCHEN & BATH COMPANY SHALL NOT BE LIABLE FOR ANY SPECIAL, INCIDENTAL, OR CONSEQUENTIAL DAMAGES (INCLUDING LABOR CHARGES TO REPAIR, REPLACE, INSTALL OR REMOVE THIS PRODUCT), WHETHER ARISING OUT OF BREACH OF ANY EXPRESS OR IMPLIED WARRANTY, BREACH OF CONTRACT, TORT, OR OTHERWISE. BRIZO KITCHEN & BATH COMPANY SHALL NOT BE LIABLE FOR ANY DAMAGE TO THE FAUCET RESULTING FROM REASONABLE WEAR AND TEAR, OUTDOOR USE, MISUSE (INCLUDING USE OF THE PRODUCT FOR AN UNINTENDED APPLICATION, FREEZING WATER, ABUSE, NEGLECT OR IMPROPER OR INCORRECTLY PERFORMED ASSEMBLY, INSTALLATION, MAINTENANCE OR REPAIR, INCLUDING FAILURE TO FOLLOW THE APPLICABLE INSTALLATION, CARE AND CLEANING INSTRUCTIONS. Notice to residents of the State of New Jersey: The provisions of this warranty, including its limitations, are intended to apply to the fullest extent permitted by the laws of the State of New Jersey.
Additional Rights. This warranty gives you specific legal rights, and you may also have other rights which vary from state/province to state/province.
This is Brizo Kitchen & Bath Company’s exclusive written warranty, and the warranty is not transferable.
Brizo Kitchen & Bath Company recommends using a professional plumber for all installation and repair of faucets. We also recommend that If you have any questions or concerns regarding our warranty, please contact us as provided above or visit our website at you use only genuine Brizo® replacement parts.
www.brizo.com.
© 2022 Masco Corporation of Indiana

















