Climax VST-892 PIR Motion Sensor Camera

Introduction
VST-892 is a passive infrared (PIR) motion sensor camera. It is capable of sending wireless signals and captured images (picture quality of up to 640 x 480 pixels) to the Control Panel upon movement detection.
The PIR Camera is designed to give a typical detection range of 10 meters when mounted at 2.3-2.5 meters above ground. For pet-immune models, they will not detect the pets up to 50cm/20kg when mounted at 2.3-2.5 meters above ground. For models that are compatible with repeaters/routers (P5 models only), the RF communication range can be further extended into hard-to-reach areas.
VST-892 is designed with the digital proximity detector. The anti-masking feature allows for detection of any attempts to blind the detector by placing objects in its field of view.
The PIR Camera consists of a two-part design made up of a cover and a base. The cover contains all the electronics and optics and the base provides a means of fixing. The base has knockouts to allow mounting on either a flat surface or in a corner situation with a triangular bracket for corner mounting.
The VST-892 Series includes the following models:
VST-892 – PIR motion sensor camera with flash LED
VST-892-IL – PIR motion sensor camera with Infrared LED
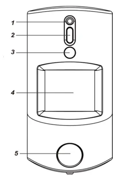
Parts Identification
- Flash LED/Infrared LED
The Flash LED (For VST-892) or Infrared LED (For VST-892-IL) delivers sufficient light for image capture under low lighting condition. - Blue LED/Function Button
Blue LED:
(Please refer to LED Indicator description below for details)
Function Button Usage:- Press and hold the button for 3 seconds to send a learn code, release when Blue LED light on.
- Press the button once to enter test mode for 3 minutes.
- Press the button once to send a learn code to the repeater/router. (P5 models only)
- Digital Proximity Detector
The digital proximity detector is used to detect any masking (blocking) attempt by an intruder. - IR Sensor
- PIR Camera Lens

- Battery Compartment
- Tamper Switch
- Pet Immunity Enable/Disable Jumper Switch (JP3)
Jumper On
The jumper link is inserted connecting the two pins
Jumper Off
If the jumper link is removed or “parked” on one pin.
When set as ON, Pet Immunity is disabled.
When set as OFF, Pet Immunity is enabled. (Factory default) - Sensitivity Increaser Jumper Switch (JP4)
When set as ON, the PIR’s detection sensitivity is high.
When set as OFF, the PIR’s detection sensitivity is in normal level.(Factory default)

Features
LED Indicator
In Normal operation mode, the Blue LED will not light except in the following situations:
- When the PIR Camera is in low battery condition, every time it transmits a detected movement, the Blue LED will flash for 2 seconds.
- When the cover is opened and the tamper switch is violated, the Blue LED will flash for 2 seconds, to indicate it is transmitting “Tamper” signal.
- When the Tamper condition persists, every time it transmits a detected movement, the Blue LED will flash for 2 seconds.
- When PIR Camera enters Test Mode, the Blue LED will flash for 1 second. During Test mode, the Blue LED will also flash for 2 seconds every time a movement is detected.
- When the PIR Camera is in 30 seconds warm up period, the Blue LED will slow flash.
- When the PIR Camera is transmitting captured images under fault conditions (low battery, tamper switch activated), the Blue LED will continuous flash.
The LED will not flash if the PIR Camera tamper and battery are normal and is not under test mode, If the LED flashes to indicate signal transmission, it will flash twice rapidly upon receiving acknowledgment from panel.
Image Capture
When the alarm system is armed, the PIR Camera will capture 1, 3 or 6 alarm images in 640 x 480 or 320 x 240 resolutions (programmable from Control Panel) upon movement detection. You can also manually request the PIR Camera to take a picture through the Control Panel. The captured images will be transferred to the Control Panel for users view.
Warm Up Period
When the Control Panel system enters arm mode, or when PIR Camera is put into Test Mode, the PIR Camera will warm up for 30 seconds. During the 30-second warm up period, the PIR Camera will not be activated. The Blue LED will slow flash during the warm up period only when PIR enters for Test Mode.
Sleep Timer
The PIR Camera has a “sleep time” of approximately 1 minute to conserve power. After transmitting for a detected movement, the PIR Camera will not retransmit for 1 minute. Any detected movement during this period will reset the sleep time to 1 minute. Continuous movement in front of the PIR Camera will therefore not exhaust the battery.
Battery and Low Battery Detection
The PIR Camera uses three CR123A 3V Lithium batteries in series connection as its power source. Remove the Battery Compartment Cover and insert the batteries to activate the PIR Camera.
The PIR Camera features Low Battery Detection function. When the battery voltage is low, the PIR Camera will transmit Low Battery signal to the Control Panel. If movement is detected under Low Battery condition, the Blue LED will flash for 2 seconds.
When changing battery, after removing the old battery, press the Tamper Switch or the Function Button twice to fully discharge before inserting new batteries
Tamper Protection
The PIR Camera is protected by a tamper switch which is compressed when the PIR Camera is properly installed. When the PIR Camera is removed from mounted surface or its cover opened, the tamper switch will be activated and the PIR Camera will send a tamper open signal to the system control panel to remind the user of the condition. If movement is detected when the tamper switch is open, the Blue LED will flash for 2 seconds.
Supervision
The PIR Camera will conduct a Self-test Periodically by transmitting a supervisory signal once every 90 to 110 minutes.
Test Mode
- Test mode is for you to check the PIR camera’s detection range (not shooting coverage).
- Press the Function button once to enter Test mode for 3 minutes, the Blue LED will flash for 1 second.
- The PIR camera will warm up for 30 seconds. Please do not trigger the Camera during this warming-up period.
- After the warm-up period, you can trigger PIR camera to check IR detection range. If PIR camera is triggered, the Blue LED will flash for 2 seconds.
Learning
- Remove the Battery Compartment Cover by loosening the Battery Compartment Screw.
- Insert the batteries. Orient the battery according to the polarity indication.
- Put the Control Panel into learning mode, refer to Control Panel manual for details.
- Press and hold the function button for 3 seconds, release the button when the Blue LED light on, the Blue LED will light on for 25 seconds in learning mode, add PIR Camera into the Control Panel during this period (refer to your Control Panel to finish learn in process). If the PIR is successfully added into the Control Panel, the Blue LED will flash 6 times to indicate. If PIR is not added within 25 seconds, please repeat learning process.
- If the PIR Camera already exists in a Control Panel system, you will need to first remove the PIR Camera from the Control Panel before you can learn it into a different Control Panel.
- When learning the PIR Camera into a repeater/router, please press the function button once (instead of pressing and holding it for 3 seconds) to send a learn code. (P5 models only)
Walk Test
- After the PIR Camera is learnt-in, put the Control Panel into “Walk Test” mode, hold the PIR Camera in the desired location, and press the Function Button to confirm this location is within signal range of the Control Panel, refer to Control Panel manual to complete Walk Test.
- When you are satisfied that the PIR Camera works in the chosen location, you can proceed to mounting.
Edit PIR Camera Operation Area
Follow instruction below to change PIR Camera Area in the Control Panel
- Use the panel Edit Device function to change PIR Camera area setting.
- Press and hold the Test button for 3 seconds on the PIR Camera to send a signal to the panel, and then release the button when the LED lights up.
Proximity Detection
- VST-892 has a digital proximity detector that can detect any masking (blocking) attempt by an intruder.
- When a masking event is detected, and the masking condition lasts for 2 minutes, VST-892 will send tamper open signal to the Control Panel to notify user of the condition.
- After masking/blocking is removed for 2 minutes, VST-892 will send tamper restore signal to the Control Panel.
Pet Immunity Function
The PIR sensor supports pet immunity feature and will not detect pets up to 50 cm/20 kg to minimize false alarm situation.
The Pet Immunity function can be enabled/disabled by setting the Jumper Switch (JP3) position. When the Jumper Switch (JP3) is set to ON, Pet Immunity is disabled. When the Jumper Switch (JP3) is set to OFF, Pet Immunity is enabled. (Factory default).
Sensitivity Increaser Function
You can use the sensitivity increaser function to increase the PIR’s detection sensitivity. To increase detection sensitivity, set the Jumper Switch (JP4) to ON. To maintain normal detection sensitivity, set the the Jumper Switch (JP4) to OFF (Factory default).
Installation
Installation Guideline
- The PIR Camera is designed to be mounted on either a flat surface or in a corner situation with fixing screws and plugs provided.
- The base has knockouts, where the plastic is thinner, for mounting purpose. Two knockouts are for surface fixing and a triangular mounting bracket is used for corner fixing.
- The detection range is up to 10 meters if the PIR Camera is mounted 2.3-2.5 meters above ground.
- When Pet-Immunity function is enabled, it will not detect pets up to 50cm/20kg when mounted at 2.3-2.5 meters above ground. If required, you can adjust the height of the PIR Camera according to the size of your pet for optimal pet immune performance. Higher installation location will provide larger pet-immune space, but also increases the blind spot under the PIR Camera.
- When VST-892 is mounted with rotating bracket, it will not have the regular detection area (as in the diagram), or the typical pet immue range.


It is recommended to install the PIR Camera in the following locations
- Mount where the animals cannot come to the detection area by climbing on furniture or other objects.
- Don’t aim the detector at stairways the animals can climb on.
- In a position such that an intruder would normally move across the PIR’s field of view.
- Between 2.3 and 2.5m above ground for best performance.
- In a corner to give the widest view.
- Where its field of view will not be obstructed e.g. by curtains, ornaments etc.
Limitations
- Do not install the PIR Camera completely exposed to direct sunlight.
- Avoid installing the PIR Camera in areas where devices may cause rapid change of temperature in the detection area, i.e. air conditioner, heaters, etc.
- Avoid large obstacles in the detection area.
- Not pointing directly at sources of heat e.g. Fires or boilers, and not above radiators.
- Avoid moving objects in the detection area i.e. curtain, wall hanging etc.
- Be sure to always remain the RSSI signal strength steady at “4”.
Mounting the PIR Camera
- The PIR is designed to be mounted on either a flat surface or in a corner situation with fixing screws and plugs provided.
- For corner mounting, a triangular bracket is provided to add Back Tamper Protection. The bracket also includes two knockouts to mount on the wall.
- For surface mounting, an optional rotating bracket is provided for users to adjust the range of detection. With the rotating bracket, the VST-892 can be rotated 80 degrees horizontally and 70 degrees vertically to provide optimal coverage.

Corner mounting:
- Open the cover by loosening the Cover Screw using a Philips screwdriver.
- Break through the 4 Corner knockouts at the center of base.
- Use the holes as template to drill holes on the surface.
- Insert the wall plugs if fixing it into plaster or brick.
- Screw the base into the wall plugs.
- Fit the cover onto the base and tighten.
Corner mounting with the triangular bracket:
- 4 knockouts are made on the triangular bracket. To fix the bracket on the Wall A, break through Knockout A & B. To fix the bracket on Wall B, break through Knockout C & D. To fix the bracket on both of Wall A & B, break through Knockout A & D or B & C.
- Use the two holes as template to drill holes on the corner surface.
- Insert the wall plugs.
- Screw the triangular bracket into the wall plugs with the two pointing sticks (E) on top facing you.
- Fit the PIR Camera onto the hooks of the triangular bracket.

Surface mounting:
- Open the cover by loosening the Cover Screw using a Philips screwdriver.
- Break through the 2 Surface knockouts at the center of base.
- Use the holes as template to drill holes on the surface.
- Insert the wall plugs if fixing it into plaster or brick.
- Screw the base into the wall plugs.
- Fit the cover onto the base and tighten.
Surface mounting with rotating bracket (optional item, sold separately): The rotating bracket can be mounted on the wall with provides screws.
- Screw the rotating bracket into the wall.
- Fit the 3 hooks of the rotating bracket into the 3 holes of the base accordingly.
- Rotate the bracket for the proper range of detection and tighten the fixing screw.


Federal Communication Commission Interference Statement
This equipment has been tested and found to comply with the limits for a Class B digital device, pursuant to Part 15 of the FCC Rules. These limits are designed to provide reasonable protection against harmful interference in a residential installation.
This equipment generates, uses and can radiate radio frequency energy and, if not installed and used in accordance with the instructions, may cause harmful interference to radio communications. However, there is no guarantee that interference will not occur in a particular installation. If this equipment does cause harmful interference to radio or television reception, which can be determined by turning the equipment off and on, the user is encouraged to try to correct the interference by one of the following measures:
- Reorient or relocate the receiving antenna.
- Increase the separation between the equipment and receiver.
- Connect the equipment into an outlet on a circuit different from that to which the receiver is connected.
- Consult the dealer or an experienced radio/TV technician for help.
FCC Caution: To assure continued compliance, any changes or modifications not expressly approved by the party responsible for compliance could void the user’s authority to operate this equipment. (Example – use only shielded interface cables when connecting to computer or peripheral devices).
FCC Radiation Exposure Statement
This equipment complies with FCC RF radiation exposure limits set forth for an uncontrolled environment. This equipment should be installed and operated with a minimum distance of 20 centimeters between the radiator and your body.
This transmitter must not be co-located or operating in conjunction with any other antenna or transmitter.
The antennas used for this transmitter must be installed to provide a separation distance of at least 20 cm from all persons and must not be co-located or operating in conjunction with any other antenna or transmitter.
This device complies with Part 15 of the FCC Rules. Operation is subject to the following two conditions:
- This device may not cause harmful interference, and
- This device must accept any interference received, including interference that may cause undesired operation.





















