Climax Technology VST-862 PIR Motion Sensor Camera Instruction Manual
Introduction
VST-862 is a passive infrared (PIR) motion sensor camera. It is capable of sending wireless signals and captured images (picture quality of up to 640 x 480 pixels) to the Control Panel upon movement detection.
The PIR Camera is designed to give a typical detection range of 12 meters when mounted at 2 meters above ground. For pet-immune models, a pet-immune range of 7 meters is provided, your household pets will not trigger false alarm within this distance. For models that are compatible with repeaters/routers (P5 models only), the RF communication range can be further extended into hard-to-reach areas.
The PIR Camera consists of a two-part design made up of a cover and a base. The cover contains all the electronics and optics and the base provides a means of fixing. The base has knockouts to allow mounting on either a flat surface or in a corner situation with a triangular bracket for corner mounting.
The VST-862 Series includes the following models:
| Model Name | Flash LED | Infrared LED | Pet Immune | Compatible with Repeater |
| VST-862-(P5) | V | – | – | P5 model only |
| VST-862-IL-(P5) | V | – | P5 model only | |
| VST-862P-(P5) | V | – | V | P5 model only |
| VST-862P-IL-(P5) | – | V | V | P5 model only |
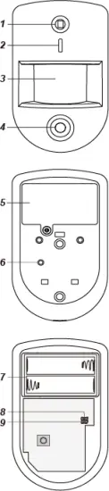
Parts Identification

- Flash LED / Infrared LED
The Flash LED (For 862(P)) or Infrared LED (For 862(P)-IL) delivers sufficient light for image capture under low lighting condition. - Blue LED/Function Button Blue LED:
(Please refer to LED Indicator description below for details)
Function Button Usage:- Press and hold the button for 3 seconds to send a learn code, release when Blue LED light on.
- Press the button once to enter test mode for 3 minutes.
- Press the button once to send a learn code to the repeater/router. (P5 models only)
- IR Sensor
- PIR Camera Lens
- Battery Compartment Cover
- Tamper Switch
- Battery Compartment
- Sensitivity Adjustment Jumper Switch (JP3)
Jumper On
The jumper link is inserted connecting the two pins
Jumper Off
if the jumper link is removed or “parked” on one pin.- Jumper On: the PIR’s sensitivity level is set to High.
- Jumper Off: the PIR’s sensitivity level is set to Normal. (Factory Default)
- Sleep Timer Jumper Switch (JP2)
Jumper On
The jumper link is inserted connecting the two pins.
Jumper Off
if the jumper link is removed or “parked” on one pin.- Jumper On: After movement detection, the PIR Camera does not enter sleep mode and will transmit detection signal again immediately if triggered (Factory Default).
- Jumper Off: PIR Camera has a “sleep time” of approximately 1 minute after motion detection to conserve power.
Features
- LED Indicator
In Normal operation mode, the Blue LED will not light except in the following situations:- When the PIR Camera is in low battery condition, every time it transmits a detected movement, the Blue LED will flash for 2 seconds.
- When the cover is opened and the tamper switch is violated, the Blue LED will flash for 2 seconds, to indicate it is transmitting “Tamper” signal.
- When the Tamper condition persists, every time it transmits a detected movement, the Blue LED will flash for 2 seconds.
- When PIR Camera enters Test Mode, the Blue LED will flash for 1 second. During Test mode, the Blue LED will also flash for 2 seconds every time a movement is detected.
- When the PIR Camera is in 30 seconds warm up period, the Blue LED will slow flash.
- When the PIR Camera is transmitting captured images under fault conditions (low battery, tamper switch activated), the Blue LED will continuous flash.
The LED will not flash if the PIR Camera tamper and battery are normal and is not under test mode,
If the LED flashes to indicate signal transmission, it will flash twice rapidly upon receiving acknowledgement from panel.
- Image Capture
When the alarm system is armed, the PIR Camera will capture 1, 3 or 6 alarm images in 640 x 480 or 320 x 240 resolutions (programmable from Control Panel) upon movement detection. You can also manually request the PIR Camera to take a picture through the Control Panel. The captured images will be transferred to the Control Panel for users view. - Warm Up Period
When the Control Panel system enters arm mode, or when PIR Camera is put into Test Mode, the PIR Camera will warm up for 30 seconds. During the 30-second warm up period, the PIR Camera will not be activated. The Blue LED will slow flash during the warm up period only when PIR enters for Test Mode. - Sleep Timer
When Jumper Switch 2 is set to Off, the PIR Camera has a “sleep time” of approximately 1 minute to conserve power. After transmitting for a detected movement, the PIR Camera will not retransmit for 1 minute. Any detected movement during this period will reset the sleep time to 1 minute. Continuous movement in front of the PIR Camera will therefore not exhaust the battery. - Battery and Low Battery Detection
The PIR Camera uses two 1.5V “AA” Alkaline batteries in series connection as its power source. Remove the
Battery Compartment Cover and insert the batteries to activate the PIR Camera.
The PIR Camera features Low Battery Detection function. When the battery voltage is low, the PIR Camera will transmit Low Battery signal to the Control Panel. If movement is detected under Low Battery condition, the Blue
LED will flash for 2 seconds.
When changing battery, after removing the old battery, press the Tamper Switch or the Function Button twice to fully discharge before inserting new batteries - Tamper Protection
The PIR Camera is protected by a tamper switch which is compressed when the PIR Camera is properly installed.
When the PIR Camera is removed from mounted surface or its cover opened, the tamper switch will be activated and the PIR Camera will send a tamper open signal to the system control panel to remind the user of the condition. If movement is detected when the tamper switch is open, the Blue LED will flash for 2 seconds. - Supervision
The PIR Camera will conduct a Self-test Periodically by transmitting a supervisory signal once every 15 to 18 minutes. - Test Mode
- Test mode is for you to check the PIR camera’s detection range (not shooting coverage).
- Press the Function button once to enter Test mode for 3 minutes, the Blue LED will flash for 1 second.
- The PIR camera will warm up for 30 seconds. Please do not trigger the Camera during this warming-up period.
- After the warm-up period, you can trigger PIR camera to check IR detection range. If PIR camera is triggered, the Blue LED will flash for 2 seconds.
NOTE>- For Test Mode to run smoothly, It is recommended to disable sleep timer.
- Learning
- Remove the Battery Compartment Cover by loosening the Battery Compartment Screw.
- Insert the batteries. Orient the battery according to the polarity indication.
- Put the Control Panel into learning mode, refer to Control Panel manual for details.
- Press and hold the function button for 3 seconds, release the button when the Blue LED light on, the Blue LED will light on for 25 seconds in learning mode, add PIR Camera into the Control Panel during this period (refer to your Control Panel to finish learn in process). If the PIR is successfully added into the Control Panel, the Blue LED will flash 6 times to indicate. If PIR is not added within 25 seconds, please repeat learning process.
Note - If the PIR Camera already exists in a Control Panel system, you will need to first remove the PIR Camera from the Control Panel before you can learn it into a different Control Panel.
- When learning the PIR Camera into a repeater/router, please press the function button once (instead of pressing and holding it for 3 seconds) to send a learn code. (P5 models only).
- Walk Test
- After the PIR Camera is learnt-in, put the Control Panel into “Walk Test” mode, hold the PIR Camera in the
desired location, and press the Function Button to confirm this location is within signal range of the Control Panel, refer to Control Panel manual to complete Walk Test. - When you are satisfied that the PIR Camera works in the chosen location, you can proceed to mounting.
- After the PIR Camera is learnt-in, put the Control Panel into “Walk Test” mode, hold the PIR Camera in the
- Edit PIR Camera Operation Area
- Follow instruction below to change PIR Camera Area in the Control Panel
- Use the panel Edit Device function to change PIR Camera area setting.
- Press and hold the Test button for 3 seconds on the PIR Camera to send a signal to the panel, and then release the button when the LED lights up.
Installation
- Installation Guideline
- The PIR Camera is designed to be mounted on either a flat surface or in a corner situation with fixing screws and plugs provided.
- The base has knockouts, where the plastic is thinner, for mounting purpose. Two knockouts are for surface fixing and a triangular mounting bracket is used for corner fixing.
- The detection range is up to 12 meters if the PIR Camera is mounted 2 meters above ground.
- The Pet-Immune models give a typical PET IMMUNE range of 7 meters when mounted at 1.9 to 2 meters above ground. If required, you can adjust the height of the PIR Camera according to the size of your pet for optimal pet immune performance. Higher installation location will provide larger pet-immune space, but also increases the blind spot under the PIR Camera.

It is recommended to install the PIR Camera in the following locations - Mount where the animals cannot come to the detection area by climbing on furniture or other objects.
- Don’t aim the detector at stairways the animals can climb on.
- In a position such that an intruder would normally move across the PIR’s field of view.
- Between 1.9 and 2m above ground for best performance.
- In a corner to give the widest view.
- Where its field of view will not be obstructed e.g. by curtains, ornaments etc.
- Limitations
- Do not install the PIR Camera completely exposed to direct sunlight.
- Avoid installing the PIR Camera in areas where devices may cause rapid change of temperature in the detection area, i.e. air conditioner, heaters, etc.
- Avoid large obstacles in the detection area.
- Not pointing directly at sources of heat e.g. Fires or boilers, and not above radiators.
- Avoid moving objects in the detection area i.e. curtain, wall hanging etc.
- Be sure to always remain the RSSI signal strength steady at “4”.
- Mounting the PIR Camera
- Surface mounting:
- Open the cover by loosening the Cover Screw using a Philips screwdriver.
- Break through the 2 Surface knockouts at the center of base.
- Use the holes as template to drill holes on the surface.
- Insert the wall plugs if fixing it into plaster or brick.
- Screw the base into the wall plugs.
- Fit the cover onto the base and tighten.

- Corner mounting:
- 4 knockouts are made on the triangular bracket. To fix the bracket on the Wall A, break through Knockout A & B. To fix the bracket on Wall B, break through Knockout C & D.
To fix the bracket on both of Wall A & B, break through Knockout A & D or B & C. - Use the two holes as template to drill holes on the corner surface.
- Insert the wall plugs.
- Screw the triangular bracket into the wall plugs with the two pointing sticks (E) on top facing you.
- Fit the PIR Camera onto the hooks of the triangular bracket.
Triangular Bracket For Conner Mounting
- 4 knockouts are made on the triangular bracket. To fix the bracket on the Wall A, break through Knockout A & B. To fix the bracket on Wall B, break through Knockout C & D.
- Surface mounting:
Federal Communication Commission Interference Statement
This equipment has been tested and found to comply with the limits for a Class B digital device, pursuant to Part 15 of the FCC Rules. These limits are designed to provide reasonable protection against harmful interference in a residential installation.
This equipment generates, uses and can radiate radio frequency energy and, if not installed and used in accordance with the instructions, may cause harmful interference to radio communications. However, there is no guarantee that interference will not occur in a particular installation. If this equipment does cause harmful interference to radio or television reception, which can be determined by turning the equipment off and on, the user is encouraged to try to correct the interference by one of the following measures:
- Reorient or relocate the receiving antenna.
- Increase the separation between the equipment and receiver.
- Connect the equipment into an outlet on a circuit different from that to which the receiver is connected.
- Consult the dealer or an experienced radio/TV technician for help.
FCC Caution: To assure continued compliance, any changes or modifications not expressly approved by the party responsible for compliance could void the user’s authority to operate this equipment. (Example – use only shielded interface cables when connecting to computer or peripheral devices).
FCC Radiation Exposure Statement
This equipment complies with FCC RF radiation exposure limits set forth for an uncontrolled environment. This equipment should be installed and operated with a minimum distance of 20 centimeters between the radiator and your body.
This transmitter must not be co-located or operating in conjunction with any other antenna or transmitter.
The antennas used for this transmitter must be installed to provide a separation distance of at least 20 cm from all persons and must not be co-located or operating in conjunction with any other antenna or transmitter.
This device complies with Part 15 of the FCC Rules. Operation is subject to the following two conditions:
- This device may not cause harmful interference, and
- This device must accept any interference received, including interference that may cause undesired operation.





















