Climax IRM23F1919 Series PIR Motion Sensor User Manual
IRM-23 Series PIR Motion Sensor
IRM-23 Series Motion Sensor is equipped with both PIR and motion detection technology. The combination of dual detection methods greatly improves the Motion Sensor’s detection accuracy and reduces false alarm rate, by using the PIR as initial detection, and as confirmation before actually transmitting the activation signal.
The Motion Sensor has multiple models with different battery, tamper switch and Pet Immunity combination. Identify the function of your model on hand with following table before proceeding to read rest of this manual.
| Model No. | Battery | Tamper Switch | Pet Immunity |
| IRM-23A | 2 x AA Alkaline batteries | Internal | No |
| IRMP-23A | 2 x AA Alkaline batteries | Internal | Yes |
| IRM-23B | 2 x AA Alkaline batteries | Exposed | No |
| IRMP-23B | 2 x AA Alkaline batteries | Exposed | Yes |
| IRM-23A-SL | 1 x CR123A Lithium battery | Internal | No |
| IRMP-23A-SL | 1 x CR123A Lithium battery | Internal | Yes |
| IRM-23B-SL | 1 x CR123A Lithium battery | Exposed | No |
| IRMP-23B-SL | 1 x CR123A Lithium battery | Exposed | Yes |
| IRM-23A-SSL | 2 x AA L91 Lithium batteries | Internal | No |
| IRMP-23A-SSL | 2 x AA L91 Lithium batteries | Internal | Yes |
| IRM-23B-SSL | 2 x AA L91 Lithium batteries | Exposed | No |
| IRMP-23B-SSL | 2 x AA L91 Lithium batteries | Exposed | Yes |
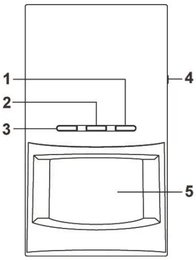
Parts Identification
Front
Internal
(AA battery)
Internal
(CR123A battery)
Back
- Transmitter LED (Red)
The LED lights up briefly when:- The Learn/Test button is pressed.
- The Tamper Switch is triggered or restored.
- Movement is detected under Test Mode
- Movement is detected under Low Battery or Tamper open condition during normal operation.
The LED will not flash if the PIR tamper and battery are normal and is not under test mode.
If the LED flashes to indicate signal transmission, it will flash twice rapidly upon receiving acknowledgement from panel.
When Motion Sensor battery is exhausted, the LED flashes every 4 seconds.
- Detection LED (Blue)
The LED lights up briefly when detection is triggered under Test Mode or Test mode. - IR Detection LED (Green)
The LED lights up briefly when IR detection is triggered under Test Mode. - Learn/Test Button
- Sensor Lens
- Battery Compartment
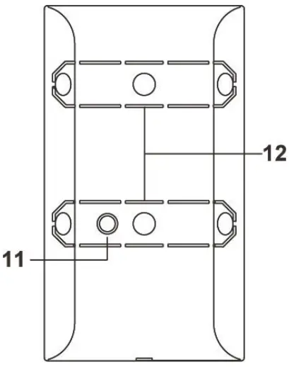
- Supervision Enable / Disable Jumper Switch (JP2)(Reserved)
- Test Enable / Disable Jumper Switch (JP3)
- When the jumper is set as ON, the Motion sensor is under Test Mode (please see Test Mode)
- When the jumper is set as OFF, the Test Mode is disabled. (Factory default)
- Tamper Switch
- Range Switch
The Range scale is shown on the right with the arrow pointing at the current sensitivity level:- Turning in the Clockwise Direction increases detection range (Maximum 20 meters)
- Turning in the Counter-Clockwise Direction decreases detection range (Minimum 3~5 meters)
- Factory Default: is set to medium, approximately 10 meters.
- Tamper Hole
IRM-23A: Tamper switch is pressed against the inside of the back cover
IRM-23B: The tamper switch protrudes from the hole on the back cover - Break-Away Area

Features
- Movement Detection
- The Motion Sensor has built-in PIR sensor and Transmitter. Motion Detection is performed by PIR Sensor during normal operation.
When PIR Sensor detects movement, the Transmitter will be activated to verify the movement detection. If both PIR and confirms movement detection, the Motion Sensor will transmit detection signal. - Detection signal will only be transmitted when both PIR and detects movement.
- Adjust Range Switch setting to tune the Transmitter and overall detection range.
- When Range Switch is set to Maximum, the Motion Sensor has an approximate range of 12 meters when mounted at 1.9~2m height.
- When Range Switch is set to Minimum, the Motion Sensor has an approximate range of 3~5 meters when mounted at 1.9~2m height.
- The Motion Sensor has built-in PIR sensor and Transmitter. Motion Detection is performed by PIR Sensor during normal operation.
- Sleep Timer
After transmitting a detected movement signal, the Motion Sensor will not retransmit for 1-minute sleep period. Any further movement detected during the Sleep Period will reset the sleep time to 1 minute. In this way continuous movement in front of the Motion Sensor will not unduly exhaust the battery. - Test Mode
The Motion Sensor can be put into Test mode by pressing the Learn /Test button. Test Mode lasts 3 minutes and will be reset to 3 minutes by any Learn/Test button press. When under Test Mode, the Sleep Timer is disabled and the LEDs will light up when the Motion Sensor detects movement to notify user.
Use the Test mode to determine the detection coverage of Motion Sensor when installing the sensor. - Test Mode
The Test Mode is for range test only. Use the JP3 Jumper to enable Test Mode. When the Motion Sensor is under Test Mode, PIR detection is disabled, the Transmitter will be activated to repeatedly send signal for movement detection. When the Motion Sensor detects movement under Test Mode, the Blue LED will light up briefly to indicate.
Use the Test Mode to determine the range and adjust range with Range Switch if required. Make sure to disable Test Mode after testing is complete by setting JP3 Jumper to OFF and return the Motion Sensor to normal operation. - Battery
- The Motion Sensor uses different battery depending on the sensor model.
IRM(P)-23(A/B) 2 x AA Alkaline batteries IRM(P)-23(A/B)-SL 1 x CR123A Lithium battery IRM(P)-23(A/B)-SSL 2 x AA L91 Lithium batteries - The Motion Sensor features low battery detection, when low battery voltage is detected, a low battery signal will be sent to the Control Panel along with regular signal transmissions (e.g. supervisory signal when Supervision is enabled).
- If supervision is disabled, the low-battery status is transmitted to the control panel every 12 hours.
- If battery is not changed after low battery detection and the battery is fully exhausted, the Motion Sensor will stop all operation. The Red LED will flash every 4 seconds to indicate.
- When changing batteries, after removing the old batteries, press the Tamper Switch or Learn/Test a couple times to fully discharge before inserting new batteries.
- The Motion Sensor uses different battery depending on the sensor model.
- Supervision
The Motion Sensor will transmit a supervisory signal once every 15 to 18 minutes
If the Control Panel fails to receive the Supervisory signals transmitted from a certain Motion Sensor for a preset time, the Control Panel will determine the particular sensor is out of order. - Tamper Switch
The tamper switch on the Motion Sensor operates differently according to Motion Sensor models.- IRM(P)-23A Series: The Tamper switch is in normal position (Tamper closed) when the spring is compressed against the inside of device back cover. Tamper violation happens when the cover is removed from the base and releases the tamper switch.
- IRM(P)-23B Series The Tamper Switch protrudes from the hole on device back cover and is in normal operation position when the
- Motion Sensor is properly mounted and the tamper switch pressed against mounting location. Tamper violation happens when the device is removed from the mounting surface and releases the tamper switch.
- Break-Away Areas
The Motion Sensor back cover has 2 hollowed break-out areas. When the device is properly installed, if an intruder forcibly removes the Motion Sensor from mounted location, the break-away areas will break off from the back cover and remain attached to the mounting surface while the device main body is removed, activating the tamper switch.
Learning and Installation
Getting Started
- Orient and insert the battery according to polarity.
- The Red Transmitter LED will begin to flash for 30 seconds to indicate the Motion Sensor is warming up. During the warming up period, the Motion Sensor will not be activated. It is recommended that you stay away from the detection area during this time. After the warming-up period, the Red will turn off and the Motion Sensor will enter normal operation.
- Put the Control Panel into learning mode; refer to Control Panel manual for detail.
- Press the Learn/Test Button to transmit signal to panel.
- If the panel receives signal from Motion Sensor, it will display sensor info accordingly. Refer to your Control Panel to complete the learn-in process.
- After the Motion sensor is learnt-in, put the Control Panel into “Walk Test” mode, hold the sensor in the desired location, and press the Test Switch to confirm this location is within signal range of the Control Panel.
- When you are satisfied with the chosen location, you can proceed with Installation.
Mounting Method
- The Motion sensor is designed to be mounted on either a flat surface or in a corner situation with fixing screws and plugs provided.
- The base has knockouts, where the plastic is thinner, for mounting purpose. Two knockouts are located on the back for surface fixing and four knockouts on the sides for corner fixing.
Surface mounting:
- Detach the base and cover assembly.
- Break through the knockouts on the inside of base
- Using the holes as a template, drill holes in the surface.
- Insert the wall plugs if fixing it into plaster or brick.
- Screw the base into the wall plugs.
- Fit the base onto the cover
Corner mounting for IRM-23A:
- Detach the base and cover assembly.
- Break through the four corner knockouts.
- Using the four holes as a template, drill holes in the surface of the corner.
- Insert the wall plugs.
- Screw the base into the wall plugs.
- Fit the base onto the cover

Corner mounting for IRM-23B:
- Break through the knockouts on the triangular bracket.
- Using the two holes as a template, drill holes in the surface of the corner.
- Insert the wall plugs
- Screw the bracket into the wall plugs
- Locate the Bracket Insertion Holes and fit the holes onto the Bracket Insertion Hooks. Fitting the sensor onto the bracket should compress the Tamper switch onto the Tamper Compression Protrusion on the bracket.


Installation
- Decide on the location of the Motion Sensor and if it is to be corner or surface mounted.
- After the installation site is selected, follow the steps described above to mount the Motion Sensor.
- Press the Test Switch to enter Test Mode. Walk around the protected area noting when the LED lights up and check that the detection coverage is adequate.
- When detection coverage is found to be satisfying, installation is now completed.
Installation Recommendations
The Motion Sensor should be mounted at 1.9m~2.0m for optimal performance. It has a maximum range of 12 meters when sensor is set to maximum range and mounted at 2 meters height. The pet immune models have a typical pet immune range of 7 meters.
- For the most desirable performance, remember to adjust the height of the Motion Sensor according to the height of the tallest animal in the house. Taller animals require the sensor to be mounted higher for the Pet Immunity purpose.
- When deciding on the height of the sensor mounting site, remember to take any possible blind spot into consideration. The blind spot underneath the sensor enlarges proportionally to the height of the mounting site.
- Please note that the performance is affected by external factors, such as height of detected object, desired detection range, installation area, etc. The suggested mounting height could be adjusted according to actual installation environment factors.
It is recommended to install the Motion Sensor in the following locations:
- Mount where the animals cannot come to the detection area by climbing on furniture or other objects.
- Avoid aiming the sensor at stairways where the animals can climb on.
- Mount in a position such that an intruder would normally move across the sensor’s field of view.
- Mount in a corner to give the widest view.
- Mount where its field of view will not be obstructed e.g. by curtains, ornaments etc.
Limitations
- Do not position a Motion Sensor to look directly at a door protected by a Door Contact, this could cause the Door Contact and Motion Sensor radio signals to be transmitted at the same instant when entering, causing signal collision..
- Do not install the Motion Sensor completely exposed to direct sunlight.
- Avoid installing the Motion Sensor in areas where devices may cause rapid change of temperature in the detection area, i.e. air conditioner, heaters, etc.
- Avoid large obstacles in the detection area.
- Do not aim the sensor directly at sources of heat e.g. fires or boilers, and not above radiators.
- Avoid moving objects in the detection area i.e. curtain, wall hanging etc.
Federal Communication Commission Interference Statement
This equipment has been tested and found to comply with the limits for a Class B digital device, pursuant to Part 15 of the FCC Rules. These limits are designed to provide reasonable protection against harmful interference in a residential installation.
This equipment generates, uses and can radiate radio frequency energy and, if not installed and used in accordance with the instructions, may cause harmful interference to radio communications. However, there is no guarantee that interference will not occur in a particular installation. If this equipment does cause harmful interference to radio or television reception, which can be determined by turning the equipment off and on, the user is encouraged to try to correct the interference by one of the following measures:
- Reorient or relocate the receiving antenna.
- Increase the separation between the equipment and receiver.
- Connect the equipment into an outlet on a circuit different from that to which the receiver is connected.
- Consult the dealer or an experienced radio/TV technician for help.
FCC Caution: To assure continued compliance, any changes or modifications not expressly approved by the party responsible for compliance could void the user’s authority to operate this equipment. (Example – use only shielded interface cables when connecting to computer or peripheral devices).
FCC Radiation Exposure Statement
This equipment complies with FCC RF radiation exposure limits set forth for an uncontrolled environment. This equipment should be installed and operated with a minimum distance of 20 centimeters between the radiator and your body.
This transmitter must not be co-located or operating in conjunction with any other antenna or transmitter.
The antennas used for this transmitter must be installed to provide a separation distance of at least 20 cm from all persons and must not be co-located or operating in conjunction with any other antenna or transmitter.
This device complies with Part 15 of the FCC Rules. Operation is subject to the following two conditions:
- This device may not cause harmful interference, and
- This device must accept any interference received, including interference that may cause undesired operation.






















