OZ Stainless Steel Beam Clamp User Manual

STAINLESS STEEL BEAM CLAMP
1 TON
2 TON
These Beam Clamps meet or exceed the following standards:
CE
AS4991
ANSI B30.10
(For use with manual or powered hoists)

Product Features
- Robust stainless steel construction
- Super-quick adjustment to most I-Beams
One year warranty
OZ Lifting Products LLC® guarantees this product to be free of defects in materials and workmanship for one year from the date of shipment.
This warranty does not apply to products that show signs of misuse, overloading, alteration, improper maintenance or negligence. The normal wear and tear of moving parts is excluded from the warranty. Moving parts are defined as brake discs, wire rope and other wear components that are subject to use conditions. This warranty does not cover any costs related to removal of this product, lost time, or any other incidental or consequential damages/costs resulting from the claimed defects.
If this product fails during the first year of operating due to defective materials or workmanship, it will be repaired or replaced at the discretion of OZ Lifting Products LLC®. Any product subject to a warranty claim must be returned, prepaid, to an authorized OZ Lifting Products LLC® warranty depot along with proof of purchase. Upon repair, the product will be returned to the customer free of charge. If no defect is found,the customer will be responsible for return shipping costs. The product’s warranty will be effective for the remainder of the original warranty period (one year from shipment date).
OZ Lifting Products LLC® will not be held liable for the following arising from the use of this product: injuries to persons or property, death, incidental, consequential, or contingent damages, whether negligent or deliberate. It is the sole responsibility of the owner to install and operate the product properly and safely. This is OZ Lifting Products LLC®‘s only written warranty. This warranty is in lieu of all other warranties implied by law such as merchantability and fitness. The sale of products from OZ Lifting Products LLC® under any other warranty or guarantee, expressed or implied, is not authorized.
NOTE: OZ Lifting Products LLC® has the right to alter the design of or discontinue the production of any product without prior notice.
For more information please contact:

Important Information and Precautions
This manual contains general instructions dealing with the normal installation, operation and maintenance of the products described herein.
This product should not be installed, operated, or maintained by any person who has not read all the contents of these instructions. Failure to read and comply with these instructions, warnings, or limitations noted might result in bodily injury, death, or property damage. Contact the distributor for further explanation if information is not fully understood.
It is the responsibility of the owner/user to install, test, maintain, and operate these products in accordance with OSHA regulations, other federal, state, and local regulations, and ANSI standards.
Only trained and qualified personnel shall operate and maintain this equipment.
Maintain Records
Schedule and maintain records of regular inspection and maintenance of the product in compliance with ANSI standards.
Record your Beam Clamp’s Serial Number on the front cover of this manual to allow for easier referencing.
Precautions
Do not use OZ Lifting products in conjunction with other equipment unless the system designer, manufacturer, installer, or user has put the necessary safety devices in place.
Modifications to upgrade or alter these products should only be authorized by the original manufacturer.
Beam Clamp should be used for holding loads only within their load ratings.
These Beam Clamp meet or exceed the following standards:
CE
AS4991
ANSI B30.10
(For use with manual or powered hoists)

Warnings
Failure to read and comply with the following warnings may result in a hazardous situation that could lead to death, serious injury, or property damage.
Be sure to properly install, operate, and maintain the Beam Clamp so that it does not come off the beam.
Do Not lift more than the designated clamping range.
Do Not lift people or lift loads over people.
Do Not operate a damaged or malfunctioning product.
Do Not remove, deface, or obscure warning labels.
Do Not operate until personnel are warned or cleared from the area.
Do Not use if load is not suspended vertically.
Do Not use beam clamp without a locking device.
Do Not use beam clamp as welding earth.
Do Not use the beam clamp for a buffer or grab.
Do Not add lengthening pieces to the beam clamp lever.
Do Not weld on the lifted load.
Do Not open the beam clamp when it is holding a load.
Do Not use beam clamps in chemical environments.
Do Not use connections between the clamp and load.
Do Not allow the load to swing.

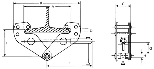
Technical Information
(1, 2 tons)

Specification

*Dimensions are for reference only and subject to change without notice.
Pre-Installation
Check for damage during shipment. Do not install or use a damaged product. Ensure that the spindle is properly functioning.
Be sure to maintain records of all accompanying product information.
Contact your OZ Lifting Product dealer if there are any problems.
Before initial operation:
Read and comply with all instructions and warnings furnished with or attached to the product as applicable.
Operation
Warnings & Precautions
Beam Clamp operators should read and fully comprehend this entire manual and all warnings on the hoist before beginning hoist operation. If this manual is not read and followed completely injuries may occur.
Operator Requirements:
Must be trained in proper trolley operation and dealing with potential malfunctions.
Should not operate beam clamp while under influence of alcohol, medications, or drugs.
Should not operate the beam clamp while tired or distracted.
Should not operate beam clamp if they have a history of seizures or other medical issues that may interfere with operation.
Should have proper coordination and vision.
Prior to Operation be sure:
Clamp is in proper working condition and maintenance records are up to date.
Operation
- Open the clamp jaw by turning counter clockwise.
- Position the beam clamp on the girder.
- To close the clamp jaw hand-tighten by turning the threaded spindle clockwise.
- Be sure that the jaw fully clamps.
- Ensure that the load is centered.
- Always lift slowly and maintain constant observation of the load.
Maintenance
Operators should visually inspect girder clamps on a regular basis. Observe for wear, damage, cuts, cracks, or corrosion. Verify that the spindle is freely moving. If any problems are observed the beam clamp should be placed out of service until it can be repaired. Use only OZ Lifting products for replacement parts.
Once a year the beam clamp should be taken to an authorized repair center for professional inspection.
Following repair test the beam clamp with a load that is 1.25 times the rated load to re-certify the product.



















