
Quick guide
E-convenience instant water heater DSX Touch
![]()
List of figures









The documents supplied with the device must be stored carefully.
Registration
Register your device online on our website and benefit from our services under warranty. Your full details help our customer service process your request as fast as possible. For online registration, just follow the link below or use the QR code with your smartphone or tablet.
https://partner.clage.com/en/service/device-registration/index.php
Operation instruction
Note: Carefully read the enclosed safety instructions through in full before the appliance is installed, put into service, and used, and follow them in the further steps and during use!
Description of the appliance
The E-convenience instant water heater DSX Touch is a fully electronically controlled instantaneous water heater with touch display and remote control for a convenient and efficient water supply to one or more tap outlets.
Its electronic control regulates the power consumption depending on the selected outlet temperature, the respective inlet temperature, and the flow rate, thus reaching the set temperature exactly to the degree and keeping it constant in case of pressure fluctuations. The required outlet temperature can be entered on the touch-sensitive display within a range between 20 °C and 60 °C and can be read off that digital display. Alternatively, the appliance can be conveniently controlled via the Bluetooth® remote control or via the CLAGE app with a smartphone or tablet.
The inlet temperature can be up to 70 °C so that operation in connection with reheating, e.g. in solar systems, is possible.
It is possible to use the instantaneous water heater in combination with an external load shedding relay for electronically controlled instantaneous water heaters (refer to installing instructions).
As soon as you open the hot water tap, the instantaneous water heater switches on automatically. When the tap is closed, the appliance automatically switches off.
Simplified EU Declaration of Conformity
CLAGE GmbH hereby declares that this device complies with Directive 2014/53/EU. The complete text of the EU Declaration of Conformity is available at the following internet address: www.clage.com/downloads
How to use
Main control
The display shows the main control by default. The current status is displayed and by tapping on If heated water is drawn from a tap, the main control changes to drawing mode and, depending the touch screen you get access to various submenus and functions.
Display informations (fig. A1)
| Pos. | Function |
| 1 | Status display, top |
| 2 | User selection |
| 3 | Applications |
| 4 | Temperature display |
| 5 | Status display, bottom |
| 6 | Main menu |
| 7 | Temperature setting |
Temperature display
The coloured scale ring fills up as the temperature setting is increased and the colour changes from blue when the temperature is low to red when the temperature is high. In addition, the target temperature is displayed in °C as a figure in the middle of the display.
Temperature setting
The desired temperature can be selected by tapping on
and
for the fine setting or by dragging along the coloured scale ring for a quick selection within a range of 20 °C to 60 °C. Tapping
or
once changes the temperature by 1 °C, in the comfort range between 35 and 43 °C by 0.5 °C. If the temperature is set below 20 °C, the symbol ![]()
appears in the temperature display and the appliance switches off the heating function.
User selection
Up to eight user profiles can be created. Every user has the option to save his desired temperatures for the different uses in a profile. The user profiles can be selected by tapping on the profile image (fig. A2) and the temperatures saved in the profile are set (to create profile, see Section “User”).
Applications
Preset applications can be selected here. Simply tap on the desired symbol (fig. A3). The temperatures set at the factory (
handwash = 35 °C, ![]()
shower = 38 °C,
bath = 42 °C,
hot water = 48 °C) can be changed for each application via the tempera- ture setting. If you touch the temperature value in the temperature display or the application symbol for 3 seconds, the temperature is saved for the selected application. The temperature display flashes once for confirmation. Application temperatures saved in the user profile can be called up at any time by tapping on the corresponding symbol.
Status display, top
| Control lock active (PIN) | |
| The inlet temperature exceeds the target value (appliance does not heat up) | |
| Indication of activated Wi-Fi. The amount of bars indicates the signal strength | |
| Indication of activated Bluetooth | |
| Indication of a successful connection to CLAGE Cloud |
Status display, bottom
Display area for functions which require confirmation from the user or which are of great significance.
| Eco active: The outlet temperature for all applications and the water flow are limited to an energy-efficient value. If the temperature is set higher via the temperature setting, the symbol start to flash. | |
| Maintenance: Tap the symbol to open a status message with additional information. | |
| Maximum temperature reached: The temperature cannot be increased any further since the set temperature limit has been reached. The temperature limit can be changed in the main menu under “Settings”. |
Drawing mode
If heated water is drawn from a tap, the main control changes to drawing mode and, depending on the set outlet temperature, changes the background colour from blue for low temperatures to red for high temperatures (fig. A4). In this mode the scale ring displays the actual power consumption of the appliance.
Main menu
All function menus and saved values of the appliance can be selected from here. Tap on the symbol to go back to the main control (fig. A5).
For further informations please use the online operation and installation instruction. Please follow the link below or use the QR code via smartphone or tablet.
https://www.clage.de/links/gma/DSX-Touch-GMA-9120-34385
Venting after maintenance work
This instantaneous water heater features an automatic air bubble protection to prevent it from inadvertently running dry. Nevertheless, the appliance must be vented before using it for the first time. Each time the appliance is emptied (e.g. after work on the plumbing system, if there is a risk of frost or following repair work), the appliance must be re-vented before it is used again.
- Disconnect the instantaneous water heater from the mains (e.g. via deactivating the fuses).
- Unscrew the jet regulator on the outlet fitting and open the cold water tap valve to rinse out the water pipe and avoid contaminating the appliance or the jet regulator.
- Open and close the hot water tap until no more air emerges from the pipe and all air has been eliminated from the water heater.
- Only then should you re-connect the power supply again (e.g. via activating the fuses) to the instantaneous water heater and screw the jet regulator back in.
- The appliance activates the heater after approx. 10 seconds of continuous water flow.
Cleaning and maintenance
- Plastic surfaces and fittings should only be wiped with a damp cloth. Do not use abrasive or chlorine-based cleaning agents or solvents.
- For a good water supply, the outlet fittings (e.g. jet regulators and shower heads) should be unscrewed and cleaned at regular intervals. Every three years, the electrical and plumbing components should be inspected by an authorised professional in order to ensure proper functioning and operational safety at all times.
Remote control
Technical data
| Model | FX 3 Remote control |
| Operating voltage | 3 V |
| Type of battery | 2x AAA Alkaline 1) |
| Type of protection | IP 20 |
| Transmission range | 10 metres incl. barrier |
| Transmission power | < 8 mW |
| Transmission and receiving frequency range | 2.4 – 2.4385 GHz |
| Radiation | undirected |
| Approvals | Europe EN 300 328 / CE |
Mounting the wall bracket
- Before attaching the wall bracket to the wall, ensure that the remote control has radio contact to the instantaneous water heater from its designated position.
- The wall bracket of the remote control can either be attached securely with the included adhesive tape, after stripping off the protection film (as shown in the figure B1), on a rigid board (e.g. tile) or with suitable dowels (Ø 4 mm) and screws (as shown in the figure B2).
- When mounting with adhesive tape, ensure that the mounting surface is dry and free of grease and soap.
- When using the adhesive tape it is not possible to further adjust the position because of the strong adherence of the glue. Therefore, pay attention to a horizontal alignment when attaching it.
- The remote control is magnetically retained at the wall bracket.
- Keep the remote control and wall bracket away from credit cards or other cards with magnetic strips. The built in magnets can damage the card’s magnetic strip.
Initial operation
By the time the power settings have been carried out and the power supply to the instantaneous water heater is enabled, insert the batteries into the remote control.
New registration of remote control at the instant water heater
- Make sure that the power supply to the instantaneous water heater is switched on (fuse).
- Remove the batteries until the display expires. After inserting the batteries, the display indicates all symbols for about 4 seconds.
- The remote control connects to the appliance automatically and the display switches to the setpoint value display.
In the case of an unsuccessful registration the display indicates “bt” after 45 seconds. The remote control quits the registration process and switches to standby mode. By pressing a key the registration process will be repeated.
Notes:
- With no remote control registered or without working radio connection, the instantaneous water heater heats to the prior selected set temperature.
Handling
The remote control is equipped with the following functions:
- Arrow buttons
You can set the required temperature gradually to a lower or higher value using the arrow two buttons
and
.
Note: If the temperature display is set to “–” with arrow button
, the instantaneous water heater switches off the heating function. - Programme buttons
The two programme buttons1and2allow to quickly select the preset temperature without the need to press the
and
. buttons several times.
The factory setting for programme1is 35 °C and for programme2it is 48 °C. You can assign your own settings for the programme buttons:
- Select the desired tempe rature with
and
. - To save the current temperature, press the programme button
1or2for min. two seconds.
Safety notes
- At malfunction of the remote control remove the batteries immediately.
- Do not expose the remote control to moisture.
- Flat batteries can leak and damage the remote control. Hence, replace flat batteries right away as soon as battery symbol lights up in the display or the remote control does not response after keystroke.
- When the remote control is not to be used in the long term, remove the batteries.
- Without working radio connection, the appliance heats to the prior selected set value.
Battery replacement
Replace the batteries with new AAA-batteries when the battery symbol
flashes up.
- Do not use rechargeable batteries!
- Non-rechargeable batteries are not to be recharged.
- Different types of batteries or new and used batteries are not to be mixed.
- When replacing the batteries, observe the correct polarity.
Disposal
Batteries may contain environmentally hazardous substances. Therefore, used batteries must be disposed of at special collecting points and not be mixed with general household waste.
At the end of the remote control’s lifetime, the batteries must be disposed of separate from the appliance.
Note: FX 3 Displayed informations and app Smart Control
For further informations please use the online operation and installation instruction. Please follow the link below or use the QR code via smartphone or tablet.
https://www.clage.de/links/gma/DSX-Touch-GMA-9120-34385
Trouble-shooting and service
Repairs must only be carried out by authorised professionals.
If a fault in your appliance cannot be rectified with the aid of this table, please contact the service organisation of your importer or the Central Customer Service Department. Please have the details of the typeplate at hand.
This instantaneous water heater was manufactured conscientiously and checked several times before delivery. Should malfunctions nevertheless occur, it is usually only due to a bagatelle. First attempt to switch the house fuses off and on again in order to reset the electronics. Next, try to remedy the problem with reference to the following table. In doing so, you will avoid unnecessary expense of customer service assistance.
![]()
CLAGE GmbH
After-Sales Servic, Pirolweg 1 – 5, 21337 Lüneburg
Germany
Phone: +49 4131 8901-40
Email: [email protected]
| DSX Touch | ||
| Problem | Cause | Solution |
| Water stays cold, touch display does not light up | Master fuse tripped | Renew or activate fuse |
| Safety pressure cut-out tripped | Contact customer service | |
| Display shows error symbol | The appliance has detected an error. | Switch fuses off and on. If symbol “screwdriver” is still indicated, contact customer service |
| Flow rate of hot water too weak | Outlet fitting dirty or calcified | Clean shower head, jet regulator or sieves |
| Fine filter dirty or calcified | Let clean fine filter by customer service | |
| Water flow is limited | Deactivate Eco mode and flow limit | |
| Selected temperature is not reached | Water flow rate too high | (Re)activate motor-driven valve in the menu “Flow Limit” |
| Cold water has been added via the tap | Tap hot water only; set temperature, check outlet tempera-ture | |
| Touch display does not respond correctly or only sporadically | Display glass is wet | Dry display by wiping it with a soft cloth |
| App can’t find the DSX Touch | Master fuse tripped | Renew or activate fuse |
| Out of Wi-Fi range | Replace the tablet /smartphone near the access point (router or DSX Touch) | |
| Wi-Fi deactivated (air plane mode) | Activate Wi-Fi at tablet /smartphone settings | |
| Tablet / smartphone is connected to another Wi-Fi as the DSX Touch | Change to the same Wi-Fi as the DSX Touch | |
| FX 3 Remote control | ||
| Problem | Cause | Solution |
| Symbol “battery” lights | Flat batteries | Insert two new type AM batteries in the remote control |
| Display: “ not response to the remote control | Transmission range exceeded | Place the remote control closer to the appliance, press key |
| Display: “- -” and radio symbol flashes | Registration in process | Hold the remote control in front of the water heater |
Installation instruction
Overview
| Pos. | Function | Pos. | Function |
| 1 | Bottom part incl. leakage sensor | 14 | DSX Touch hood |
| 2 | Safety thermal cut-out (STB) | 15 | Connecting pipe |
| 3 | Thermal sensor | 16 | Power circuit board cover |
| 4 | Non-return valve | 17 | Servomotor electronics |
| 5 | Flow sensor | 18 | Power circuit board |
| 6 | Heating element | 19 | Transmission module |
| 7 | Safety pressure cut-out (SDB) | 20 | Servomotor |
| 8 | Outlet pipe | 21 | Connecting terminal |
| 9 | Hot water connection | 22 | Touch display incl. control panel support |
| 10 | Screw-in nipples ½ inch | 23 | Inlet pipe |
| 11 | Grommet | 24 | Fine filter |
| 12 | Water splash protection sleeve | 25 | Cold water connection |
| 13 | Wall bracket | 26 | Frame |
Technical specifications
| Model | DSX TOUCH | |||
| Energy efficiency class | A*) | |||
| Rated capacity / rated current | 18 kW..27 kW (26A..39 A) | |||
| Chosen capacity! current | 18 kW / 26A | 21 kW / 30A | 24kW / 35A | 27 kW / 39A |
| Electrical connection | 3~/ PE 380..415V AC | 3-/ PE 400V AC | ||
| Min. required cable size ° | 4.0 mm2 | 4.0 mm2 | 6.0 mm2 | 6.0 mm2 |
| Hot water (I/min)” max. at At = 28 K max. at At = 38 K | 9.2 6.8 | 10.7 7.9 | 12.3 9.0 | 13.8 10.2 |
| Rated volume | 0.41 | |||
| Rated pressure | 1.0 MPa (10 bar) | |||
| Connecting type | pressure-resistant! pressureless | |||
| Heating system | Bare wire heating system IES® | |||
| @ 15°C: Required spec. water resistance Spec. electrical conductivity | ≥1100 flcm ≥90 mS/m | |||
| Inlet temperature | ≤70°C | |||
| Required flow rate to switch on | 1.5 l/min – automatic 3) | |||
| Pressure loss | 0.08 bar at 1.5 l/min 1.3 bar at 9.0 l/min | |||
| Temperature range | 20 – 60 °C [70 °C] | |||
| Water connection | G 1/2 inch | |||
| Weight (when filled with water) | 4.5 kg | |||
| Transmission and receiving frequency range Wi-Fi | 2.412 – 2.472 GHz (802.11b/g/n) | |||
| Transmission power Wi-Fi | ≤ 100 mW | |||
| Transmission and receiving frequency range Bluetooth | 2.4 – 2.4385 GHz | |||
| Transmission power Bluetooth | ≤ 8 mW | |||
| Radiation | undirected | |||
| Transmission range | 10 meter incl. barrier | |||
| VDE class of protection | I | |||
| Type of protection / safety | ![]() | |||
*) The declaration complies with the EU regulation No 812/2013.
1) Maximum applicable cable size is 10 mm2 in electrical connection from above.
2) Mixed water
3) Electronically controlled depending on the desired temperature and cold water temperature
Environment and recycling
This product was manufactured climate neutrally according to Scope 1 + 2. We recommend the rectly will support environmental protection and will prevent any potential negative effects on purchase of 100% green electricity to make the operation climate neutral as well.
Your product was manufactured from high-quality, reusable materials and components. Please respect in case of discarding that electrical devices should be disposed of separately from household waste at the end of their service life. Therefore, please take this device to a municipal collection point that return used electronic devices to the recycling system. Disposing it correctly will support environmental protection and will prevent any potential negative effects on human beings and the environment that could arise from inappropriate handling of these devices at the end of their service life. Please contact your local authority for further details of your nearest designated collection point or recycling site.
Business customers: If you wish to discard equipment, please contact your dealer or supplier for further information.
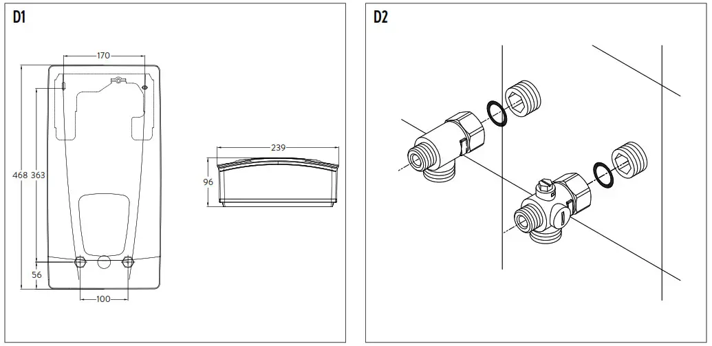
Dimensions
Dimensions in mm (fig. D1)
Installation

Based on the national constitution guidelines a general test certificate concerning the evidence of applicability of noise behaviour is granted.
The following regulations must be observed:
- e.g. VDE 0100
- EN 806
- Installation must comply with all statutory regulations, as well as those of the local electricity and water supply companies.
- The rating plate and technical specifications
- Only intact and appropriate tools must be used
Installation site
- Appliance must only be installed in frost-free rooms. Never expose appliance to frost.
- The Appliance must be wall mounted and has to be installed with water connectors downward or alternative transversely with water connections left.
- The appliance complies with protection type IP25 and may therefore be installed in protection zone 1 according to VDE 0100 part 701 (IEC 60364-7).
- In order to avoid thermal losses, the distance between the instantaneous water heater and the tap connection should be as small as possible.
- The appliance must be accessible for maintenance work.
- Plastic pipes may only be used if they conform to DIN 16893, Series 2.
- The specific resistance of the water must be at least 1100 cm at 15 °C. The specific resistance can be asked for with your water distribution company.
- Do not install the device in the immediate proximity of metal surfaces to allow a reliable wireless connection and an optimal wireless range.
Installing the wall bracket
Thoroughly rinse the water supply pipes before installation to remove soiling from the pipes.
- Using a 12 mm hexagon socket screw key, screw the screw-in nipples according to image manual into the wall connections as shown in. The seals must be fully screwed into the thread.
- Hold the included mounting template according to image manual on the wall, mark the drill holes according to the template and drill them using a 6 mm drill.
- Pull down the faceplate and unscrew the main hood screw to open the appliance.
- Loosen the knurled nut of the wall bracket, remove the wall bracket and screw it on the wall. Offset tiling or uneven surfaces can be compensated by up to 30 mm with the aid of the spacers supplied. The spacers are fitted between the wall and the wall bracket.
Installing connection pieces
Note: Fasten the screw nuts with caution, to avoid damage to the valves or the piping system.
- As shown in the illustration, screw the cold water connection piece with the union nut and the ½ inch seal onto the cold water connection.(fig. D2).
- Screw the hot water connection piece with the union nut and the ½ inch seal onto the hot water connection.
Installing the appliance
- The electrical power supply cable may be connected in the upper part. In such case, the connection will be done according to the description “Electrical connection from above” in online manual.
- Install the appliance according to image manual.
Note: Accessories and surface mounting
For further informations please use the online operation and installation instruction. Please follow the link below or use the QR code via smartphone or tablet.
https://www.clage.de/links/gma/DSX-Touch-GMA-9120-34385
Mounting the remote control’s wall bracket
- Before attaching the wall bracket to the wall, ensure that the remote control has radio contact to the instantaneous water heater from its designated position.
- The wall bracket of the remote control can either be attached securely with the included adhesive tape, after stripping off the protection film (as shown in the figure B1), on a rigid board (e.g. tile) or with suitable dowels (Ø 4 mm) and screws (as shown in the figure B2).
- When mounting with adhesive tape, ensure that the mounting surface is dry and free of grease and soap.
- When using the adhesive tape it is not possible to further adjust the position because of the strong adherence of the glue. Therefore, pay attention to a horizontal alignment when attaching it.
- The remote control is magnetically retained at the wall bracket.
- Keep the remote control and wall bracket away from credit cards or other cards with magnetic strips. The built in magnets can damage the card’s magnetic strip.
Note: Do not expose the remote control to moisture.
Electrical connection
Only by a specialist!
Please observe:
- e.g. VDE 0100
- The installation must comply with current IEC and national local regulations or any particular regulations, specified by the local electricity supply company
- The rating plate and technical specifications
- The appliance must be earthed!
Wiring diagram (fig. E1)
- Electronic circuitry
- Heating element
- Safety pressure cut-out
- Connecting terminal
- Safety thermal cut-out
Structural prerequisites
- The appliance must be installed via a permanent connection. Heater must be earthed!
- The electric wiring should not be injured. After mounting, the wiring must not be direct accessible.
- An all-pole disconnecting device (e.g. via fuses) with a contact opening width of at least 3 mm per pole should be provided at the installation end.
- To protect the appliance, a fuse element must be fitted with a tripping current commensurate with the nominal current of the appliance.
Electrical connection from below
Note: If necessary, the connecting terminal can be displaced to the upper part of the appliance.
To do this, please follow the instructions in the operating and installation manual available online.
Check that the power supply is switched off prior to electrical connection!
- Remove the outer sheath of the connection cable from about 6 cm above the wall outlet (fig. E2). With the smaller opening ahead, slide the water splash protection sleeve over the connecting cable so that the sleeve is flush with the wall. This prevents any leaking water from coming into contact with the electrical leads. It must not become damaged! The protection sleeve must be used!
- Open the control panel rightwards.
- Strip the cables and plug them in the connecting terminals according to the wiring diagram.
The appliance must be earthed. - Pull the protective sleeve over the connecting cables until the sleeve fits perfectly in the recess of the intermediate panel. Adjust the water splash protection sleeve as illustrated and fix it with the sleeve fixing (A). Reinsert the control panel and lock it on (fig. E3).
- Place the hood on the appliance and screw in the fastening screw. After that you can slide on the faceplate from the bottom up to the stop.
Note: Load shedding and electrical connection from above
For further informations please use the online operation and installation instruction. Please follow the link below or use the QR code via smartphone
or tablet.
https://www.clage.de/links/gma/DSX-Touch-GMA-9120-34385
Initial operation
Vent the device according to the enclosed image manual.
After every draining (e.g. after work on the plumbing system or following repairs to the appliance), the heater must be re-vented in this way before starting it up again.
If the water heater cannot be put into operation, the temperature cut-out or the pressure cut-out may have tripped during transport. If necessary, check that the power supply is switched off and reset the cut-out (fig. F1 + F2).
Selection of power rating
Only by authorised specialist, otherwise lapse of guarantee!
Upon first connection of the appliance to the supply voltage, select the maximum power rating. Only after having set the power rating, the heater provides its standard operation mode.
The maximum allowable power rating at installation site depends on the local situation. It is imperative to observe all data shown in the table “Technical specifications”, in particular the required cable size and fuse protection for the electrical connection. Moreover, the electrical installation must comply with the statutory regulations of the respective country and those of the local electricity supply company (Germany: DIN VDE 0100).
- Switch on the power supply to the appliance.
- When switching on the supply voltage for the first time, the touch screen shows the menu to select the language after about 40 seconds. Choose your language, after that the selection of power rating appears. If not, please follow the note “Reinstallation”.
- Select the maximum allowable power rating depending on the local situation via touch (18, 21, 24 or 27 kW).
- Press “OK” to confirm the setting.
- Mark the selected power rating on the rating plate.
- After having set the maximum allowable power rating, the heating element will be activated after approx. 10 30 sec of continuous water flow.
- Open the hot water tap. Check the function of the appliance.
- Remove the battery case cover of the remote control and insert batteries (2 × AAA Alkaline). Mind the polarity of the batteries. Insertion should take place when the power supply of the water heater is turned on and the remote control is near the appliance. The display indicates all symbols for about 4 seconds after inserting the batteries, after that the remote control is connected to the instantaneous water heater.
- Explain the user how the instantaneous water heater works and hand over the operating instructions to the user.
- Fill in the guarantee registration card and send it to the CLAGE After-Sales Service or use the online registration on our website (see also page 10).
Reinstallation
In case the appliance will be commissioned again under different installation conditions than during its initial operation, it may be necessary to adapt the maximum power rating. A temporary short-circuit of the two pins on the right, e.g. with a screwdriver acc. to EN 60900 (see figure F3), will reset all heater parameters to works setting and lock the heating. The touch screen shows the menu to select the language. Choose your language, after that the selection of power rating appears. This condition will maintain when activating and deactivating the supply voltage.
Shower application
The water heater’s temperature must be limited to 55 °C, if it is connected to a shower. The temperature limit must be set to a value less or equal 55 °C in the setting menu, in consultation with the customer and the lock level must be activated. When the appliance is operated with preheated water, it must be ensured that this temperature is limited to 55 °C as well.
Notes in case of remote control connection problems
In case of a failing connection between the remote control and the water heater, the display indicates “
“. A keystroke restarts the registration. Under those circumstances reduce the distance to the water heater and check whether the power supply is turned on.
Initial operation
Locking function
The operating mode of the appliance can be restricted.
Activation of the locking function
- Select required parameters via the setting menu (see online user manual chapter “Settings”, subpoints “Temperature limit” and / or “Load shedding”).
- Disconnect the appliance from the power supply (e.g. by switching off the fuses).
- Take the jumper off the power electronics and change to position “1” (see figure F4).
- Put the appliance into operation again.
Deactivation of the locking function
- Disconnect the appliance from the power supply (e.g. by switching off the fuses).
- Take the jumper off the power electronics and change to position “O” (see figure F4).
- Put the appliance into operation again.
Maintenance work
Maintenance work must only be conducted by an authorised professional.
Cleaning and replacing the filter strainer
The cold water connection of this instantaneous water heater is equipped with an integrated shut-off valve and a strainer. Soiling of the strainer may reduce the warm water output. Clean or replace the strainer as follows:
- De-energize the instantaneous water heater (e.g. via deactivating the fuses) and prevent inadvertent reactivation of them.
- To open the appliance, take off the small face plate, loose the screw behind this cover and detach the hood.
- Close the shut-off valve (a) in the cold water connection piece (position “0” fig. G1).
- Unscrew the screw plug (b) from the cold water connection piece and take out the strainer (c) (fig. G2).
Note: Residual water can leak - The strainer can now be cleaned or replaced.
- After fitting of the clean strainer tighten the screw plug.
- Slowly reopen the shut-off valve in the cold water connection piece (position “1”). Check all connections for leaks.
- Vent the appliance by carefully opening and closing the affiliated warm water tap valve several times until air no longer emerges from the pipe.
- Fit the hood of the appliance. Then switch on the power again (e.g. via activating the fuses).
Cleaning and replacing the filter strainer if direct connected
The cold water connection of this instantaneous water heater is equipped with a strainer. Soiling of the strainer may reduce the warm water output. Clean or replace the strainer as follows:
- De-energize the instantaneous water heater (e.g. via deactivating the fuses) and prevent inadvertent reactivation of them.
- Close the shut-off valve in the mains water supply of the instantaneous water heater.
- To open the appliance, take off the small face plate, loose the screw behind this cover and detach the hood.
- Unscrew mains water inlet from connection piece and take out the strainer. Note: Residual water can leak
- The strainer can now be cleaned or replaced.(fig. G3).
- After refitting the clean strainer reconnect the mains water inlet to the connection piece.
- Slowly reopen the shut-off valve in the mains water supply. Check all connections for leaks.
- Vent the appliance by carefully opening and closing the affiliated warm water tap valve several times until air no longer emerges from the pipe.
- Fit the hood of the appliance. Then switch on the power again (e.g. via activating the fuses).
Product data sheet
| a | b | c | d | e | f | h | i | |
| b.1 | b.2 | IIIVH % | AEC kWh | °C | LIA dB(A) | |||
| CLAGE | DSX Touch | 5V-270P-3H | S | A | 38 | 479 | 60 | 15 |
Product data sheet in accordance with EU regulation
(a) Brand name or trademark, (b.1) Model, (b.2) Type, (c) Specified load profile, (d) Energy-efficiency class, (e) Energy-efficiency, (f) Annual power consumption, (g) Additional load profile, the appropriate energy-efficiency and the annual power consumption, if applicable, (h) Temperature setting
for the temperature controller, (i) Sound power level, internal.
Additional notes: All specific precautions for assembly, installation, maintenance, and use re described in the operating and installation instructions.
All data in this product data sheet are determined by applying the specifications of the relevant European directives. Differences to other product information listed elsewhere may result in different test conditions. The power consumption was determined in compliance with standardized measurement method based on EU guidelines. The real energy consumption is pending on individual requirements.

CLAGE GmbH
Pirolweg 1–5, 21337 Lüneburg
Deutschland
Telefon: +49 4131 8901-0
E-Mail: [email protected]
Internet: www.clage.de


















