ovela OVAMYADCHNA AMY Adirondack Chair User Guide
COMPONENTS






ASSEMBLY
Step 1: Secure parts C1 to C10 with a screws as shown below. This will create the chair back
assembly.

Step 2: Begin the chair base assembly using a screws to connect parts B1L, B1R, B2 and B3 as shown below. Do not fully tighten any screws or bolts until assembly is complete.

Step 3: Secure parts labelled B4 and B5 with a screws onto the chair base assembly.

Step 4: Secure parts A1R to A2R using the a screws. Repeat with A1L and A2L.This forms the armrests.

Step 5: Secure F1R to D using the a screws. Repeat with securing F1L to D.

Step 6: Take apart and screw the c bolts to secure the assembly made in step 5 to the chair base assembly from step 3 as shown below.

Step 7: Secure F2 to the assembly using a screws. Ensure the bevel side of F2 is facing up.

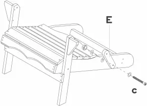
Step 8: Take apart and screw x1 c bolt to secure E to the left side of the chair base assembly.

Step 9: Take apart and screw x1 b bolt to secure the left side of the chair back assembly to the chair base assembly as shown below.

Step 10: Repeat steps 8-9 to secure E, and the right side of the chair back assembly to the chair base assembly.

Step 11: Take apart and screw the b bolts to secure the back of the armrests through the holes on part C9.
Take apart and screw the c bolts to secure the front of the armrests through the holes on parts F1R and F1L.
Fully tighten all screws and bolts on the chair.


Assembly complete.
Need more information?
We hope that this user guide has given you the assistance needed for a simple set-up.
For the most up-to-date guide for your product, as well as any additional assistance you may require, head online to help.kogan.com



















