MUSTANG OAKDALE Outdoor Grill Instruction Manual
Outdoor grill
FOR OUTDOOR USE ONLY. PLEASE READ THESE INSTRUCTIONS CAREFULLY BEFORE ASSEMBLY. RETAIN THIS MANUAL FOR FUTURE REFEREN E.

Do not use the barbecue in a confined and/or habitable space e.g. houses, tents, caravans, motor homes, boats. Danger of carbon monoxide poisoning fatality
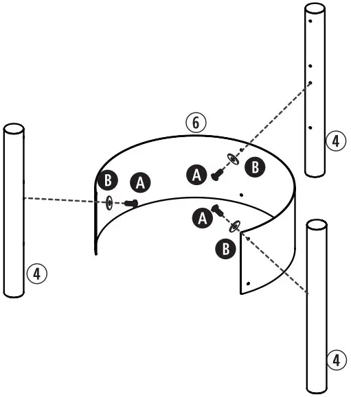
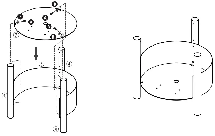
ASSEMBLY INSTRUCTIONS
| No | Description | Qty | No | Description | Qty |
| 1 | Cooking plate | 1 | A | Screw M6x16 | 12 |
| 2 | Body![]() | 1 | B | Wahser![]() | 16 |
| 3 | Body handle![]() | 2 | C | Spring washer | 6 |
| 4 | Upper leg | 3 | D | M10 | 4 |
| 5 | Lower leg | 3 | E | Screw M6x12 | 4 |
| 6 | Windshielf![]() | 1 | F | M6x16
| 4 |
| 7 | Botton shelf | 1 | |||
| 8 | Cloth | 1 |








Congratulations on choosing your Mustang product! The Mustang family of barbecuing products was designed for cooking good food. Our line includes a wide range of barbecuing and cooking products. Go to www.mustang-grill.com or your nearest licensed Mustang retailer to find out more about our selection of products!
We are continually developing the Mustang line and other products it has to offer. Feedback from users plays an important role in our product development for quality assurance. We are always happy to receive any feedback on our products at mustang@mustang-grill. com.
Please carefully go over the user instructions so you will get the most out of your grill. With careful, regular cleaning and maintenance of your grill, you will prolong its life and safety. The Mustang line of products also offers proper cleaning products and tools for its care.
For more information, go to: www.mustang-grill.com.
SAFETY INSTRUCTIONS
- NOT TO BE USED indoors. Never use a charcoal grill inside buildings, vehicles, or tents. It may result in serious injuries or death.
- NOT TO BE USED closer than three metres from flammable materials such as wooden structures, hanging tree branches, clothes, or fuel.
- NOT TO BE USED on an uneven surface.
- NOT TO BE USED during windy weather.
- DO NOT light charcoal with gasoline, alcohol, or with any other flammable substance. Please read the manufacturer’s instructions for the use of charcoal and lighter fluid carefully before use and follow the instructions.
- DO NOT add lighter fluid or lighter fluid doused charcoal on hot or warm charcoal.
- DO NOT wear baggy clothes when lighting or using the grill.
- DO NOT touch a hot grill without grill gloves.
- DO NOT move the grill when it is hot.
- DO NOT leave the grill unsupervised.
- DO NOT leave children or pets near a hot grill without supervision.
- DO NOT remove the ashes before the charcoal has burned out or cooled completely.
IMPORTANT:
YOU MUST ENSURE THAT THE MATERIALS AROUND THE GRILL OR UNDER IT DO NOT SUFFER FROM THE HEAT WHEN USING THIS OR ANY OTHER GRILL.
DO NOT PUT WATER ON A HOT GRILL. IT CAN DAMAGE THE COATING. CLOSE ALL AIR VENTS TO PUT OUT THE FIRE.
Minimum clearances to combustibles Above the grill:
Minimum of 4 m to combustible materials. Do not use the grill under any awnings or pergolas.
Around the grill: Minimum of 1.5 m to any combustible materials. Liquid or gas fuels:
Minimum of 10 m. Do not store any liquid or gas fuels, cylinders or containers in the vicinity of the grill. Ensure all fuel containers are sealed tight to prevent escaping vapour.
WARNING:
The manufacturer’s aim has been to remove all sharp edges, but you should nevertheless handle all parts with caution in order to prevent any possible injuries.
LIGHTING
The grill can be lit by using a chimney starter, paraffin-based firelighters or lighter fluid. Only use vegetable oil-based fluid so that no flavour is imparted to the food. Regardless of the lighting method, always follow the manufacturer’s instructions for the product used for lighting.
WARNING: Do not use gasoline or spirit for lighting or increasing the flames. Only use lighters that conform to Standard EN 1860-3.
WARRANTY
All Mustang products have been carefully manufactured and qualitytested before leaving the factory. This barbecue and its parts have a 12-month warranty from the date of purchase. The warranty covers defects in material and workmanship.
Normal wear and tear, rusting or corrosion of parts is not covered by the warranty. For example, cracking of ceramic surfaces, discoloration of steel surfaces and the occurrence of rust spots are normal during use and over time and do not affect the use of the barbecue. Nor does the warranty cover parts that are subjected to wear and tear or corrosion during use, such as cast iron and stainless-steel tube burners, heat distribution plates, cooking grates and griddles, and warming racks. In the case of self-assembled barbecues, the customer must always install and replace the parts according to the instructions. Failure to follow these instructions will invalidate the warranty. Always read through the user instructions carefully and follow them. Damage or defects resulting from improper use or neglect of maintenance are not covered by the warranty.
Nor does the warranty apply if the product is used for commercial manufacturing, sale or rental purposes.
If a product or part of the product becomes defective during the warranty period, please contact the importer or the Mustang Support Service via www.mustang-grill.com. Before submitting a warranty claim, please re-read the user instructions thoroughly to ensure that you have followed them. All warranty claims will be processed by the importer. A defective or missing part will be replaced with a new part. The customer is responsible for installing the defective or missing part.
The warranty is only valid upon presentation of a copy of the purchase receipt. The purchase receipt must include the name of the seller, the make and model number of the barbecue and the date of purchase. The warranty claim must include the following information: the make and model number of the barbecue, the reason for complaint, the part number of the defective part according to the parts list, a copy of the purchase receipt or statement of place of purchase, date of purchase, consumer’s name, telephone number, street address, postal code and city
Seuraa meita somessa!
@mustanggrill #grillaamustangilla
GrillaaMustangilla
Grillaa Mustangilla
Social media content currently only available in Finnish




















