BACKYARD GRILL CBC1952WC-C Outdoor Charcoal Barbecue Grill Owner’s Manual
Introduction
THIS INSTRUCTION BOOKLET CONTAINS IMPORTANT SAFETY INFORMATION.
PLEASE READ AND KEEP FOR FUTURE REFERENCE.
If you are assembling this unit for someone else, give this manual to them to read and save for future reference.
WARNING
FOR YOUR SAFETY:
For Outdoor Use Only! (outside any enclosure
WARNING
FOR YOUR SAFETY:
- Do NOT store or use gasoline or other flammable liquids or vapors in the vicinity of this or any other appliance.
- When cooking with oil/grease, do NOT allow the oil/grease to exceed 350ºF (176.5ºC). Do NOT store or use extra cooking oil in the vicinity of this or any other appliance.
DANGER
Never operate this appliance unattended.
Important Safeguards
WARNINGS:
- Improper installation, adjustment, alteration, service or maintenance can cause injury or property damage.
- Read the installation, operation, and maintenance instructions thoroughly before installing or servicing this equipment.
- Failure to follow these instructions could result in fire or explosion, which could cause property damage, personal injury, or death.
- This instruction manual contains Important information necessary for the proper assembly and safe use of the appliance.
- Read and follow all warnings and instructions before assembling and using the appliance.
- Follow all warnings and instructions when using the appliance.
- Keep this manual for future reference
IMPORTANT SAFEGUARDS
DANGER:
Failure to follow the dangers, warnings and cautions in this manual may result in serious bodily injury or death, or in a fire or an explosion causing damage to property.
WARNINGS
- This grill is for outdoor use only, and should NOT be used in a building, garage or any other enclosed area.
- Do NOT operate, light or use this appliance within ten feet (3.05 m) of walls, structures or buildings.
- For residential use only. This grill is NOT for commercial use.
- Never use charcoal that has been pre-treated with lighter fluid. Use only a high grade plain charcoal, charcoal/wood mixture, lump charcoal or cooking wood. The conversion to or attempted use of any other fuel source in this charcoal grill is dangerous
and will void your warranty. - This grill is NOT intended for and should never be used as a heater. TOXIC fumes can accumulate and cause asphyxiation.
- Do NOT use grill for indoor cooking. TOXIC carbon monoxide fumes can accumulate and cause asphyxiation.
- This grill is safety certified for use in the United States and/or Canada only. Do NOT modify for use in any other location. Modification will result in a safety hazard and will void your warranty.
- Apartment dwellers: Check with management to learn the requirements and fire codes for using a charcoal grill in your apartment complex. If allowed, use outside on the ground floor with a ten foot (3.05 m) clearance from any structure. Do NOT use on or under balconies.
- Minimum clearance from sides and back of unit to combustible construction is 36 inches (91.4 cm). Do NOT use this appliance under any type of overhang or roof.
- Do NOT use gasoline, kerosene or alcohol for lighting.
- Do NOT use in an explosive atmosphere. Keep grill area clear and free from combustible materials, gasoline and other flammable vapors and liquids.
- Do NOT store or use gasoline or other flammable liquids or vapors within 25 feet (7.62 m) of this appliance.
- Do NOT block holes in sides or back of grill.
- Inspect grill before each use.
- Do NOT alter grill in any manner. Any alteration will void your warranty.
- Do NOT build this model of grill in any built-in or slide-in construction. Ignoring this warning could cause a fire or an explosion that can damage property and cause serious bodily injury or death.
- Do NOT use the grill unless it is COMPLETELY assembled and all parts are securely fastened and tightened.
- This grill should be thoroughly cleaned and inspected on a regular basis.
- Use only Revo Ace Inc. Limited factory-authorized parts.
The use of any part that is not factory authorized can be dangerous and will void your warranty. - Do NOT operate this appliance without reading “Operating Instructions” in this manual.
- To avoid burns, do NOT touch metal parts of grill until they have completely cooled, unless you are wearing protective gear (pot holders, gloves, BBQ mittens, etc.).
- Never touch grates (charcoal, cooking or warming), ashes or coals to see if they are hot.
- Do NOT use on wooden decks, wooden furniture or other combustible surfaces.
- This grill is NOT to be used in or on boats or recreational vehicles.
- Position grill so wind cannot carry ashes to combustible surfaces.
- Do NOT use in high winds.
- Never lean over the grill when lighting.
- Do NOT leave a lit grill unattended. Keep children and pets away from grill at all times.
- Do NOT attempt to move grill when in use. Allow the grill to cool before moving or storing.
- Do NOT leave grill unattended while preheating or burning off food residue.
- When cooking, fire extinguishing materials should be readily accessible. In the event of an oil/grease fire, do NOT attempt to extinguish with water.
Use type BC dry chemical fire extinguisher or smother with dirt, sand or baking soda. - Always open grill lid carefully and slowly as heat and steam trapped within grill can severely burn you.
- If grill has not been cleaned, a grease fire can occur that may damage the product.
- Do NOT place empty cooking vessels on the appliance while in operation.
- Use caution when placing anything on the grill while the appliance is in operation.
- Never add lighting fluid to hot or warm coals as a flashback may occur causing serious injury or damage to property.
- Always place your grill on a hard, non-combustible level surface. An asphalt or blacktop surface may not be acceptable for this purpose.
- Do NOT remove the ashes until they are completely and fully extinguished.
- Live hot briquettes and coals can create a fire hazard.
- Always empty the bottom bowl and grill after each use.
- Do NOT place fuel (charcoal briquettes, wood or lump charcoal) directly into bottom of grill. Place fuel only on the charcoal pan/grid.
- Do NOT allow charcoal to rest on the walls of grill. Doing so will greatly reduce the life of the metal and finish of your grill.
- Check to make sure the air vents are free of debris and ash before using the grill.
- Extinguished coals and ashes should be placed a safe distance from all structures and combustible materials.
- With a garden hose, completely wet the surface beneath and around grill to extinguish any ashes, coals or embers that may have fallen during the cooking or cleaning process.
- The use of alcohol, prescription or non-prescription drugs may impair the consumer’s ability to properly assemble and/or safely operate this grill.
- Always wear protective gloves when adding fuel (charcoal briquettes, wood or lump charcoal) to retain desired heat level.
- Keep all electrical cords away from a hot grill.
- Always use a meat thermometer to ensure food is cooked to a safe temperature.
- Never cover entire cooking area with aluminum foil.
- Use protective gloves when assembling this product.
- Do NOT force parts together as this can result in personal injury or damage to the product.
- Do NOT touch ash receiver or ash receiver handle until grill has completely cooled, unless you are wearing protective gear.
- Do NOT touch air vent or air vent handle until grill has completely cooled, unless you are wearing protective gear.
- Death, serious injury or damage to property may occur if the above is not followed exactly
Expanded View


Parts List
| 1 | Air Vent (3) | B0105-001 |
| 2 | Brand Plate* | B0109-LDA |
| 3 | Temperature Gauge B0104-C70 | |
| 4 | Lid | C1652-05B |
| 5 | Lid Handle | C1681-04C |
| 6 | Top Hinge (2) | G1490-090 |
| 7 | Bottom Hinge (2) | G1490-100 |
| 8 | Warming Rack | C1652-08C |
| 9 | Cooking Grid (2) | C1652-09C |
| 10 | Left Body Panel | C1681-11C |
| 11 | Rear Body Panel | C1652-12C |
| 12 | Charcoal Grid Support (2) C1952-13C | |
| 13 | Charcoal Door Handle Support C1681-19C | |
| 14 | Charcoal Pan | C1652-10C |
| 15 | Charcoal Grid Rod | C1681-14C |
| 16 | Charcoal Grid Support Panel C1681-15C | |
| 17 | Right Body Panel | C1681-16C |
| 18 | Right Side Shelf | C1952-17C |
| 19 | Front Body Panel | C1952-18C |
| 20 | Charcoal Door Handle G1490-330 | |
| 21 | Charcoal Grid Support Handle B0204-090 | |
| 22 | Ash Tray | C1752-22U |
| 23 | Ash Tray Handle | C1681-23C |
| 24 | Side Handle | C1652-24C |
| 25 | Bottle Opener | G1349-120 |
| 26 | Left Rear Leg | C1652-27C |
| 27 | Left Front Leg | C1652-26C |
| 27 | Right Rear Leg | C1752-30U |
| 28 | Right Front Leg | C1652-33C |
| 29 | Foot (2) | C1681-28C |
| 30 | Wheel (2) | B0302-FAO |
| 31 | Bottom Shelf | C1652-29C |
| 32 | Axle | C1652-32C |
Hardware
| A | Screw | M5x10 Nickel Plated Phillips Truss Head | 5 pcs |
| B | Screw | M5x15 Nickel Plated Step | 2 pcs |
| C | Screw | M6x15 Nickel Plated Phillips Truss Head | 34 pcs |
| D | Screw | M6x35 Nickel Plated Phillips Truss Head | 8 pcs |
| E | Screw | M6x65 Nickel Plated Phillips Truss Head | 2 pcs |
| F | Nut | M8 Nickel Plated | 1 pc |
| G | Nut | M10 Nickel Plated | 2 pcs |
| H | Wing Nut | M5 Nickel Plated | 3 pcs |
| I | Washer | ø6.5x ø18 Nickel Plated | 4 pcs |
| J | Washer | ø10 Nickel Plated | 1 pcs |
| K | Lock Washer | ø8.5 Nickel Plated | 1 pcs |
| L | Pin | ø6×45 Nickel Plated | 2 pcs |
| M | Cotter Pin | ø1.4×30 Black | 5 pcs |
Tools Required for Assembly ( Included)
![]() | #2 Phillips Head Screwdriver | 1 pc |
![]() | M10-M8 Wrench | 2 pc |
Assembly Instructions
DO NOT RETURN TO PLACE OF PURCHASE
Please have your owner’s manual and model number available for reference.
For Easiest Assembly:
- Select an area where you will assemble this product . To protect components, choose a smooth surface that’s free of cracks or openings.
- Spread out all parts .
- Tighten all hardware connections by hand first .
Then, before completing each step, go back and fully tighten all hardware.
Be careful not to overtighten.
That could damage surfaces or strip threads. - For best results, complete each step in the order presented .
To complete assembly you will need:- One bag of charcoal (not included)
- Typical assembly is approximately 60 minutes.
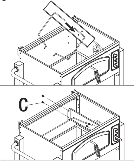
Attach Top Hinges and Lid Handle

| C. | ![]() | X2 |
| D. | ![]() | X2 |
| I. | ![]() | X4 |
Attach Temperature Gauge and (2) Air Vents

| A. | ![]() | X2 |
| H. | ![]() | X2 |
Assemble Grill Body, Charcoal Door Handle and Charcoal Door Handle Support

| C. | ![]() | X8 |
| F. | ![]() | X1 |
| K. | ![]() | X1 |
Attach Bottle Opener, Feet and Legs
Note: Do not fully tighten screws

| A. | ![]() | X2 |
| C. | ![]() | X8 |
Attach Bottom Shelf
Note: Tighten screws from step 5.

| C. | ![]() | X4 |
Attach Side Handle, Air Vent, Axle and Wheels

| A. | ![]() | X1 |
| E. | ![]() | X2 |
| H. | ![]() | X1 |
| G. | ![]() | X2 |
Attach Bottom Hinges

| D. | ![]() | X4 |
Attach Charcoal grid Supports and Charcoal Grid Rod

| C. | ![]() | X2 |
| M. | ![]() | X1 |
| J. | ![]() | X1 |
Insert and Secure Charcoal Grid Supports

| C. | ![]() | X4 |
Attach Charcoal Grid Supports and Charcoal Grid Support handle

| D. | ![]() | X4 |
Attach Right Side Shelf

| B. | ![]() | X2 |
Attach Lid

| L. | ![]() | X2 |
| M. | ![]() | X2 |
Attach Ash Tray Handle and Insert Ash Tray

| C. | ![]() | X2 |
| I. | ![]() | X2 |
Insert Charcoal Pan

Attach Warming Rack

Insert Cooking Grid

Operating Instructions
CAUTION:
Never use charcoal that has been pre-treated with lighter fluid.
Use only a high grade plain charcoal, charcoal/wood mixture, lump charcoal or cooking wood.
First Use
- Make sure all labels, packaging and protective films have been removed from the grill .
- Remove manufacturing oils before cooking on this grill for the first time, by operating the grill for at least 15 minutes with the lid closed.
This will “heat clean” the internal parts and dissipate odors .
Lighting Instructions
- CAUTION: Keep outdoor cooking appliance area clear and free from combustible materials, gasoline and other flammable vapors and liquids.
- CAUTION: Check to make sure the air vents are free of debris and ash before using the grill.
- CAUTION: Attempting to light the grill with the lid closed may cause an explosion.
- CAUTION: When using a liquid starter, always check bottom bowl before lighting. Fluid can collect in the bottom bowl and could ignite, resulting in a fire.
- CAUTION: Never add lighting fluid to hot or warm coals as flashback may occur, causing serious injury or damage to property.
- Open lid and vents .
- Make sure bottom bowl is empty .
- Remove cooking grid .
- Arrange charcoal briquettes or other fuel on the charcoal pan to the “Fill Line” (Figure 1) .
- Light per instructions on fuel package .
- Allow fuel time to ash into glowing coals before cooking.

Turning Off
- Allow charcoal to completely extinguish itself.
- WARNING: Do NOT use water to extinguish.
This can be dangerous and cause damage.
- WARNING: Do NOT use water to extinguish.
- Dispose of the ashes in a proper location
Controlling Flare-ups:
- CAUTION: Do NOT use water on a grease fire. This can cause the grease to splatter and could result in serious burns, bodily harm or other damage.
- CAUTION: Do NOT leave grill unattended while preheating or burning off food residue. If grill has not been cleaned, a grease fire can occur that may damage the product.
- WARNING: When cooking, fire extinguishing materials should be readily accessible. In the event of an oil/ grease fire, use a type BC dry chemical fire extinguisher or smother with dirt, sand or baking soda. Do NOT attempt to extinguish with water.
Flare-ups are a part of cooking meats on a grill and add to the unique flavor of grilling .
Excessive flare-ups can over-cook your food and be dangerous.
Important: Excessive flare-ups result from the build-up of grease in the bottom of your grill .
If a grease fire occurs, close the lid until the grease burns out.
Use caution when opening the lid as sudden flare-ups may occur.
If excessive flare-ups occur, do NOT pour water onto the flames.
Minimize Flare-ups:
- Trim excess fat from meats prior to cooking .
- Cook high fat content meats indirectly .
- Ensure that your grill is on a hard, level, non-combustible surface
Cleaning and Care
NOTICE
- This grill should be thoroughly cleaned and inspected on a regular basis.
- Abrasive cleaners will damage this product.
- Never use oven cleaner to clean any part of grill.
CAUTION
- All cleaning and maintenance should be done when grill is cool and with the ashes properly disposed of.
- Do NOT clean any grill part in a self-cleaning oven. The extreme heat will damage the finish.
Before Each Use:
- Keep the grill area free and clear from any combustible materials, gasoline, and other flammable vapors and liquids .
- See below for proper cleaning instructions .
Cleaning Surfaces
- Wait for grill to fully cool .
- Wipe surfaces clean with a mild dishwashing detergent or baking soda mixed with water .
- For stubborn stains, use a citrus-based degreaser and a nylon scrubbing brush .
- Rinse clean with water .
- Allow to air dry .
Before Storing
- Wait for grill to fully cool .
- Clean all surfaces .
- If storing the grill indoors, cover the grill and store in a cool dry place .
- If storing the grill outdoors, cover the grill with a grill cover for protection from the weather
Limited Warranty
RevoAce Inc . Limited (“RA”) warrants to the original retail purchaser of this product, and to no other person, that if this product is assembled, maintained, and operated in accordance with the printed instructions accompanying it, then for a period of one (1) year for all remaining parts from the date of purchase, all parts in such product shall be free from defects in material and workmanship . RA may require reasonable proof of your date of purchase . Therefore, you should retain your sales slip or invoice . This Limited Warranty shall be limited to the repair or replacement of parts, which prove defective under normal use and service and which RA shall determine in its reasonable discretion upon examination to be defective . Before returning any parts, you should contact RA’s Customer Care Department using the contact information listed below . If RA conforms, after examination, a defect covered by this Limited Warranty in any returned part, and if RA approves the claim, RA will replace such defective part without charge . If you return defective parts, transportation charges must be prepaid by you . RA will return replacement parts to the original retail purchaser, freight or postage prepaid . This Limited Warranty does not cover any failures or operating difficulties due to accident, abuse, misuse, alteration, misapplication, improper installation or improper maintenance or service by you or any third party, or failure to perform normal and routine maintenance on the product as set out in this owner’s manual . In addition, the Limited Warranty does not cover damage to the finish, such as scratches, dents, discoloration, rust or other weather damage, after purchase .
This Limited Warranty is in lieu of all other express warranties . RA disclaims all warranties for products that are purchased from sellers other than authorized retailers or distributors, including the warranty of merchantability or the warranty of fitness for a particular purpose . RA ALSO DISCLAIMS ANY AND ALL IMPLIED WARRANTIES, INCLUDING WITHOUT LIMITATION THE IMPLIED WARRANTIES OF MERCHANTABILITY AND FITNESS FOR A PARTICULAR PURPOSE . RA SHALL HAVE NO LIABILITY TO PURCHASER OR ANY THIRD PARTY FOR ANY SPECIAL, INDIRECT, PUNITIVE, INCIDENTAL, OR CONSEQUENTIAL DAMAGES . RA further disclaims any implied or express warranty of, and assumes no responsibility for, defects in workmanship caused by third parties . This Limited Warranty gives the purchaser specific legal rights; a purchaser may have other rights depending upon where he or she lives . Some jurisdictions do not allow the exclusion or limitation of special, incidental or consequential damages, or limitations on how long a warranty lasts, so the above exclusion and limitations may not apply to everyone . RA does not authorize any person or company to assume for it any other obligation or liability in connection with the sale, installation, use, removal, return, or replacement of its equipment, and no such representations are binding on RA .
CUSTOMER SUPPORT
Manufactured in China for: RevoAce Inc . Limited
Hong Kong, China
1 .800 .694 .0013
[email protected]
8:00 am to 4:00 pm central time, Monday to Friday.



































