BACKYARD GRILL GBC1503W-C Outdoor LP Gas Barbecue Grill

FOR YOUR SAFETY:
For Outdoor Use Only (outside any enclosure)
WARNING
FOR YOUR SAFETY:
- Improper installation, adjustment, alteration, service or maintenance can cause injury or property damage.
- Read the installation, operation, and maintenance instructions thoroughly before installing or servicing this equipment.
- Failure to follow these instructions could result in fire or explosion, which could cause property damage, personal injury, or death.
- This instruction manual contains Important information necessary for the proper assembly and safe use of the appliance.
- Read and follow all warnings and instructions before assembling and using the appliance.
- Follow all warnings and instructions when using the appliance.
- Keep this manual for future reference.
DANGER
If you smell gas –
- Shut off gas to appliance.
- Extinguish any open flame.
- Open lid.
- If odor continues, keep away from the appliance and immediately call your gas supplier or your fire department
WARNING
FOR YOUR SAFETY:
- Do NOT store or use gasoline or other flammable liquids or vapors in the vicinity of this or any other appliance
- An LP cylinder not connected for use shall NOT be stored in the vicinity of this or any other appliance.
DANGER
Never operate this appliance unattended
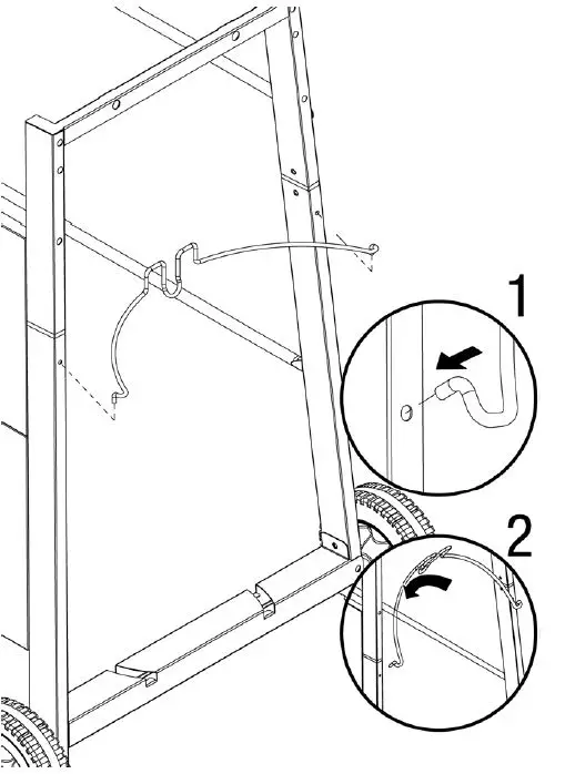
Important Safeguards
DANGER: Failure to follow the dangers, warnings and cautions in this manual may result in serious bodily injury or death, or in a fire or an explosion causing damage to property.
WARNINGS:
- This grill is for outdoor use only, and should not be used in a building, garage or any other enclosed area.
- Do NOT operate, light or use this appliance within ten feet (3.05 m) of walls, structures or buildings.
- For residential use only. This grill is NOT for commercial use.
- This grill is not intended for and should never be used as a heater. TOXIC fumes can accumulate and cause asphyxiation.
- This grill is safety certified for use in the United States and/or Canada only. Do NOT modify for use in any other location. Modification will result in a safety hazard and will void your warranty.
- This grill is for use with liquid propane (LP) gas only. The conversion to or attempted use of natural gas in this LP gas grill is dangerous, may cause bodily harm and will void your warranty.
- LP gas characteristics:
- a. LP gas is flammable and hazardous if handled improperly. Become aware of the characteristics before using any LP gas product.
- b. LP gas is explosive under pressure, heavier than air, and settles/ pools in low areas.
- c. LP gas in its natural state has no odor. For your safety, an odorant is added that smells like rotten cabbage.
- d. Contact with LP gas can cause freeze burns to skin.
- Apartment dwellers: Check with management to learn the requirements and fire codes for using a LP gas grill in your apartment complex. If allowed, use outside on the ground floor with a ten foot (3.05 m) clearance from any structure. Do NOT use on or under balconies.
- LP gas cylinder needed to operate. Only cylinders marked “propane” may be used.
- The LP gas cylinder must be constructed and marked in accordance with the Specifications for LP-gas Cylinders of the U.S. Department of Transportation (D.O.T.) or the National Standard of Canada, CAN/ CSA-B339, Cylinders, Spheres and Tubes for the Transportation of Dangerous Goods; and Commission.
- LP gas cylinder must be arranged for vapor withdrawal.
- The LP gas cylinder must have a listed overfilling prevention device (OPD).
- Only use LP gas cylinders equipped with a cylinder connection device compatible with the connection for outdoor cooking appliances.
- The LP gas cylinder must have a cylinder collar to protect the cylinder valve.
- Never use an LP gas cylinder with a damaged body, valve, collar or footing.
- Dented or rusted LP gas cylinders may be hazardous and should be checked by your LP gas supplier prior to use.
- The LP gas cylinder should not be dropped or handled roughly.
- LP gas cylinders must be stored outdoors out of the reach of children and must not be stored in a building, garage or any other enclosed area. Your cylinder must never be stored where temperatures can reach over 125°F.
- Do NOT insert any tool or foreign object into the valve outlet or safety relief valve. You may damage the valve and cause a leak. Leaking propane may result in an explosion, fire, severe personal injury or death.
- Do NOT block holes in sides or back of grill.
- Never keep an LP gas cylinder in a hot car or trunk. Heat will cause the gas pressure to increase, which may open the relief valve and allow gas to escape.
- Place dust cap on cylinder valve outlet whenever the cylinder is not in use. Only install the type of dust cap on the cylinder valve outlet that is provided with the cylinder valve. Other types of caps or plugs may result in leakage of propane.
- If grill is not in use, the gas must be turned off at the supply cylinder and disconnected.
- Do NOT store a spare LP gas cylinder under or near this appliance.
- Never fill the cylinder beyond 80 percent full
- A fire causing serious injury or damage to property may occur if the above is not followed exactly.
- Never attempt to attach this grill to the self-contained LP gas system of a camper trailer, motor home or house.
- Never use charcoal, lighter fluid, lava rocks, gasoline, kerosene or alcohol with this product.
- Your grill has been checked at all factory connections for leaks. Recheck all connections as described in the “Operating Instructions” section, as shipping can loosen connections.
- Check for leaks even if your unit was assembled for you by someone else.
- Do NOT operate if a gas leak is present. Gas leaks may cause a fire or explosion.
- You must follow all instructions in the “Checking for Leaks” section before operating. To prevent fire or explosion hazard when testing for a leak:
- a. Always perform a leak test before lighting the grill and each time the cylinder is connected for use.
- b. No smoking. Do NOT use or permit sources of ignition in the area while conducting a leak test.
- c. Conduct the leak test outdoors in a well-ventilated area.
- d. Do NOT use matches, lighters, or a flame to check for leaks.
- e. The use of alcohol, prescription or non-prescription drugs may impair the consumer’s ability to properly assemble or safely operate the appliance.
- f. Strong odors, colds, sinus congestion, etc. may prevent the detection of propane. Use caution and common sense when testing for leaks.
- g. Do NOT use grill until any and all leaks are corrected. If you are unable to stop a leak, disconnect the LP gas supply. Call a gas appliance serviceman or your local LP gas supplier.
- This grill is designed to operate at an inlet pressure of: 11 inches water column.
- Do NOT store or use gasoline or other flammable liquids or vapors within 25 feet (7.62 m) of this appliance.
- Do NOT use in an explosive atmosphere. Keep grill area clear and free from combustible materials, gasoline and other flammable vapors and liquids.
- Minimum clearance from sides and back of unit to combustible construction is 36 inches (91.4 cm). Do NOT use this appliance under any type of overhang or roof.
- It is essential to keep the grill’s valve compartment, burners and circulating air passages clean.
- Inspect grill before each use.
- Do NOT alter grill in any manner. Any alteration will void your warranty.
- Do NOT use the grill unless it is COMPLETELY assembled and all parts are securely fastened and tightened.
- Do NOT build this model of grill in any built-in or slide-in construction. Ignoring this warning could cause a fire or an explosion that can damage property and cause serious bodily injury or death.
- This grill should be thoroughly cleaned and inspected on a regular basis.
- Clean and inspect the hose before each use of the appliance. If there is evidence of abrasion, wear, cuts or leaks, the hose must be replaced prior to operation.
- Use only the regulator and hose assembly provided. Use only the replacement regulator and hose assembly specified by Blue Rhino Global Sourcing, Inc.
- Use only Blue Rhino Global Sourcing, Inc. factory-authorized parts. The use of any part that is not factory-authorized can be dangerous and will void your warranty.
- Do NOT operate this appliance without reading “Operating Instructions” in this manual.
- Do NOT touch metal parts of grill until they have completely cooled to avoid burns, unless you are wearing protective gear (pot holders, gloves, BBQ mittens, etc.).
- Do NOT install or use in or on boats or recreational vehicles.
- When cooking, fire extinguishing materials should be readily accessible. In the event of an oil/grease fire, do NOT attempt to extinguish with water. Use type BC dry chemical fire extinguisher or smother with dirt, sand or baking soda.
- Do NOT use grill in high winds.
- Never lean over the grill when lighting.
- Do NOT leave a lit grill unattended. Keep children and pets away from grill at all times.
- Do NOT leave grill unattended while preheating or burning off food residue on high. If grill has not been cleaned, a grease fire can occur that may damage the product.
- Do NOT place empty cooking vessels on the appliance while in operation.
- Use caution when placing anything on the grill while the appliance is in operation.
- Do NOT attempt to move grill when in use. Allow the grill to cool before moving or storing.
- LP gas cylinder must be properly disconnected and removed prior to moving this grill.
- Storage of grill indoors is permissible only if the cylinder is disconnected, removed from the grill and properly stored outdoors.
- Always open grill lid carefully and slowly as heat and steam trapped within grill can cause severe burns.
- Do NOT attempt to disconnect the gas regulator from the cylinder or any gas fitting while the grill is in use.
- Always place your grill on a hard, non-combustible, level surface. An asphalt or blacktop surface may not be acceptable for this purpose.
- Move gas hoses as far away as possible from hot surfaces and dripping hot grease.
- Keep all electrical cords away from a hot grill.
- After a period of storage and/or nonuse, check for leaks, burner obstructions and inspect for any abrasion, wear or cuts to the hose.
- Failure to open lid while igniting the grill’s burners, or not waiting 5 minutes to allow the gas to clear if the grill does not light, may result in an explosive flame-up.
- Never operate grill without its heat plates installed.
- Always use a meat thermometer to ensure food is cooked to a safe temperature.
- Use protective gloves when assembling this product.
- Do NOT force parts together as this can result in personal injury or damage to the product.
- Never cover entire cooking area with aluminum foil.
- Deaths, serious injury or damage to property may occur if the above is not followed exactly.
Parts List
| Parts List | ||
| 1 | Lid | 55-24-555 |
| 2 | Brand Plate* | 55-23-520 |
| 3 | Warming Rack | 55-22-090 |
| 4 | Cooking Grid | 55-22-091 |
| 5 | Handle | 55-22-087 |
| 6 | Heat Plate (2) | 55-22-094 |
| 7 | Top Hinge (2) | 55-22-092 |
| 8 | Bottom Hinge (2) | 55-22-093 |
| 9 | Left Side Shelf | 55-24-556 |
| 10 | Grease Cup | 55-22-101 |
| 11 | Grease Cup Support | 55-22-103 |
| 12 | Upper Left Cart Frame | 55-24-576 |
| 13 | Cart Frame Inserts (4) | 55-23-139 |
| 14 | Grill Body Assembly* | 55-24-557 |
| 15 | Burner (2)* | 55-24-558 |
| 16 | Igniter* | 55-14-988 |
| 17 | Control Knob (2) | 55-24-577 |
| 18 | Regulator/Hose Assembly* | 55-22-100 |
| 19 | Upper Right Cart Frame | 55-24-559 |
| 20 | Right Side Shelf | 55-24-560 |
| 21 | Cart Frame Support Wire A | 55-24-561 |
| 22 | LP Gas Tank Heat Shield | 55-23-133 |
| 23 | Rear Cart Frame Support (2) | 55-24-578 |
| 24 | Lighting Hook | 55-07-331 |
| 25 | LP Gas Tank Retainer Wire | 55-24-562 |
| 26 | Lower Left Cart Frame | 55-24-563 |
| 27 | Lower Right Rear Cart Frame | 55-24-564 |
| 28 | Lower Right Front Cart Frame | 55-24-565 |
| 29 | Cart Frame Support Wire B | 55-24-566 |
| 30 | Upper Front Panel | 55-24-568 |
| 31 | Lower Front Panel | 55-24-569 |
| 32 | Wheel (2) | 55-22-113 |
| 33 | Axle | 55-24-570 |
Expanded View

Hardware
- A Screw ST4.8×10 Nickel Plated Phillips Truss Head 8 pcs
- B Screw M5x14 Nickel Plated Phillips Truss Head 30 pcs
- C Screw M6x15 Nickel Plated 2 pcs
- D Bolt M5x16 Nickel Plated Hex Head 8 pcs
- E Wing Bolt M5x15 Nickel Plated 1 pc
- F Nut M5 Nickel Plated 8 pcs
- G Nut M10 Nickel Plated 2 pcs
- H Wing Nut M6 Nickel Plated 3 pcs
- I Washer ø5.4 Nickel Plated 12 pcs
- J Washer ø6.4 Nickel Plated 2 pcs
- K Washer ø6.4 Heat Resistant 2 pcs
- L Lock Washer ø5.4 Nickel Plated 12 pcs
- M Lock Washer ø6.4 Nickel Plated 2 pcs
- N Pin ø6×30 Nickel Plated 2 pcs
- O Cotter Pin ø1.4×30 Nickel Plated 2 pcs
- P Spacer 2 pcs
Tools Required for Assembly (Included)

Assembly Instructions
DO NOT RETURN TO PLACE OF PURCHASE.
For assistance, call 1.800.762.1142 toll-free. Please have your owner’s manual and model number available for reference.
Note: The model number is printed on a label which can be found on the inside door, back or side of the cart assembly.
Assembly Tips:
- Select an area where you will assemble this product. To protect components, choose a smooth surface that’s free of cracks or openings.
- Spread out all parts.
- Tighten all hardware connections by hand first. Then, before completing each step, go back and fully tighten all hardware. Be careful not to over-tighten. That could damage surfaces or strip threads.
- For best results, complete each step in the order presented.
To complete assembly you will need:
- (1) Leak detection solution (instructions on how to make the solution are included in the “Operating Instructions” section of this manual).
- (1) Precision-filled LP gas grill tank with Acme Type 1 external threaded valve connection (standard grill size) (not included). Typical assembly is approximately one hour.
- Attach Cart Frame Support Wire A

- Attach Lower Right Rear Cart Frame, Axle and Wheels

- Attach Upper Cart Frame Supports and Cart Frame Inserts

- Attach Front Panels and Rear Cart Frame Supports

- Attach LP Gas Tank Retainer Wire

- Attach Cart Frame Support Wire B

- Attach Grill Body Assembly

- Attach LP Gas Tank Heat Shield and Lighting Hook

- Attach Bottom Hinges

- Attach Control Knobs

- Attach Lid Handle and Top Hinges

- Attach Lid

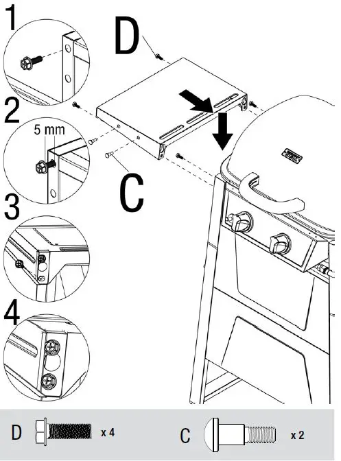
- Attach Left Side Shelf
Note: Leave 5 mm of bolt threads exposed.
- Attach Right Side Shelf
Note: Leave 5 mm of bolt threads exposed.
- Insert Warming Rack
Insert Grease Cup Support and Grease Cup
- Insert Heat Plates and Cooking Grid

Installing LP Gas Tank
To operate, you will need one precision-filled standard grill LP gas tank with external valve threads.
CAUTION: LP gas tank must be properly disconnected and removed prior to moving this grill

Inserting LP Gas Tank
Place precision-filled LP gas tank upright into the notches in the right cart frame so the tank valve is facing the gas line connection

Securing LP Gas Tank
Secure tank by sliding the tank retainer wire over shoulder of LP gas tank.

Connecting LP Gas Tank
- Before connecting, be sure there is no debris caught in the head of the LP gas tank, head of the regulator valve or in the head of the burner or burner ports.
- Connect regulator/hose assembly to tank by turning knob clockwise until it stops.

Disconnecting LP Gas Tank
- Before disconnecting, make sure the LP gas tank valve is “CLOSED.”
- Disconnect regulator/hose assembly from LP gas tank by turning knob counterclockwise until it is loose.
CAUTION: LP gas tank must be properly disconnected and removed prior to moving this grill. - Place the protective cap cover on the LP tank and store the tank outdoors in a well ventilated area out of direct sunlight.

Getting More Propane
Need a tank of gas? One option is to try propane exchange. It’s easy, fast, safe, and available at tens of thousands of conveniently located retail outlets nationwide, which are typically open nights and weekends. You can purchase a fresh, precision-filled tank or exchange your empty for a fresh, precision-filled tank. Another option is to have your tank refilled at a refill station. Be sure to check the hours of operation for the refill station.
Operating Instructions
Checking for Leaks
Burner Connections
- Make sure the regulator hose and valve connections are securely fastened to the burner and the tank.
- Visually check the connection between the burner/venturi tube and orifice.
- Make sure the burner/venturi tube fits over the orifice.
WARNING: Failure to inspect this connection or follow these instructions could cause a fire or an explosion which can cause death, serious bodily injury or damage to property. - Please refer to diagram for proper installation (Figures 1 and 3).

- If the burner/venturi tube does not rest flush to the orifice, as shown, please contact 1.800.762.1142 for assistance.
Tank/Gas Line Connection
- Make 2-3 oz. of leak detection solution by mixing one part liquid dishwashing soap with three parts water.
- Make sure control knobs are in the “ OFF” position

- Connect LP gas tank per “Installing LP Gas Tank” section.
- Turn LP gas tank valve to “OPEN.”
- Spoon several drops of solution, or use a squirt bottle, at all “X” locations (Figures 1 and 3).
- If any bubbles appear, turn LP gas tank valve to “CLOSED,” reconnect and re-test.
- If you continue to see bubbles after several attempts, turn LP gas tank valve to “CLOSED” and disconnect LP gas tank, per “Disconnecting LP Gas Tank” section. Contact 1.800.762.1142 for assistance.
- If no bubbles appear after one minute, turn LP gas tank valve to “CLOSED,” wipe away solution and proceed.

Operating Main Burners
First Use

- Make sure all labels, packaging and protective films have been removed from the grill.
- Remove manufacturing oils before cooking on this grill for the first time by operating the grill for at least 15 minutes on (HIGH) with the lid closed. This will “heat clean” the internal parts and dissipate odors
Lighting
- CAUTION: Keep outdoor gas cooking appliance area clear and free from combustible materials, gasoline and other flammable vapors and liquids.
- CAUTION: Do NOT obstruct the flow of combustion and ventilation air.
- CAUTION: Check and clean burner/venturi tubes for insects and insect nests. A clogged tube can lead to a fire.
- CAUTION: Attempting to light the burner with the lid closed may cause an explosion.
- Open lid.
- Check for obstructions of airflow to the burners. Spiders, insects and webs can clog the burner/venturi tube. A clogged burner tube can lead to a fire.
- All control knobs must be in the “ OFF” position (Figure 2).
- Connect LP gas tank per “Installing LP Gas Tank” section.
- Turn LP gas tank valve to “OPEN.”
- Push and turn left control knob to (HIGH).
- Press the (igniter) button quickly 3 to 4 times to light burner.
- If ignition does not occur in 5 seconds, turn burner control knob “ OFF,” wait 5 minutes, and repeat lighting procedure.
- If igniter does not light burner, use a lit match secured with the lighting rod (included with grill) to light burners. Access the burners through the cooking grid and heat plates. Position lit match near side of burner (Figure 4).
Important: Always use the lighting rod (included) when lighting burners with a match. - After lighting, observe the burner flame. Make sure all burner ports are lit and flame height matches illustration (Figure 5).
Note: For right burner, turn control knob to (HIGH).
CAUTION: If burner flame goes out during operation, immediately turn the control knobs to the “ OFF” position, LP gas tank valve “CLOSED” and open lid to let the gas clear for 5 minutes before re-lighting.
Turning Off
- Turn LP gas tank valve to “CLOSED.”
- Turn all control knobs clockwise to the “ OFF” position.
Note: A “poof” sound is normal as the last of the LP gas is burned. - Disconnect LP gas tank per “Disconnecting LP Gas Tank” section
Controlling Flare-ups
CAUTION: Putting out grease fires by only closing the lid is not possible.
- If a grease fire develops, turn control knobs to the “ OFF” position and LP gas tank valve “CLOSED.” Do NOT use water on a grease fire. This can cause the grease to splatter and could result in serious burns, bodily harm or other damage.
- Do NOT leave grill unattended while preheating or burning off food residue on (HIGH). If grill has not been cleaned, a grease fire can occur.
WARNING: When cooking, fire extinguishing materials should be readily accessible. In the event of an oil/grease fire, use type BC dry chemical fire extinguisher or smother with dirt, sand or baking soda. Do NOT attempt to extinguish with water.
Flare-ups are a part of cooking meats on a grill and add to the unique flavor of grilling. Excessive flare-ups can over-cook your food and be dangerous. Important: Excessive flare-ups result from the build-up of grease in the bottom of your grill. If a grease fire occurs, close the lid AND turn the control knob(s) to “ OFF” until the grease burns out. Be careful when opening the lid as sudden flare-ups may occur. If excessive flare-ups occur, do NOT pour water onto the flames.
- Trim excess fat from meats prior to cooking.
- Cook high fat content meats on (LOW) setting or indirectly.
- Ensure that your grill is on a hard, level, non-combustible surface and the grease is allowed to drain into grease receptacle
Cleaning and Care
CAUTION:
- All cleaning and maintenance should be done when grill is cool and with the fuel supply disconnected.
- Do NOT clean any grill part in a self-cleaning oven. The extreme heat will damage the finish.
- Do NOT enlarge valve orifices or burner ports when cleaning the valves or burners.
Notices
- This grill should be thoroughly cleaned and inspected on a regular basis.
- Abrasive cleaners will damage this product.
- Never use oven cleaner to clean any part of grill.
Before Each Use:
- Keep the grill area clean and free from any combustible materials, gasoline, and other
flammable vapors and liquids. - Do NOT obstruct the flow of the combustion of LP gas and the ventilation of air.
- Keep the ventilation opening(s) of the LP gas tank area free and clear from debris.
- Visually check the burner flames to make sure your grill is working properly
- See sections below for proper cleaning instructions.
- Check for obstructions of airflow to the burners. Spiders, insects and webs can clog the burner/venturi tube. A clogged burner tube can lead to a fire.
Cleaning Surfaces
- Wipe surfaces clean with mild dishwashing detergent or baking soda mixed with water.
- For stubborn surfaces, use a citrus-based degreaser and a nylon scrubbing brush.
- Rinse clean with water.
- Allow to air dry.
Cleaning Main Burners
- Turn LP gas tank valve to “CLOSED.”
- Turn all control knobs clockwise to the “ OFF” position.
Note: A “poof” sound is normal as the last of the gas is burned. - Disconnect LP gas tank per “Disconnecting LP Gas Tank” section.
- Remove cooking grids and heat plates.
- Remove burners by removing the fasteners, which secure the burners to the grill bottom.
- Lift burners up and away from gas valve orifice.
- Disconnect wire from spark electrode.
- Clean venturi of each burner with small bottle brush or compressed air.
- Remove all food residue and dirt from burner surface.
- Clean any clogged ports with a stiff wire (such as an opened paper clip).
- Inspect burners for any damage (cracks or holes). If damage is found, replace with new burner(s) from manufacturer.
- Re-install burner(s). Checking to insure that gas valve orifice is correctly positioned inside each burner/venturi tube. Also, check position of spark electrode.
- Replace heat plate(s) and cooking grid(s).
- Connect LP gas tank per “Installing LP Gas Tank” section.
- Perform leak test per “Checking for Leaks” section.
Burner Flame Conditions
Use this chart to see if your burners need to be cleaned.

Normal: Soft blue flames with yellow tips between 1 in. – 2 in. height.
Needs cleaning: Noisy with hard blue flames.

Has to be replaced: Wavy with yellow flames.

Before Storing
- Turn LP gas tank valve to “CLOSED.”
- Turn all control knobs clockwise to the “ OFF” position.
Note: A “poof” sound is normal as the last of the gas is burned. - Disconnect LP gas tank per “Disconnecting LP Gas Tank” section.
- Clean all surfaces.
- Lightly coat the burner(s) and cooking grid(s) with cooking oil to prevent excess rusting.
- If storing the grill indoors, disconnect the LP tank per “Disconnecting LP Gas Tank” section.
- Place the protective cap cover on the LP tank and store the tank outdoors in a well-ventilated area out of direct sunlight.
- If storing the grill indoors, cover the grill and store in a cool dry place.
- If storing the grill outdoors, cover the grill with a grill cover for protection from the weather.
Product Registration
For faster warranty service, register your product immediately at BlueRhino.com/warranty or by calling 1.800.762.1142.
Replacement Parts
Replacement parts can be found at parts.BlueRhino.com or by calling 1.800.762.1142.
Limited Warranty
Blue Rhino Global Sourcing, Inc. (“Blue Rhino”) warrants to the original retail purchaser of this product, and to no other person, that if this product is assembled, maintained, and operated in accordance with the printed instructions accompanying it, then for a period of five (5) years for the burners and one (1) year for all remaining parts from the date of purchase, all parts in such product shall be free from defects in material and workmanship. Blue Rhino may require reasonable proof of your date of purchase. Therefore, you should retain your sales slip or invoice. This Limited Warranty shall be limited to the repair or replacement of parts, which prove defective under normal use and service and which Blue Rhino shall determine in its reasonable discretion upon examination to be defective.
Before returning any parts, you should contact Blue Rhino’s Customer Care Department using the contact information listed below. If Blue Rhino confirms, after examination, a defect covered by this Limited Warranty in any returned part, and if Blue Rhino approves the claim, Blue Rhino will replace such defective part without charge. If you return defective parts, transportation charges must be prepaid by you. Blue Rhino will return replacement parts to the original retail purchaser, freight or postage prepaid. This Limited Warranty does not cover any failures or operating difficulties due to accident, abuse, misuse, alteration, misapplication, improper installation or improper maintenance or service by you or any third party, or failure to perform normal and routine maintenance on the product as set out in this owner’s manual. In addition, the Limited Warranty does not cover damage to the finish, such as scratches, dents, discoloration, rust or other weather damage, after purchase.
This Limited Warranty is in lieu of all other express warranties. Blue Rhino disclaims all warranties for products that are purchased from sellers other than authorized retailers or distributors, including the warranty of merchantability or the warranty of fitness for a particular purpose. Blue Rhino ALSO DISCLAIMS ANY AND ALL IMPLIED WARRANTIES, INCLUDING WITHOUT LIMITATION THE IMPLIED WARRANTIES OF MERCHANTABILITY AND FITNESS FOR A PARTICULAR PURPOSE. Blue Rhino SHALL HAVE NO LIABILITY TO PURCHASER OR ANY THIRD PARTY FOR ANY SPECIAL, INDIRECT, PUNITIVE, INCIDENTAL, OR CONSEQUENTIAL DAMAGES. Blue Rhino further disclaims any implied or express warranty of, and assumes no responsibility for, defects in workmanship caused by third parties.
This Limited Warranty gives the purchaser specific legal rights; a purchaser may have other rights depending upon where he or she lives. Some jurisdictions do not allow the exclusion or limitation of special, incidental or consequential damages, or limitations on how long a warranty lasts, so the above exclusion and limitations may not apply to everyone. Blue Rhino does not authorize any person or company to assume for it any other obligation or liability in connection with the sale, installation, use, removal, return, or replacement of its equipment, and no such representations are binding on Blue Rhino.
Blue Rhino Global Sourcing, Inc. Winston-Salem, North Carolina 27105 USA 1.800.762.1142 Outdoor LP Gas Barbecue Grill Model No. GBC1503W-C
Troubleshooting
| Problem Possible Cause Prevention/Cure | ||
|
Burner will not light using igniter | LP gas tank valve is closed | Make sure regulator is securely attached to the LP gas tank per “Installing LP Gas Tank,” then turn LP gas tank valve to “OPEN” |
| LP gas tank is low or empty | Exchange, refill or replace LP gas tank | |
| LP gas | 1. Turn LP gas tank valve to “CLOSED” 2. Wait 5 minutes for gas to clear 3. Follow “Checking for Leaks” section | |
| Wires or electrode covered with cooking residue | Clean wire and/or electrode with rubbing alcohol | |
| Electrode and burners are wet | Wipe dry with cloth | |
| Electrode cracked/broken – sparks at crack | Replacement part(s) may be needed – contact Customer Care at 800.762.1142 | |
| Wire loose or disconnected | Reconnect wire or replacement part(s) may be needed – contact Customer Care at 800.762.1142 | |
| Wire is shorting (sparking) between igniter and electrode | Replacement part(s) may be needed – contact Customer Care at 800.762.1142 | |
| Bad igniter | Replacement part(s) may be needed – contact Customer Care at 800.762.1142 | |
|
Burner will not light with match | No gas flow | Check if LP gas tank is empty A. If empty, exchange, refill or replace LP gas tank B. If LP gas tank is not empty, refer to “Sudden drop in gas flow or reduced flame height” (see below) |
| LP gas tank is low or empty | Exchange, refill or replace LP gas tank | |
| LP gas | 1. Turn LP gas tank valve to “CLOSED” 2. Wait 5 minutes for gas to clear 3. Follow “Checking for Leaks” section | |
| Coupling nut and regulator not fully connected | Turn the coupling nut about one-half to three-quarters additional turn until solid stop. Tighten by hand only – do NOT use tools. | |
| Obstruction of gas flow | 1. Clear burner/venturi tube 2. Check for bent or kinked hose | |
| Disengagement of burner to valve | Reengage burner and valve | |
| Spider webs or insect nest in venturi | Clean burner/venturi tube | |
| Burner ports clogged or blocked | Clean burner ports | |
|
Sudden drop in gas flow or reduced flame height | Out of gas | Exchange, refill or replace LP gas tank |
|
Overfilling prevention device may have been activated | 1. Turn control knobs to “ OFF” 2. Wait 30 seconds and light grill 3. If flames are still too low, reset the overfilling prevention device: a. Turn control knob(s) “ OFF” b. Turn LP gas tank valve to “CLOSED” c. Disconnect regulator d. Turn control knobs to (HIGH) e. Wait 1 minute f. Turn control knobs to “ OFF” g. Reconnect regulator and leak check connections, being careful not to fully open valve h. Light grill per “Lighting” section | |
| Irregular flame pattern, flame does not run the full length of burner | Burner ports are clogged or blocked | Clean burner ports |
|
Flame is yellow or orange | New burner may have residual manufacturing oils | Burn grill for 15 minutes on (HIGH) with the lid closed |
| Spider webs or insect nest in venturi | Clean venturi | |
| Food residue, grease, etc. on burners | Clean burner | |
| Poor alignment of valve to burner/venturi tube | Ensure burner/venturi tube is properly engaged with valve | |
| Flame goes out | High or gusting winds | Do not use grill in high winds |
| Low on LP Gas | Exchange, refill or replace LP gas tank | |
| Overfilling prevention device may have been activated | Refer to “Sudden drop in gas flow or reduced flame height” (see above) | |
| Flare-up | Grease buildup | Remove and clean all grill parts per “Cleaning and Care” section |
| Excess fat in meat | Trim fat from meat before grilling | |
| Excessive cooking temperature | Adjust to lower cooking temperature | |
| Persistent grease fire | Grease trapped by food buildup around burner system | 1. Turn control knobs to “ OFF” 2. Turn LP gas tank valve to “CLOSED” 3. Leave lid in closed position and let fire burn out 4. After grill cools, remove and clean all parts per “Cleaning and Care” section |
| Flashback (fire in burner tube(s)) | Burner and/or burner/venturi tube are blocked | Clean burners and/or burner/venturi tube |
| Inside of lid is peeling (like paint peeling) | Baked on grease buildup has turned to carbon and is flaking off. | Clean all grill parts per “Cleaning and Care” section. |
| For more assistance, please visit us at BlueRhino.com or call 1.800.762.1142. | ||













Insert Grease Cup Support and Grease Cup






















