USE AND CARE GUIDE
11” & 15” COLOR SELECTABLE FLUSHMOUNT
Model # 564101120 / 564111120
Part # FMNL-11IN-1000LM-8-3CP-SV-TD
FMNL-15IN-1600LM-8-3CP-SV-TD
564101120 11 Inch and 15 Inch Color Selectable Flush Mount
NOTE: Keep your receipt and these instructions for proof of purchase.
WARNING: Shut off the power at the circuit breaker or fuse panel before removing the old fixture, ballast, or fluorescent tubes.
If you are unfamiliar with electrical installations, we recommend you contact a qualified electrician to do the installation.
PACKAGE CONTENTS

| Part | Description | Quantity |
| A | Fixture | 1 |
| B | Mounting Bracket | 1 |
| C | Mounting Screw (for Bracket) | 2 |
| D | Wire Connector | 3 |
INSTALLATION
Select a suitable location that can support the weight of the fixture. Determine the method of mounting before drilling.
WARNING: RISK OF ELECTRIC SHOCK. Ensure the electricity to the wires you are working on is shut off. Either remove the fuse or turn off the circuit breaker before removing the existing light fixture or installing the new one.
With power disconnected to your electrical box, remove the existing fixture. Make a sketch of how the current fixture is wired (by wire color) or mark the wires with masking tape and a pencil so you will know how to properly reconnect the wires to the new LED light fixture.
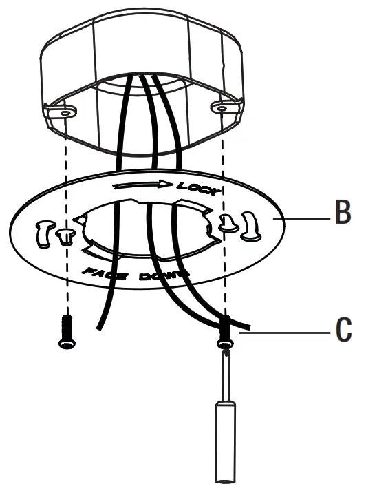
- Pass the hot and neutral (black and white) wires from the electrical outlet box through the middle hole of the mounting bracket (B).
Align the mounting bracket (B) using the mounting screws (C) and tighten securely to the electrical box.
- Connect the hot and neutral (black and white) wires from the J-box to the same color wires from the fixture body (A).
Connect the grounding wire from the J-box to the green wire from fixture base (A). Cover the wire connections using the wire connectors (D). Make sure to fasten them well.
- Cover the wire connectors (D) with electrical tape for a more secure connection.

- Position the wires back inside the electrical box.
- Align the side slots on the fixture body (A) with the mounting bracket (B) and fix the fixture body (A) securely by carefully rotating in clockwise the side slots inside the mounting bracket (B).
- Restore power at the electrical panel. Turn on the light switch to activate the fixture.
ADJUSTING THE COLOR TEMPERATURE OF THE LIGHT
This LED light fixture allows you to customize the color temperature of the light using three settings: soft white, bright white, or daylight.
- Choose your favorite correlated color temperature (CCT) from three options: 3000k Soft White, 4000k Bright White, or 5000k Daylight.
- Move the toggle switch on the fxture body (A) to make your selection before inserting into bracket or ceiling.
NOTE: The factory setting for the correlated color temperature (CCT) is 3000K.

WARNING: Carefully read and understand the information given in this manual before beginning the assembly and installation. Failure to do so could lead to electric shock, fire, or other injuries which could be hazardous or even fatal.
- Ensure the electricity to the wires you are working on is shut off. Either remove the fuse or turn off the circuit breaker.
- SUITABLE FOR OPERATION IN AMBIENT NOT EXCEEDING 45°C. SUITABLE FOR DAMP LOCATIONS. MINIMUM 90°C SUPPLY CONDUCTORS. CAUTION-RISK OF SHOCK. DISCONNECT POWER BEFORE SERVICING.
NOTICE: This device complies with Part 15 of the FCC Rules. Operation is subject to the following two conditions: (1) this device may not cause harmful interference, and (2) this device must accept any interference received, including interference that may cause undesired operation. These limits are designed to provide reasonable protection against harmful interference in a residential installation. This equipment generates, uses and can radiate radio frequency energy and, if not installed and used in accordance with the instructions, may cause harmful interference to radio communications. However, there is no guarantee that interference will not occur in a particular installation. If this equipment does cause harmful interference to radio or television reception, which can be determined by turning the equipment off and on, the user is encouraged to try to correct the interference by one or more of the following measures:
Reorient or relocate the receiving antenna, increase the separation between the equipment and the receiver, connect the equipment into an outlet on a circuit different from that to which the receiver is connected, and consult the dealer or an experienced radio/TV.
- Changes or modifications not expressly approved by the party responsible for compliance could void the user’s authority to operate the equipment.
See website for Warranty, Troubleshooting or Care and Cleaning details at www.ETiSSL.com.
Questions, problems, missing parts?
Call ETiSSL Customer Service 8 a.m. – 5 p.m., CST, Monday – Friday
1-855-ETI-SSLI (1-855-384-7754)
www.ETiSSL.com




















