STAIRVILLE 294835 Bar RGB DMX WH LED Floodlight
User Manual: LED Bar 240/8 RGB LED Floodlight
General Information
The LED Bar 240/8 RGB LED Floodlight is a professional electronic lighting effect device that utilizes LED technology.
This device is not suitable for household use and is intended for professional use only. The device is designed to be used as described in this user manual. Improper use or use under different operating conditions may result in personal injury or property damage, and the manufacturer is not liable for any damages resulting from improper use.
Further Information
For more information and details on the product, please visit our website at www.thomann.de. You can download a PDF version of this manual, use the search
function in the electronic version to find topics of interest and access our online guides for detailed technical information. For a personal consultation, please contact our technical hotline or customer service if you encounter any problems with the device.
| Download | This manual is also available as PDF file for you to download. |
| Keyword search | Use the search function in the electronic version to find the topics of interest for you quickly. |
| Online guides | Our online guides provide detailed information on technical basics and terms. |
| Personal consultation | For a personal consultation please contact our technical hotline. |
| Service | If you have any problems with the device customer service will gladly assist you. |
Notational Conventions
This manual uses specific notational conventions to mark letterings and values displayed on the device. Connectors and controls are marked by square brackets and italics, while texts and values displayed on the device are marked by quotation marks and italics.
Symbols and Signal Words
This section provides an overview of the symbols and signal words used in this manual. The combination of symbol and signal words indicates the level of danger associated with a particular situation.
- DANGER! – This combination indicates an immediately dangerous situation that will result in death or serious injury if it is not avoided.
- WARNING! – This combination indicates a possible dangerous situation that can result in death or serious injury if it is not avoided.
- NOTICE! – This combination indicates a possible dangerous situation that can result in material and environmental damage if it is not avoided.
Safety Instructions
This device is intended for use only by individuals with sufficient physical, sensorial, and intellectual abilities and knowledge and experience. Other individuals may use the device only if they are supervised or instructed by someone responsible for their safety. To extend the operating life of the device, avoid frequent switching on and off and take regular breaks. The device is not suitable for continuous operation.
Danger for Children
Ensure that plastic bags, packaging, etc. are disposed of properly and kept out of reach of babies and young children to avoid choking hazards. Make sure children do not detach any small parts (e.g. knobs) from the unit as they could swallow them and choke. Never leave children unattended with electrical devices.
DANGER!
Danger for children
Ensure that plastic bags, packaging, etc. are disposed of properly and are not within reach of babies and young children. Choking hazard! Ensure that children do not detach any small parts (e.g. knobs or the like) from the unit. They could swallow the pieces and choke! Never let children unattended use electrical devices.
DANGER!
Electric shock caused by high voltages inside
Within the device there are areas where high voltages may be present. Never remove any covers. There are no user-serviceable parts inside. Do not use the device if covers, protectors or optical components are missing or damaged.
DANGER!
Electric shock caused by short-circuit
Always use proper ready-made insulated mains cabling (power cord) with a protective contact plug. Do not modify the mains cable or the plug. Failure to do so could result in electric shock/death or fire. If in doubt, seek advice from a registered electrician.
WARNING!
Eye damage caused by high-light intensity
Never look directly into the light source.
WARNING!
Risk of epileptic shock
Strobe lighting can trigger seizures in photosensitive epilepsy. Sensitive persons should avoid looking at strobe lights.
NOTICE!
Risk of fire
Do not block areas of ventilation. Do not install the device near any direct heat source. Keep the device away from naked flames.
NOTICE!
Operating conditions
This device has been designed for indoor use only. To prevent damage, never expose the device to any liquid or moisture. Avoid direct sunlight, heavy dirt, and strong vibrations. Only operate the device within the ambient conditions specified in the chapter
‘Technical specifications’ of this user manual. Avoid heavy temperature fluctuations and do not switch the device on immediately after it was exposed to temperature fluctuations (for example after transport at low outside temperatures). Dust and dirt inside can damage the unit. When operated in harmful ambient conditions (dust, smoke, nicotine, fog, etc.), the unit should be maintained by qualified service personnel at regular intervals to prevent overheating and other malfunctions.
NOTICE!
Power supply
Before connecting the device, ensure that the input voltage (AC outlet) matches the voltage rating of the device and that the AC outlet is protected by a residual current circuit breaker. Failure to do so could result in damage to the device and possibly injure the user. Unplug the device before electrical storms occur and when it is unused for long periods of time to reduce the risk of electric shock or fire.
NOTICE!
Fire hazard due to exceedance of the maximum current
The device can power other devices of identical construction. The current consumption of all other devices connected in series must not exceed the values indicated in the technical specifications. Otherwise, you risk injuries and irreparable damage to the device. Only connect so many identical devices that the maximum current consumption is not exceeded. Ensure the sufficient dimensioning (wire cross-section) of the power cables used for all devices connected in series.
NOTICE!
Possible damage due to installation of a wrong fuse
The use of different types of fuses can cause serious damage to the unit. Fire hazard! Only fuses of the same type may be used.
NOTICE!
Risk of fire due to the incorrect polarity
Incorrectly inserted batteries may destroy the device or the batteries. Ensure that proper polarity is observed when inserting batteries.
NOTICE!
Possible damage by leaking batteries
Leaking batteries can cause permanent damage to the device. Take batteries out of the device if it is not going to be used for a longer period.
Disclaimer
The information provided in this manual is subject to change without notice. The manufacturer is not liable for any damages resulting from the use of this device or any information contained in this manual.
Features
The LED floodlight is particularly suitable for professional lighting tasks, for example at events, on rock stages, in theatres and in musicals. It’s characterized by low power consumption and long service life.
Special features of the device:
- 240 LEDs (96 × red, 72 × green, 72 × blue) in eight segments
- Control via DMX (4 different modes), via buttons and display on the device and IR remote control (item no. 354223, optionally available)
- 21 preprogrammed automatic shows
- Sound control
- Master/slave mode
- Robust metal housing in black (item no. 294835) or white (item no. 512674)
For technological reasons, the light output of LEDs decreases over their lifetime. This effect increases with higher operating temperatures. You can extend the service life of the illuminants by providing adequate ventilation and operating the LEDs with the lowest possible brightness.
Installation
Unpack and check carefully there is no transportation damage before using the unit. Keep the equipment packaging. To fully protect the product against vibration, dust and moisture during transportation or storage use the original packaging or your own packaging material suitable for transport or storage, respectively.
WARNING!
Risk of injury caused by falling objects
Make sure that the installation complies with the standards and rules that apply in your country. Always secure the device with a secondary safety attachment, such as a safety cable or a safety chain.
NOTICE!
Risk of overheating
The distance between light output and the illuminated surface must be more than 1.5 m (19.7in).
Provide sufficient ventilation.
The ambient temperature must always be below 40 °C (104 °F).
NOTICE!
Use of stands
When mounting the device onto a stand, ensure that the stand is in a safe and stable position and that the weight of the device does not exceed the maximum permissible load capacity of the stand.
NOTICE!
Possible data transmission errors
For error-free operation make use of dedicated DMX cables and do not use ordinary microphone cables.
Never connect the DMX input or output to audio devices such as mixers or amplifiers.
Mounting options
You can install the device in a hanging or standing position. When in use, the device must always be attached to a solid surface or an approved truss. Use the openings of the bracket provided for mounting.
Always work from a stable platform whenever installing, moving or servicing the device. In doing so, the area underneath the device must be cordoned off.
The safety cable must be attached to both brackets.
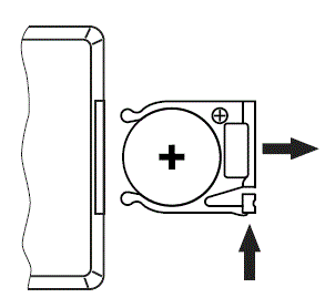
Inserting the battery into the remote control
Press the lock of the battery holder to the centre of the housing and pull out the battery holder like a drawer. Insert the battery. The battery is correct if the positive pole points to the housing base of the remote control. Slide the battery holder back into the remote until it clicks into place.
When shipping, the battery is already installed in the remote and protected against discharge by transparent plastic foil. Remove the plastic foil prior to first use.
NOTICE!
Risk of fire due to incorrect polarity
Incorrectly inserted batteries may destroy the device or the batteries.
Ensure that proper polarity is observed when inserting batteries.
NOTICE!
Possible damage by leaking batteries
Leaking batteries can cause permanent damage to the device.
Take batteries out of the device if it is not going to be used for a longer period.
Starting up
Create all connections while the device is off. Use the shortest possible high-quality cables for all connections. Take care when running the cables to prevent tripping hazards.
Connections in DMX mode
Connect the DMX input of the device to the DMX output of a DMX controller or another DMX device. Connect the output of the first DMX device to the input of the second one, and so on to form a daisy chain. Always ensure that the output of the last DMX device in the daisy chain is terminated with a resistor (110 Ω, ¼ W).
DMX indicator
If the indicator is flashing in the DMX mode, no DMX signal is received. Maybe the DMX controller is not switched on or there is a cabling error. If the indicator lights permanently, the device receives a valid DMX signal.
Connections in master/slave mode
When you configure a group of devices in master/slave mode, the first unit will control the other units for an automatic, sound-activated, synchronized show. This function is ideal when you want to start a show immediately. Connect the DMX output of the master device to the DMX input of the first slave device. Then connect the DMX output of the first slave device to the DMX input of the second slave device and so on.
Connections and operating elements

| 1 | Locking screws for the mounting bracket |
| 2 | Mounting bracket |
| 3 | [POWER In] | IEC chassis plug for power supply |
| 4 | [FUSE 1A/250V] | fuse holder |
| 5 | Display |
| 6 | [Mode] | activates the main menu and toggles between menu items. |
| 7 | [Setup] | selects an option of the respective operating mode. |
| 8 | [Up] | navigates upwards in a menu list. Increases the displayed value by one. |
| 9 | [Down] | navigates downwards in a menu list. Decreases the displayed value by one. |
| 10 | [DMX In] | DMX input |
| 11 | [DMX Out] | DMX output |
| 12 | [POWER Out] | IEC chassis socket for the power supply cable to the next unit |
Infrared remote control (item no. 354223, optionally avail‐able)
Since the universal remote control can be used for several device types, some buttons may not be assigned and therefore have no function.
| 1 | [ON/OFF] | turns the device on and off. |
| 2 | [AUTO] | activates the ‘Automatic‘ mode. |
| 3 | [PRG] | activates the operating mode ‘Preprogrammed automatic show’. Select the desired programme with [+] and [–]. |
| 4 | [SOUND] | activates the ‘Sound-control‘ mode. Set the sensitivity of the built-in microphone with [+] and [–]. |
| 5 | [SPEED] | activates the setting mode for the programme speed. Adjust the speed using [+] and [–]. |
| 6 | [STROBE] | activates the setting mode for the Strobe speed. Adjust the speed using [+] and [–]. |
| 7 | [+] | increases the set value. |
| 8 | [–] | decreases the set value. |
| 9 | [Dimming] | activates the dimming function for fixed colors. Set the value for each fixed colour using [+] and [–]. |
| 10 | [0 … 9] | numeric buttons for direct selection of a fixed colour. |
| 11 | [R], [G], [B], [A], [W] | buttons to select the colour shade in dimmer mode. |
Operating
Starting up the device
Connect the unit to the power grid to start the operation. After a few seconds, the display shows a running reset. The unit is then ready for use.
Main menu
Press [Mode] to activate the main menu and to select an operating mode. Use [Up] and [Down] to change the respectively indicated value. When the display shows the desired value, press [Mode].
If you don’t press any button for about 30 seconds, the current setting is applied and the display turns dark. The set values are retained as long as the unit is connected to the power supply.
‘Preprogrammed automatic show’ mode
A preprogrammed automatic show can only be activated if the unit is working in stand-alone mode or as a master device in a master/slave combination. This setting is only relevant if the unit is not controlled via DMX.
Press [Mode] repeatedly until the display shows ‘Prxx’ . Now you can select one of the preprogrammed automatic shows. Use [Up] and [Down] to select a value between ‘Pr01’ and ‘Pr21’ .
For programs Pr20 and Pr21, you can set a static color (background color) for all segments, or a colour that lights up segmentally (hopping color). Press [Setup] repeatedly until the display shows ‘1xxx’ (background colour) or ‘2xxx’ (hopping color). With [Up] and [Down] you can toggle between the following options:
| Display | Description |
| ‘–r’ | Red |
| ‘-rg’ | Red and green |
| ‘–g’ | Green |
| ‘-gb’ | Green and blue |
| ‘–b’ | Blue |
| ‘-rb’ | Red and blue |
| ‘rgb’ | Red, green and blue |
| ‘ OFF’ | LEDs off |
To adjust the speed of the selected automatic show, press [Setup] repeatedly until the display shows ‘SPxx’ . With [Up] and [Down] you can now select a value between ‘SP01’ (slow) and ‘SP99’ (fast) or ‘SPFL’ (Flash effect).
To adjust the flash frequency, press [Setup] repeatedly until the display shows ‘FSxx’ . With [Up] and [Down] you can now select a value between ‘FS00’ (slow) and ‘FS99’ (fast).
To adjust the fade speed of the selected automatic show, press [Setup] repeatedly until the display shows ‘Fdxx’ . With [Up] and [Down] you can now select a value between ‘Fd00’ (slow) and ‘Fd99’ (fast).
Wait for about 30 seconds until the display turns dark. Then the settings have been applied. Press [Mode] to return to the parent menu without any changes.
‘Automatic’ mode
Automatic operation can only be activated if the unit is working in stand-alone mode or as a master device in a master/slave combination. This setting is only relevant if the unit is not controlled via DMX.
Press [Mode] repeatedly until the display shows ‘Auto’ . Press [Setup]. Now you can select one of the Automatic options. Use [Up] and [Down] to select a value between ‘n001’ and ‘n100’ .
To adjust the speed of the selected Automatic option, press [Setup] repeatedly until the display shows ‘SPxx’ . With [Up] and [Down] you can now select a value between ‘SP01’ (slow) and ‘SP99’ (fast) or ‘SPFL’ (Flash effect).
To adjust the flash frequency, press [Setup] repeatedly until the display shows ‘FSxx’ . With [Up] and [Down] you can now select a value between ‘FS00’ (slow) and ‘FS99’ (fast).
To adjust the fade speed of the selected Automatic option, press [Setup] repeatedly until the display shows ‘Fdxx’ . With [Up] and [Down] you can now select a value between ‘Fd00’ (slow) and ‘Fd99’ (fast).
Wait for about 30 seconds until the display turns dark. Then the settings have been applied. Press [Mode] to return to the parent menu without any changes.
DMX address
This setting is only relevant if the unit is controlled via DMX.
Press [Mode] repeatedly until the display shows ‘dxxx’ .
Now you can set the number of the first DMX channel to be used by the device (DMX address). Use [Up] and [Down] to select a value between 1 and 512 (the display shows ‘d001’ … ‘d512’ ).
Make sure that this number matches the configuration of your DMX controller. The following table shows the highest possible DMX address for the different DMX modes.
| Mode | Highest possible DMX address |
| 2-channel | 511 |
| 3-channel | 510 |
| 5-channel | 508 |
| 24-channel | 489 |
Wait for about 30 seconds until the display turns dark. Then the settings have been applied. Press [Mode] to return to the parent menu without any changes.
‘DMX’ mode
This setting is only relevant if the unit is controlled via DMX.
Press [Mode] repeatedly until the display shows ‘dxxx’. Press [Setup]. With [Up] and [Down] you can now select one of the following DMX operating modes:
- ‘2-ch’ (two channels)
- ‘3-ch’ (three channels)
- ‘5-ch’ (five channels)
- ‘24ch’ (twenty-five channels)
Wait for about 30 seconds until the display turns dark. Then the settings have been applied. Press [Mode] to return to the parent menu without any changes.
‘Slave’ mode
This setting is only relevant if the unit is operated as a slave device in a master/slave configuration and is not controlled via DMX.
Press [Mode] repeatedly until the display shows ‘SLAv’ .
Wait for about 30 seconds until the display turns dark. Then the settings have been applied. Press [Mode] to return to the parent menu without any changes.
Sound control and microphone sensitivity
A sound-controlled automatic show can only be activated if the unit is working in stand-alone mode or as a master device in a master/slave combination. This setting is only relevant if the unit is not controlled via DMX.
Press [Mode] repeatedly until the display shows ‘SUxx’ . This will activate a sound-controlled automatic show.
Now you can adjust the sensitivity of the built-in microphone for the sound-control. Use [Up] and [Down] to select a value between 0 (low sensitivity) and 31 (high sensitivity), the display shows ‘SU00’ … ‘SU31’ .
Wait for about 30 seconds until the display turns dark. Then the settings have been applied. Press [Mode] to return to the parent menu without any changes.
Constant unicoloured pattern
A constant uncolored pattern can only be activated if the unit is working in stand-alone mode or as a master device in a master/slave combination. This setting is only relevant if the unit is not controlled via DMX.
Press [Mode] repeatedly until the display shows ‘Colr’ .
Press [Setup]. With [Up] and [Down] to choose from the following options:
| Display | Description |
| ‘I–r’ | Red |
| ‘2-rg’ | Red and green |
| ‘3–g’ | Green |
| ‘4-gb’ | Green and blue |
| ‘5–b’ | Blue |
| ‘6-rb’ | Red and blue |
| ‘7rgb’ | Red, green and blue |
| ‘ OFF’ | LEDs off |
To adjust the flash frequency, press [Setup] repeatedly until the display shows ‘FSxx’ . With [Up] and [Down] you can now select a value between ‘FS00’ (slow) and ‘FS99’ (fast).
Wait for about 30 seconds until the display turns dark. Then the settings have been applied. Press [Mode] to return to the parent menu without any changes.
Menu overview

Functions in 2-channel DMX mode
| Channel | Value | Function |
| 1 | 0…7 | LEDs off |
| 8…15 | Constant unicoloured pattern in red | |
| 16…23 | Constant unicoloured pattern in red and green | |
| 24…31 | Constant unicoloured pattern in green | |
| 32…39 | Constant unicoloured pattern in blue and green | |
| 40…47 | Constant unicoloured pattern in blue | |
| 48…55 | Constant unicoloured pattern in blue and red | |
| 56…63 | Constant unicoloured pattern in red, green and blue | |
| 64…231 | Preprogrammed automatic shows | |
| 232…255 | Sound-controlled shows | |
| 2 | Function depends on settings in channel 1 | |
| Channel 1 = 0…63 | ||
| No function | ||
| Channel 1 = 64…231 | ||
| Channel | Value | Function |
| 0…255 | Increasing speed | |
| Channel 1 = 232…255 | ||
| 0…255 | Sensitivity of the built-in microphone for sound control | |
| Channel | Value | Function |
| 0…255 | Increasing speed | |
| Channel 1 = 232…255 | ||
| 0…255 | Sensitivity of the built-in microphone for sound control | |
Functions in 3-channel DMX mode
| Channel | Value | Function |
| 1 | 0…255 | Intensity (0 % to 100 %) of the 96 red LEDs |
| 2 | 0…255 | Intensity (0 % to 100 %) of the 72 green LEDs |
| 3 | 0…255 | Intensity (0 % to 100 %) of the 72 blue LEDs |
Functions in 5-channel DMX mode
| Channel | Value | Function |
| 1 | 0…255 | Intensity (0 % to 100 %) of the 96 red LEDs |
| 2 | 0…255 | Intensity (0 % to 100 %) of the 72 green LEDs |
| 3 | 0…255 | Intensity (0 % to 100 %) of the 72 blue LEDs |
| 4 | 0…255 | Dimmer (0 % to 100 %) for all LEDs |
| 5 | 0…255 | Strobe effect, increasing speed |
Functions in 24-channel DMX mode
| Channel | Value | Function |
| 1 | 0…255 | Intensity (0 % to 100 %) of the red LEDs in the 1. segment |
| 2 | 0…255 | Intensity (0 % to 100 %) of the green LEDs in the 1. segment |
| 3 | 0…255 | Intensity (0 % to 100 %) of the blue LEDs in the 1. segment |
| 4 | 0…255 | Intensity (0 % to 100 %) of the red LEDs in the 2. segment |
| 5 | 0…255 | Intensity (0 % to 100 %) of the green LEDs in the 2. segment |
| Channel | Value | Function |
| 6 | 0…255 | Intensity (0 % to 100 %) of the blue LEDs in the 2. segment |
| 7 | 0…255 | Intensity (0 % to 100 %) of the red LEDs in the 3. segment |
| 8 | 0…255 | Intensity (0 % to 100 %) of the green LEDs in the 3. segment |
| 9 | 0…255 | Intensity (0 % to 100 %) of the blue LEDs in the 3. segment |
| 10 | 0…255 | Intensity (0 % to 100 %) of the red LEDs in the 4. segment |
| 11 | 0…255 | Intensity (0 % to 100 %) of the green LEDs in the 4. segment |
| 12 | 0…255 | Intensity (0 % to 100 %) of the blue LEDs in the 4. segment |
| 13 | 0…255 | Intensity (0 % to 100 %) of the red LEDs in the 5. segment |
| 14 | 0…255 | Intensity (0 % to 100 %) of the green LEDs in the 5. segment |
| 15 | 0…255 | Intensity (0 % to 100 %) of the blue LEDs in the 5. segment |
| 16 | 0…255 | Intensity (0 % to 100 %) of the red LEDs in the 6. segment |
| 17 | 0…255 | Intensity (0 % to 100 %) of the green LEDs in the 6. segment |
| 18 | 0…255 | Intensity (0 % to 100 %) of the blue LEDs in the 6. segment |
| 19 | 0…255 | Intensity (0 % to 100 %) of the red LEDs in the 7. segment |
| 20 | 0…255 | Intensity (0 % to 100 %) of the green LEDs in the 7. segment |
| 21 | 0…255 | Intensity (0 % to 100 %) of the blue LEDs in the 7. segment |
| Channel | Value | Function |
| 22 | 0…255 | Intensity (0 % to 100 %) of the red LEDs in the 8. segment |
| 23 | 0…255 | Intensity (0 % to 100 %) of the green LEDs in the 8. segment |
| 24 | 0…255 | Intensity (0 % to 100 %) of the blue LEDs in the 8. segment |
Technical specifications
| Light source | 240 × 10 mm LED (96 × red, 72 × green, 72 × blue) in eight segments | |
| Optical properties | Beam angle | 30 ° |
| Control | DMX | |
| IR remote control (optional) | ||
| Number of DMX channels | 2, 3, 5, 24 | |
| Input connections | Power supply | IEC chassis plug C14 |
| DMX control | XLR chassis socket, 3-pin | |
| Output connections | Power supply | IEC chassis plug C13 |
| DMX control | XLR chassis socket, 3-pin | |
| Power consumption | 25 W | |
| Supply voltage | 100 – 240 V 50/60 Hz | |
| Fuse | 5 mm × 20 mm, 1 A, 250 V, slow-blow | |
| The battery of the remote control | Lithium-ion button cell CR2025, 3 V | |
| Degree of protection | IP20 | |
Further information
| Suitable for outdoor use | No |
| Colour mixture | RGB |
| LED type | Uni-colored |
| Fanless | yes |
| Remote control | Optionally available (item no. 354223) |
| Wireless DMX | No |
| Housing colour | black (item no. 294835) white (item no. 512674) |
Plug and connection assignments
This chapter will help you select the right cables and plugs to connect your valuable equipment so that a perfect light experience is guaranteed.
Please take our tips, because especially in ‘Sound & Light’ caution is indicated: Even if a plug fits into a socket, the result of an incorrect connection may be a destroyed DMX controller, a short circuit or ‘just’ a not working light show!
Introduction
The unit offers a 3-pin XLR socket for DMX output and a 3-pin XLR plug for DMX input. Please refer to the drawing and table below for the pin assignment of a suitable XLR plug.
DMX connections
| Pin | Configuration |
| 1 | Ground, shielding |
| 2 | Signal inverted (DMX–, ‘cold signal’) |
| 3 | Signal (DMX+, ‘hot signal’) |
Troubleshooting
NOTICE!
Possible data transmission errors
For error-free operation make use of dedicated DMX cables and do not use ordinary microphone cables.
Never connect the DMX input or output to audio devices such as mixers or amplifiers.
| Symptom | Remedy |
| The unit does not work, no light. | Check the mains connection and the fuse. |
| No response to the DMX con‐ troller. | 1. When the display is flashing, e.g. ‘d001’ , no valid DMX signal can be received. Make sure that the DMX con‐ troller is turned on. Check the DMX ports and cables for proper connection. |
| 2. If the display does not flash and still no response, check the address settings and the DMX polarity. | |
| 3. Try using another DMX controller. | |
| 4. Check to see if the DMX cables run near or alongside to high voltage cables that may cause damage or inter‐ ference to DMX interface circuits. |
If the procedures recommended above do not succeed, please contact our Service Center. You can find the contact information at www.thomann.de.
Cleaning
Optical lenses
Clean the optical lenses, that are accessible from the outside, regularly in order to optimize the light output. The frequency of cleaning depends on the operating environment: wet, smoky or particularly dirty surroundings can cause more accumulation of dirt on the optics of the device.
- Clean with a soft cloth using our lamp and lens cleaner (item no. 280122).
- Always dry the parts carefully.
Protecting the environment
Disposal of the packaging material
For the packaging, environmentally friendly materials have been chosen that can be supplied to normal recycling.
Ensure that plastic bags, packaging, etc. are properly disposed of.
Do not just dispose of these materials with your normal household waste, but make sure that they are collected for recycling. Please follow the notes and markings on the packaging.
Disposal of batteries
Batteries must not be thrown away or incinerated; they must be disposed of in accordance with local regulations for the disposal of hazardous waste. Use the existing collection points for this.
Only dispose of lithium batteries when they are discharged. Remove replaceable lithium batteries from the device before disposal. Protect used lithium batteries against short circuits, for example by covering the poles with adhesive tape. Permanently built-in lithium batteries must be disposed of together with the device. Please inquire about an appropriate collection point.
Disposal of your old device
This product is subject to the European Waste Electrical and Electronic Equipment Directive (WEEE) in its currently valid version. Do not dispose of with your normal household waste.
Dispose of this device through an approved waste disposal firm or through your local waste facility. When discarding the device, comply with the rules and regulations that apply in your country. If in doubt, consult your local waste disposal facility.




















