Neomounts MED-M100 Medical Mount

Dimensions Overview

Tools and Measurement

PARTS

Assembling Instructions
Step 1

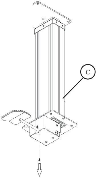
Step 2


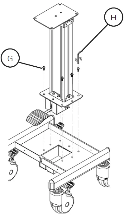
Step 3

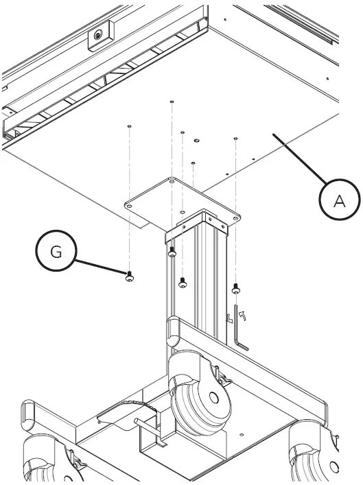
Step 4

Step 5

Step 6

Step 7


Step 8

Step 9

MAINTENANCE
All cart maintenance must be carried out at least once a month by a professional technician.
Cleaning warning
Because the cart is in the environment of electrical equipment, the usage of inflammable cleansers is strictly forbidden.
- Before cleaning the cart, please make sure the cart is unplugged from the mains and switched off.
- Please ensure the cart is entirely dry before plugging the power into the socket.
- While cleaning the cart, please use a damp cloth to wipe off the superficial cleansers until completely dry.
- The cart is not to be used in a moist environment and liquids have to be avoided from running into the cart.
- To avoid the finishing of the surface is damaged, do not use any abrasive materials for cleaning.
- Before using any cleanser on the cart, please test them on a small part to see whether it affects the surface or not.
Please note that these guidelines give no guarantee whatsoever in terms of infection control. Kindly consult your medical infection control specialist for cleaning advice.
Cleaning recommendations
- Please use non-abrasive or diluted products such as soap water and diluted alcohol to clean the plastic components.
- In case of spots of pen or maker on the cart’s surface, a soft cloth with 91% isopropyl alcohol is suggested for cleaning.
- In case of iodine spots on the cart’s surface, a soft cloth with soap water, or diluted alcohol is suggested for cleaning.
The following chemicals are strictly forbidden for cleaning the cart: Abrasive cleansers, acetone, mineral spirits, paint thinner, or any other harsh or toxic chemicals.
Inspections
- All cart inspections must be carried out at least once a month by a professional technician.
- In case of faults or damage occurring, stop operating the cart and contact your distributor for further assistance.
Casters
To allow the cart to move as intended, please inspect the casters regularly and keep the cart away from damaged and irregular surfaces.
Fasteners
lf fasteners/ screws become loose and need to be tightened, do not over-tighten them. Over-tightened fasteners/ screws might not only cause damage to the screws but also to the components.
Troubleshooting
The cart is difficult to move
Ensure the two front locking casters are not locked. Check if any debris is sticking to casters and remove it.
The cart is difficult to adjust in height
Ensure the lift brake is pressed completely and lift the work surface slightly, to prevent the work surface to rise too quickly. lf the lift mechanism still doesn’t work, please contact your distributor for further assistance. Also, contact your distributor for assistance if the lift mechanism keeps going up automatically.
CAUTION
- To ensure safety, please read this manual carefully before installation and follow the instructions. Store this manual in a secure place for future reference.
- The manufacturer shall not be legally responsible for any equipment damage or personal injury caused by incorrect installation or operation other than that covered in this manual.
- The mount is designed for easy installation and removal. The manufacturer shall not be liable for damage to equipment or personal injuries arising out of human factors or acts of nature, such as earthquakes or typhoons.
- It is recommended that the mount be installed by qualified personnel only.
- At least two persons are needed to install or remove the product to avoid the hazard of falling objects.
- Please carefully inspect the area where the mount is to be installed:
- Avoid places that are subject to high temperatures, humidity, or contact with water.
- Do not install the product near air conditioning vents or areas with excess dust and fumes.
- Only install on vertical walls and avoid slanted surfaces.
- Do not install in places subject to any shock or vibration.
- Do not install in places subject to direct exposure to bright light, as it may cause eye fatigue when viewing the display panel.
- Maintain sufficient space around the display to ensure adequate ventilation.
- To ensure a safe installation, first check the structure of the wall, ceiling, or floor and select a secure mounting location.
- The wall, ceiling, or floor should be strong enough to sustain a weight of at least four times the display and mount combined. The mounting location must be able to withstand earthquakes or other strong shocks.
- Do not modify any accessories or use broken parts. Contact your dealer with any questions.
- Tighten all screws (do not exert excessive force to avoid breaking the screw or damaging its thread).
- Drill holes and bolts will be left in the wall, ceiling, or floor once the display and bracket are removed. Stains may occur after extended use.
- Since the manufacturer has no way to control the wall, ceiling, or floor type and installation of the mount, the warranty of the product shall only cover the body of the mount. The warranty period of the product is 5 years.
- Please consult the English language manual for any dispute on conditions.
User Support
- Address: Neomounts Computer Products Europa B.V. I Wateringweg 62 I 2031 EJ Haarlem I The Netherlands I
- Contact no. +3 1(0)23-5478888
- Support: [email protected]
- Email: www.neomounts.com
- Address: Chamber of Commerce 37076185 (VAT NL805154383B0 1 I BIC RABONL2U I IBAN NL51RABO0375403299
FAQ’s
It is a computer cart, but many users use a laptop on it since the tabletop is 17.3″ deep. Some also use a laptop as a CPU as well, adding a separate keyboard on the keyboard tray and a separate monitor on the bracket/stand. If you use the tabletop for a laptop, you might have to turn the LCD bracket to the side, so you can open the laptop and use its screen. Depends on how large the laptop is. If you tell me the size of your laptop, I can tell you how well it will fit.
It will depend on where the power button is on the laptop, but I believe that it will not be accessible unless it is on the back edge of the keyboard or on the screen, which is very unlikely.
Its dimensions are LxWxH 2.25 x 1.72 x 3.6 inches.
The Neomounts MED-M100 medical mobile stand is compatible with a projector, laptop, tablet, and monitor.
5-Year Warranty with the Neomounts has over 20 years experience of in providing high-specification mounts. “You get what you pay for!
The Neomounts MED-M100 Medical Mount weight is about 94.6 pounds and it’s a heavyweight. The total weight capacity of this cart is 50 kilograms.
Yes!, It is compatible with different mice and keyboards and can be used on the adjustable keyboard and mouse holder also.
The cart is easily height adjustable from 86 to 120 centimeters.
Simply put, it refers to the four holes that are typically found on the back of screens and whose dimensions have been established by mutual agreement between screen and mount makers. For obvious reasons, the bigger screens’ holes are spaced farther apart (i.e., 75x75mm) than those on the smaller screens’ holes. (ie 600x400mm). Simply measure the distance between the four pre-drilled apertures on the back of your screen to determine what VESA you have. The hole design typically has square dimensions up to about 55″ in screen sizes, such as 75x75mm, 100x100mm, 200x200mm, etc.
It will depend on where the power button is on the laptop, but I believe that it will not be accessible unless it is on the back edge of the keyboard or on the screen, which is very unlikely.
Download this PDF Link: Neomounts MED-M100 Medical Mount Instructions Manual


















