Neomounts CPU-D050 CPU holder

Parts

Installation
STEP 1

STEP 2

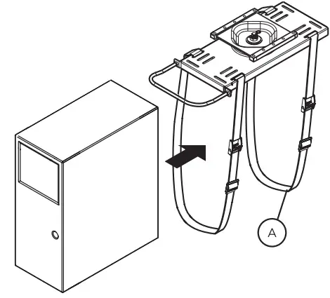
STEP 3

STEP 4

Caution
- To ensure safety, please read this manual carefully and follow the instructions before installation. Keep this manual in a safe place for future reference.
- The manufacturer is not legally responsible for any equipment damage or personal injury resulting from incorrect installation or operation not covered by this manual.
- The mount is designed for easy installation and removal. The manufacturer is not responsible for equipment damage or personal injury caused by human factors or acts of nature such as earthquakes or typhoons.
- It is recommended that only qualified personnel install the stand.
- Installing or removing the product requires at least two people to avoid the danger of falling objects.
- Please check carefully the area where the bracket is installed:
- Avoid places with high temperature, humidity, or contact with water.
- Do not install the product near air conditioning vents or areas with excessive dust and smoke.
- Mount on vertical walls only, avoid sloping surfaces.
- Do not install it where it is subject to any shock or vibration.
- Do not install it where it will be directly exposed to strong light as it may cause eye strain when viewing the display panel.
- Keep enough space around the monitor to ensure adequate ventilation.
- To ensure a safe installation, first check the structure of the wall, ceiling, or floor, and then choose a safe installation location.
- The wall, ceiling, or floor should be strong enough to hold at least four times the combined weight of the monitor and stand. The installation location must be able to withstand earthquakes or other strong shocks.
- Do not modify any accessories or use damaged parts. If you have any questions, please contact your dealer.
- Tighten all the screws (do not use too much force to damage the screws or damage their threads).
- When the monitor and stand are removed, holes and bolts are left in the wall, ceiling, or floor. Stains may appear after prolonged use.
- Since the manufacturer has no control over the type of wall, ceiling, or floor on which the mount is mounted and how it is mounted, the product warranty is limited to the body of the mount. The warranty period of my product is 5 years.
- For any dispute regarding conditions, please refer to the English brochure.
FAQ’s
Everything must be clean for increased focus and efficiency, especially the desk. This makes our central processor unit (CPU) holders ideal for desktop computers anywhere.
Principal Qualities. A CPU is kept stationary beneath a desk by a rolling caddy, freeing up space on the desktop and facilitating easy access to the front and rear ports and connectors. Many CPUs (ranging in width from 4.7 to 8.2 inches) may be modified to suit (11.9 to 20.9 cm) A solid metal design with a powder-coated finish complements any décor well.
Popular CPU socket designs include the Pin Grid Array (PGA) and the Land Grid Array (LGA). PGA sets the pins on the processor and the holes in the socket, as opposed to LGA, which has a socket with pins that you position the processor on.
The main circuit board of the computer is called the motherboard. It is a little plate that holds the processor, memory, hard disc, optical drive connectors, expansion cards for the visual and audio controls, and connections to the ports on your computer (such as USB ports).
Put the CPU in the clamshell (plastic casing). Place the clamshell in a box after wrapping it in bubble wrap. For further security, place the bubble-wrapped processor in a brown box.
The container that holds the bulk of a computer’s components is called a computer cabinet, often referred to as a “computer chassis,” “tower,” “system unit,” “base unit,” or simply “case,” and occasionally incorrectly called the “CPU” or “hard drive” (usually excluding the display, keyboard, and mouse).
The enclosure that holds most of a personal computer’s components is called a computer case, often referred to as a computer chassis.
Tray processors are bought by high-volume producers like Acer, ASUS, Dell, Hewlett-Packard, or Lenovo. They buy processors in bulk and install them in PCs (laptops, desktops, All-in-Ones). For tray processors, these providers provide direct warranty repairs as well as technical support.
The CPU Sling supports and stores the CPU vertically underneath the work surface. The CPU is held and stored in either a vertical or horizontal configuration below the worksurface by a tiny CPU Holder. Under the work surface, a compact CPU Holder that can be adjusted for height and breadth is installed.
The number of CPU sockets in the server determines the most CPUs that may be installed. Typically, servers may support 1/2/4/8/16/32 CPU sockets.
A snappier system, more fluid gameplay, and speedier completion of labor-intensive tasks like video editing and transcoding may all be outcomes of increased core counts and clock speeds.
The computer’s brain is the CPU, which contains all of the hardware needed to process input, store data, and produce results.
The CPU control unit, which is a component of the computer’s central processing unit (CPU), manages processor operations. It was included in John von Neumann’s architectural design.
Download this PDF Link: Neomounts CPU-D050 CPU holder Instructions Manual















