
This lever will fit 1 3/S” to 2″door thickness
LEVER SET INSTALLATION INSTRUCTIONS ANO TEMPLATE
Parts Diagram

Tools needed
Determining door handling
Door handling is determined by standing outside the room/place and looking at where the hinges are placed. If they are placed on the right side the door is right-handed and left-handed if the hinges are placed on the left side.
Door preparations
HOLE MARKING
Place the template and fold on the door edge, and check the distances and centers to drill. Choose and mark the distance from the edge of the door (2-3/4″ [70mm] vs 2-3/8″ [60mm]). It is recommended to install locks/handles between 35″-40″ (90cm-100cm) from the floor.
HOLES
Carefully drill the door with a drill/hole-saw on the previously marked centers: first cut the larger 2-1/8″ (54mm) hole through the door and then the smaller 15/16″ (24mm) hole from the door’s edge into the center of the larger hole.
| Latch preparation | Setting latch | Latch installation |
![]() Insert the latch bolt into the 15/16″ (24mm) hole and draw the outline of the front. Chisel out the marked area to 1/8″ (3mm) depth to fit the latch plate in step 5. | ![]() Adjust the latch to the distance you are going to install, 60 or 70 mm (Backset 2 318″ or 2 3/4’7- | ![]() Insert the latch into the hole in the door edge with its sloping side according to the direction that the door closes. Fasten the latch plate flush to the door edge surface with the provided screws and a #1 or #2 Phillips screwdriver. |
Attaching of exterior lock handle
Install the lock of the exterior handle by inserting the posts and the square bolt into the holes on the latch mechanism
Installation of interior lock handle
![]()
- Press the pinhole on the inner handle with the provided tool and pull off the handle.

- Turn the rose cover clockwise and pull out to expose the screw-holes for attaching to the outer handle already in the door.

- Use the provided machine screws to screw in the base rose to the outer handle already in the door

- Reattach the rose and lock it by turning it counter-clockwise [reverse step “2)” ].

- Reinstall the inner handle by pushing it on, matching the spring-loaded clip to the pinhole on the handle. Make sure the lock is in “VACANT” and the turning locking/unlocking knob is as shown:

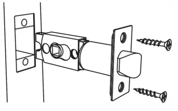
Stike installation

Use the supplied screws to install a strike plate in the frame of the door based on the height of the latch already in the door.
Template
Changing Right-handed to Left-handed:
Step 1: Turn clockwise to open the front rose cover.
Step 2: Pull the rose cover out.
Step 3: Rotate the rose cover 180 degrees so the screen is centered at the bottom.
Step 4: Turn the rose cover counter-clockwise to lock it; the upside-down VACANT should be visible.
Step 5: Rotate the assembled indicator half of the lock 180 degrees and install it in the door.



























