H FELE EL7500-TC Digital Door Lock

Thank you for purchasing our product. Please read through the manual prior to starting using the product.
- This manual contains product warranty. Please fill up the warranty with details on installation shop, contact information and data of installation to receive A/S under warranty.
- Product features and design may change without prior notification in order to improve product quality.
- The images contained in this manual are only reference used for description and instruction and its types and colors may differ in accordance with the product model.
Safety cautions
Do not dismantle the product yourself. It causes malfunction of product.
If you dismantle the product yourself, the product may not function as it should.
Do not impact on or alter the product.
It may cause malfunction or abnormal operation.
Do not use the product in place with water or humidity.
Since the product does not have water and dust proof structure, it may cause product malfunction due to short circuit, etc.
Completely block holes on door after product installation.
There is a risk of intrusion through milk hole or other door holes.
Do not place inflammables such as gas lighter near the product.
It may cause malfunction or abnormal operation.
Do not use the product in place with direct sunlight or high temperature.
It may cause malfunction or abnormal operation.
Do not install the product in place which water like snow or rain can come through in.
It may cause malfunction or abnormal operation.
Do not directly spray water when cleaning the product.
Water coming through into the product causes malfunction or abnormal operation.
Replace all batteries with new one when changing batteries.
When changing batteries, replace all batteries with new one. If using old batteries together new one, product life span cannot be guaranteed and product may malfunction.
Use alkaline battery only.
Using rechargeable battery may cause product malfunction.
Caution
Since the product is keyless door lock, a part of door lock may need to be damaged in case of malfunction.
It needs to be familiar with how to use manual closing and opening device in case of emergency.
- Voltage: DC6V / 2. Be cautious that reverse installation of batteries causes liquid leakage or a burst.
- When battery is flat, replace all batteries and DO NOT use used batteries with new one.
- Sensor operation temperature display: 60oC (+_10oC)
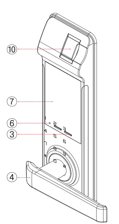
Product Structure and Name
- Outdoor body (Types and colors of outdoor body will differ depending on the model.)

Cover type

Non-cover type

Fingerprint recognition type

Touchpad type A

Touchpad type B

- Sliding cover
- Keypad buttons
- 9V emergency power supply socket
- Handle
- Touch key input (Applied model)
- Reset button (Applied model)
- Touch keypad
- Start / End button (Applied model)
- External alarm lamp (Applied model)
- Fingerprint input
Basic components (Check if your product contains all contents.)
1 outdoor body / 1 indoor body / 1 Mortise (latch)
Strike box 1 set / 1 user manual / 1 installation guide
1 caution sticker / Bolt set / 4 AA batteries (Alkaline)
Extra accessories (Applied model with card/key tag

- Basic components (Extra accessories) and its quantity may differ depending on the product model (Opening/closing function)
- Types and colors of touch key (Remote controller) may change
Indoor body (Types and colors of indoor body will differ depending on the model.)

- Battery cover
- Input button (
) : When you register or delete your password, use the touch key (card/key tag) and the remote controller. - Open/Close button : Use Open/Close button to open or close the door in the room.
- Manual opening and closing device : Use manual opening/closing device to open the door manually (in case of a fire or other emergencies).
- Handle
Caution (Applied model)

- Remove the protection tape on the touch pad after digital door lock installation
Optional accessory sold separately (Applied model with remote controller)
- Support plate

- Remote controller (Applied models with remote controller)

Register password (Make sure that door is open when checking password registration)

- Open battery cover of indoor body and press Input button(
). (Beeping sound) - Touch each touch key or card/key tag on external input area.
Up to 1-50 touch keys or cards/key tags can be registered. - Press button to complete (Ding dong sound when successfully registered / three beeping sounds when failed)
Change password
- Change password in the same way as above.
- When registering new password, previous password is automatically deleted.
Make sure that a door keeps being open when registering/changing password.- Default factory password is set to “1234”. Please update the password after installation.
Register touch key and card/key tag (Applied model with touch key and card/key tag)

- Open battery cover of indoor body and press Input button(
). (Beeping sound) - Touch each touch key or card/key tag on external input area. Up to 1-50 touch keys or cards/key tags can be registered.
- Press button to complete (Ding dong sound when successfully registered / three beeping sounds when failed)
Delete touch key and card/key tag (Applied model with touch key and card/key tag)
- Open battery cover of indoor body.
- Press Input button. (Beeping sound)
- Press 0 twice on outdoor keypad.
- Press button to complete.
If deleting a touch key (Card/Key tag), all registered touch keys (Cards/Key tags) will be deleted.- It is required to register new touch key (Card/Key tag) after deletion.
- For card/key tag model, please use and register only card/key tag provided by us.
- We are not liable for any security incident if user uses other cards or tags (Such as traffic card, credit card, etc) rather than dedicated card/key tag.
Fingerprint Registration (Applied model with fingerprint input)

- Open battery cover of indoor body and press Input button ( ). (Beeping sound)
- ① Push the cover of the outside fingerprint input slightly from right to left.
② Place your finger to be registered with the fingerprint module gently on the unit and input the fingerprints primarily (Beeping sound).
③ Once the sound goes off, take off the finger and re-input the fingerprints secondarily (Two “beeps” sound).
④ Once the beep sounds go off, take off the finger and re-input the fingerprints thirdly (“ppiririck” sound). - Press the “ “ button to complete your registration. Maintain the contact state until the sound comes to an end.
(success sound: * “ding dong dang”/ failure sound: two “beeps”).
Upon failure, restart from the beginning.
Up to 1 to 200 fingerprints can be registered.
The fingerprints of infants in the developmental stage or some users with unique fingerprints (those which cannot be registered) may not be recognized.- Scanning foreign substance (sweat and moisture)-stained fingerprints or dry fingerprints may lead to failure to recognize fingerprints.
- Stay clean the fingerprint input unit so it is not stained with foreign substances and do not use a wet finger.
- If fingerprint recognition is not successful, input and use the fingerprints of another finger.
- Registered fingerprints may be also registered in a duplicate manner.
Fingerprint Deletion (Applied models with fingerprint input)
- Open the battery cover of the indoor body.
- Press the Input button (
). ( “Beep” sounds) - Press the “0” and “1” buttons on the outside number plate in order.
- Press the “ ” button, and the deletion will be completed.
The deletion of fingerprints causes all the existing, registered ones to be deleted.- After the deletion, register the fingerprints to be used anew.
Opening the Door with Fingerprint, Touch Key, and Card/Key Tag from the Outside (Applied models)


- Touch key(Card/ key tag) model
Place the registered touch key or Card / key tag on external touch key pad. (Ding dong sound)
- Opening the door with fingerprints
Contact the registered fingerprints with the fingerprint input. ( “Beep” sound)
Open a door using password from outside
Cover type

- Lift up external cover (Beeping sound / Keypad flashes) and enter password.
- Pull down the cover or press button to open a door.
Non-cover type

Press the “ ” button, input the registered password, and press the “ ” button again, and then the door will be opened.
Touch pad type A

- Press ‘Start/End’ button or press more than 2 buttons on outdoor body (Beeping sound / Keypad flashes) to turn on the light of touch pad.
- Enter password and press button or ‘Start/End’ button to open a door.
Touch pad type B / Fingerprint recognition type

- Press more than 2 buttons on outdoor keypad (Beeping sound / Keypad flashes) to turn on the light of touch pad.
- Enter password and press button to open a door.
After failure to input valid password in 5th attempt, operation will not be available for about 1 minute.- Please try it again after 1 minute when the operation is suspended.
Open a door from inside

Pull down the handle of the indoor body, and the door will be opened easily.
(Anti-panic function)
Product Warranty (For customer use)
※Please fill up all details when purchasing a product and present this warranty when requesting repair service.
| Product Name | ||
| Production code | ||
| Date of purchase | 1 year (12 months) from date of purchase (Day Month Year ) | |
| Customer | Name | |
| Address | ||
| Store (Installation shop) | Name | Tel: |
| Address | ||
About product warranty
- 1.This product is manufactured under the strict quality management and inspection.
- Free A/S for 1 year is provided for any technical problem if a product is used in a normal circumstance. Even within warranty period, if a case is matching with items described in paid service guide, service charge (Repair, parts and travel fee) will apply.
- This warranty is valid only in Korea.
- It is required to present this warranty card when requesting repair service.
- Please keep this warranty card carefully as it is not re-issuable
- When re-installing a product due to relocation or more, installation and travel fee will apply.
- A product cannot be returned or exchanged after installation except in case of serious defect of a product. (It is in accordance with compensation criteria for consumers’ damages.)
Requesting service
- Please check instructions in user manual and check-list in case of malfunction prior to contacting us.
- If the problem persists, stop using a product and contact sales agency/HQs. ※It is very dangerous to try to repair a product yourself. ※Please provide the following information when contacting us: Model name, date of purchase and place of purchase / Address, name, contact number and home address / Symptoms (In detail)
Compensation Criteria for Consumers’ Damages
Product warranty period is 1 year after purchase. (Please record the date of purchase in warranty card.)
| Type of consumer damages | Compensation | ||
| Within warranty period | After warranty period | ||
| Normal usage | Malfunction within 1 year after installation | Free service | Paid service |
| Malfunction which identical defect occurs twice | Free service | Paid service | |
| Parts for repair is not available | Exchange | Exchange (In accordance with the declining balance method of depreciation) | |
| Consumer’s intention or mistake | User error such as incorrect battery replacement, incorrect input, etc | Paid service | Paid service |
| Replacement of consumables (such as battery) | Paid service | Paid service | |
| Malfunction or damage caused by using a product for other purposes | Paid service | Paid service | |
| Malfunction or damage is made intentionally | Paid service | Paid service | |
| Malfunction or damage caused by fire or natural disaster | Paid service | Paid service | |
Free/paid service (Criteria in detail)
Service fee is charged in accordance with Consumer Protection Act. (Based on Article 5. Compensation Criteria for Consumers’ Damages, Consumer Protection Act.) Service fee consists of part cost and travel repair fee and each fee is determined by the followings. Service fee = part cost + travel repair fee (Repair service fee)
- Free repair: Problems in performance or function occurred within warranty period while using a product in normal way. (Within a year) Paid repair: After warranty period or in the following cases within warranty period
- In case of ‘User error’ / Service request for How-to question or forgotten password (Loss of key) / Request to check up product without precise defect / Malfunction after installing a product by consumer / Damage caused by external impact / Malfunction caused by incorrect way of inserting or replacing batteries / Damaged cover when consumer replaces battery / Malfunction or quality issue caused by using chemical materials / Request for re installation due to faulty installation (Alter front location) For models with emergency key, product damage caused since consumer did not take emergency with him/her / Product malfunction caused by condensation
- Part cost: Part cost refers to cost of part(s) which is required for product repair (Part cost includes 10% VAT)
- Travel repair fee: Travel repair fee applies to paid service and is total of technical fee in accordance with required level of difficulty (Time) and travel fee.
Lock a door from outside
On auto mode
- Door will be automatically locked in 1 second after closing the door. (With a built-in auto-lock internal sensor)
On manual mode
- Cover type: lift the cover of the outdoor body or press the “#” button.
- Non-Cover type: press the “#” button from the outside.
- Touch pad A-type: press the “Start/End button of the outdoor body or press two or more buttons of the touch type number plate.
- Touch pad B-type: press two or more buttons of the touch-type number plate
Lock a door from inside


On auto mode
- Door will be automatically locked in 1 second after closing the door.
On manual mode
- Press ‘Open/Close’ button to lock a door.
For the models that do not use Open/Close button, turn the manual opening and closing device to lock the door.
Use manual opening/closing device only in case of fire or other emergencies.
Use remote controller (Applied model with remote controller / Optional item)
Register/delete remote controller

- Registration : Press indoor input button
one time → “0” →”#” → Press open button or center button on remote controller (Ding-dong-dang sound) Press button to register (Registered within 8 seconds) - Delete: Press indoor Input button
one time Press 5 on external keypad twice
Press button to delete Up to 15 remote controllers can be registered.
Open/close door

Door will open or close 2~3 seconds after pressing Open/Close button.
Frequency: FM 447.275 Mhz Battery: AAA Size X 2EA (CR2032 X 1EA)
How to Register/Delete Door-Opening Switch for Home Videophone (Applied models using the remote controller type)
< Specifications for 6-Pin Connector >
Pin1 (red) Power DC12V input
Pin2 (blue) Power GND
Pin3 (orange) Polarity Open input
Pin4 (brown) Signal GND
Improper connections may cause breakdowns or malfunctions, so please consult an expert.
How to register
Open the battery cover of the inside body and press the Input
button once
→ Press the “0” → button Press the “#” button
→ Press the Homepack button → “ppiriring” sound (The input is completed)
How to delete
Open the battery cover of the inside body and press the Input
button once
→ Press the “0” button → Press the “#” button Press the “5” button twice
→ Press the “ ” button →“ppiriring” sound (The deletion is completed).
Master number function (Applied model with master number)
It is allowed to register or use password and touch key (Card/Key tag) in Administrator mode.
Register and change master number
- Registration: Indoor Input button
→ Press 0 and # in order → Enter master number to register → Press button → - Change: Indoor Input button
→ Press 0 and # in order → Enter registered master number → Press button → Enter new master number → Press button
Register and delete master touch key (Card/Key tag)
- Registration: Indoor Input button
→ Press 0 and # in order → Enter registered master number → Press button → Enter master touch key (Card/Key tag) → Press button→ - Delete: Indoor Input button
→ Press 0 and # in order → Enter registered master number → Press # and O in order → Press button
External dual locking function (Applied model with external dual locking function)
When the external dual lock is set, the door does not open in spite of pressing Open/Close button from the indoor. (Prevent intrusion through milk hole)
Cover type
- Enable: Press and hold # button on outdoor body for more than 5 seconds to enable dual locking function
- Disable: Lift up outdoor body cover →Enter registered password Pull down cover or press “ → ” button to disable the function
Non-cover type
- Enable: Press and hold # button on outdoor body for more than 5 seconds to enable dual locking function
- Disable: Press the “ →” button of the outdoor body Enter registered password Press the “ →” button
Touch pad type A
- Enable: Press and hold ‘Start/End’ button on outdoor body for more than 5 seconds to enable dual locking function
- Disable: Press and hold ‘Start/End’ button on outdoor body → Enter registered password → Press or ‘Start/End’ button to disable the function
Touch pad type B
- Enable: Press more than 2 buttons on touch keypad of outdoor body → Press and hold # button on outdoor body for more than 5 seconds to enable dual locking function
- Disable: Press more than 2 buttons on touch keypad of outdoor body → Enter registered password Press “ → ” button to disable the function
Inside dual locking function (Applied model with Inside dual locking function)
Once inside dual locking function is enabled, a door will not open even though entering valid password from outside.
Model with Open/Close button
- Enable : Press and hold Open/Close button for more than 5 seconds (Ding dong sound)
- Disable : Press and hold Open/Close button for more than 5 seconds to disable the function and open a doo
Reset function (Applied model with reset function)
Reset function (Applied model with reset function)
Applied model with Reset button
Press Reset button using a sharp object such as ballpoint pen, toothpick, etc
Set auto/manual locking (Convenient function to automatically lock 1 second after closing a door)
- Auto lock: Open battery cover and → press Input button
→ Press # button
→ Press Input button (Ding-dong-dang sound) - Manual lock: Open battery cover and →press Input button
→Press # button
→ Press Input button
(Beeping sound when set to manual lock mode)
Set auto locking time (Change auto lock time to 2 ~ 9 seconds)
Press Input button
on indoor body → Press 8 → Press time you wish to set (2~9 button) → Press button
Other useful functions
Function to prevent password exposure (Fake number function)
Hide password by pressing password after entering random numbers.
Alert function
- Locking error alert function:
When a door is not properly closed, it makes 3 attempts to open the door and generate 3 beeping sounds to alert. - Intrusion and prank prevention function:
Function to generate emergency alarm for 1 minute to prevent intrusion when there is an attempt to open a door by force.
Enter password or touch key (Card/Key tag) to turn off the alarm.
Sound settings
- Adjust sound (Mute → High volume):
Press internal Input button
→ Press 1, 3, and in order Press “1” button several times to turn down volume or “3” button several times to turn up the volume (Mute to High volume) Press button Touch pad type can adjust volume from low to high. The volume of sound can be adjusted in seven steps. - Manner mode (Mute function):
Lift up outdoor body cover and press # button Enter password Pull down cover or press button Touch pad type does not support mute function.
The silent function is for a single occasion, so perform the function whenever you need it.
Fire detection function (Built in fire detection sensor)
When heat detection sensor detects heat , it automatically opens a door.
When indoor body is exposed to direct sunlight for a long period of time, the temperature sensor may generate alarm.
External alarm function (Applied model with external alarm function)

- External ‘Pin Err’ lamp flashes when entering invalid password. Enter correct password again.
- ‘Low Batt’ lamp flashes, when batteries are going flat. Immediately change all of 4 batteries.
- When ‘Double lock’ lamp flashes, a door will not open even after entering correct password. (Dual locking function is enabled).
- If ‘Bolt Err’ lamp flashes, open/close function is not working properly since dead bolt(Latch) of indoor body is stuck in front (Strike).
Function to open a door using outside emergency key (Applied model with emergency key)
The function allows opening a door using emergency key in case of emergency or other particular situations. Pull emergency hole cap to side, insert emergency key to the hole and turn around the key.
User the function only in case of emergency. Alarm sounds when using emergency key.
Always take the emergency key with you in case of emergency.
Change battery
When installed batteries are going flat, lamp flashes 7 days before and alarm sounds (Ding dong sound like school bell). In this case, replace all batteries with new one. Password or touch key (Card/Key tag) will not change even after replacing the batteries.
Product life span cannot be guaranteed if used batteries are used together with new one. It is required to use quality alkaline battery. When using rechargeable battery, product can cause malfunction.- Please check battery polarity (+/-). Polarity reversal may cause malfunction. Consumer is liable for any damage caused by faulty battery and make sure to use quality alkaline battery only.
Unlock a door with emergency battery

When batteries are completely flat after long term travel, the emergency power supply function allows safe unlocking of a door. Purchase DC9V alkaline battery, contact it to emergency socket on outdoor body and apply password or touch key (Card/Key tag).
Make sure that battery is properly contacted with emergency socket when using this function. (External emergency power supply socket does not have polarity).- Location of external emergency power supply socket may differ according to the product model.
Unlock a door using password
Contact 9V battery to emergency socket → Press button and enter password → Press button to unlock
Unlock a door using touch key or card/key tag (Applied model with touch key and card/key tag) Contact 9V battery to emergency socket and place touch key (Card/Key tag) on external input pad to unlock a door
Fault diagnosis and troubleshooting
| Symptoms | Troubleshooting |
| Cannot remember password |
|
| Password input failure (5 attempts) |
|
| Door is not automatically locked |
|
| button is not working |
|
| External button sound is not working and lamp is not flashing |
|
Product specifications
| Type | Specification | |
| Basic items | Use password | 3 ~ 19 digits |
| The number of touch keys (Cards/Key tags) to be registered | Up to 50 (Applied models with touch key and card/key tag) | |
| The number of remote controller to be registered | Up to 15 (Applied models with remote controller) | |
| The number of fingerprints to be registered | Up to 200 (Applied models with the input of the fingerprints) | |
| Thickness of door | 35 ~ 50 mm | |
| Power supply | Power source | 6V (AA Size 1.5V Alkaline Battery X 4EA) |
| Emergency power source (Do not have polarity) | 9V square alkaline battery (Purchase separately) | |























