PROGYS 200A PFC
MMA (SMAW) and TIG (GTAW) welding machine
User Manual
PROGYS 200A PFC MMA and TIG Welding Machine
Find more languages of user manuals on our website
WARNING – SAFETY RULES
Read and understand the following safety recommendations before using or servicing the unit.
Any change or servicing that is not specified in the instruction manual must not be undertaken.
The manufacturer is not liable for any injury or damage caused due to non-compliance with the instructions featured in this manual .
In the event of problems or uncertainties, please consult a qualified person to handle the installation properly.
ENVIRONMENT
This equipment must only be used for welding operations in accordance with the limits indicated on the descriptive panel and/or in the user manual. The operator must respect the safety precautions that apply to this type of welding. In case of inedaquate or unsafe use, the manufacturer cannot be held liable for damage or injury.
This equipment must be used and stored in a place protected from dust, acid or any other corrosive agent. Operate the machine in an open, or well-ventilated area.
Operating temperature:
Use between -10 and +40°C (+14 and +104°F).
Store between -20 and +55°C (-4 and 131°F).
Air humidity:
Lower or equal to 50% at 40°C (104°F).
Lower or equal to 90% at 20°C (68°F).
Altitude:
Up to 1000 meters above sea level (3280 feet).
INDIVIDUAL PROTECTIONS AND OTHERS
Arc welding can be dangerous and can cause serious and even fatal injuries.
Welding exposes the user to dangerous heat, arc rays, electromagnetic fields, noise, gas fumes, and electrical shocks.
People wearing pacemakers are advised to consult with their doctor before using this device.
To protect oneself as well as the other, ensure the following safety precautions are taken:
| In order to protect you from burns and radiations, wear clothing without cuffs. These clothes must be insulated, dry, fireproof and in good condition, and cover the whole body. | |
| Wear protective gloves whichprovide electrical and thermal insulation. | |
| Use sufficient cutting protective gear for the whole body: hood, gloves, jacket, trousers…(varies depending on the application/operation) Protect the eyes during cleaning operations. Contact lenses are prohibited during use. It may be necessary to install fireproof welding curtains in order to protect against safety hazards such as arc rays, weld spatters and sparks. Ensure that people around the cutting area do not look at the arc or the molten metal and wear protective clothes. | |
| Ensure ear protection is worn by the operator if the work exceeds the authorised noise limit (the same applies to any person in the cutting area). Keep hands, hair and clothes away from moving parts such as fans, and motors. Never remove the safety covers from the cooling unit when the machine is plugged in. The manufacturer is not liable for any injury or damage caused due to non-compliance with the safety precautions. | |
| The pieces that have just been welded are hot and may cause burns when manipulated. During mainte-nance work on the torch or the electrode holder, you should make sure it’s cold enough and wait at least 10 minutes before any intervention. The cooling unit must be on when using a water cooled torch in order to ensure that the liquid does not cause any burns. ALWAYS ensure the working area is left as safe and secure as possible to prevent damage or accidents. |
WELDING FUMES AND GAS
The fumes, gas and dust generated by cutting are a potential health hazard. It is mandatory to ensure adequate ventilation and/or extraction to keep fumes and gas away from the work area. Using an air fed welding helmet is recommended in case of insufficient ventilation in the workplace.
Check that the air supply is effective by referring to the recommended safety regulations.
When cutting in small areas, operators must be supervised from a safe distance. Cutting certain materials containing lead, cadmium, zinc, mercury or beryllium can be particularly hazardous. It is also recommended to degrease the parts before cutting them.
Gas cylinders must be stored in an open or ventilated area. They must be stored vertically and held by a support or trolley to limit the risk of fall. Do not cut in areas where grease or paint are stored.
FIRE AND EXPLOSION RISKS
Protect the entire working area and ensure that flammable items are stored at a distance of at least 11 meters.
Fire extinguishing equipment must be kept in close proximity when cutting materials.
Be careful of weld spatter and sparks, even through cracks. If not careful then this could potentially lead to a fire or an explosion.
Keep people, flammable materials/objects and containers that are under pressure at a safe distance.
Cutting in containers or pipes should be avoided and, if they are open, then flammable or explosive materials must be removed (oil, fuel, gas…).
Grinding operations should not be carried out close to the power supply or flammable materials.
GAS BOTTLE
Gas leaking from the cylinder can lead to suffocation if present in high concentrations around the work area.
Transport must be done safely: Cylinders closed and product off. Always keep cylinders in an upright position securely chained to a fixed support or trolley.
Close the bottle after any welding operation. Be wary of temperature changes or exposure to sunlight.
Cylinders should be located away from areas where they may be struck or subjected to physical damage.
Always keep gas bottles at a safe distance from arc welding or cutting operations, and any source of heat, sparks or flames.
Be careful when opening the valve on the gas bottle, it is necessary to remove the tip of the valve and make sure the gas meets your welding requirements.
ELECTRICAL SAFETY
The electrical mains used must have an earth terminal. Use the recommended fuse size.
An electric shock could cause serious injuries or potentially even deadly accidents.
Do not touch any live part of the machine (inside or outside) when it is plugged in (Torches, cables, clamps) because they are connected to the cutting circuit.
Before opening the device, it is imperative to disconnect it from the mains and wait 2 minutes, so that all the capacitors are discharged. Do not touch the torch or electrode holder and earth clamp at the same time.
Damaged cables and torches must be changed by a qualified technician. Make sure that the cable cross section is adequate with the usage (extensions and welding cables). Always wear clothing that is dry and in good condition in order to shield yourself from the cutting circuit. Wear insulating shoes, regardless of the workplace/environment in which you work in.
EMC CLASSIFICATION
These Class A devices are not intended to be used on a residential site where the electric current is supplied by the public network, with a low voltage power supply. There may be potential difficulties in ensuring electromagnetic compatibility on these sites, because of the interferences, as well as radio frequencies.
PLASMA EASYCUT K25 :
This equipment complies with the IEC 61000-3-12 standard.
This equipment complies with IEC 61000-3-11 if the power supply network’s impedance at the electrical installation’s connection point is inferior to the network’s maximum admissible impendance Zmax = 0.281 Ohms.
ELECTROMAGNETIC INTERFERENCES
The electric current flowing through any conductor causes electrical and magnetic fields (EMF). The cutting current generates an EMF around the cutting circuit and the cutting equipment.
The EMF electromagnetic fields can interfere with certain medical implants, such as pacemakers. Protective measures must be taken for people having medical implants. For example, by restricting access to passers-by or conducting an individual risk evaluation for the users.
All welders should take the following precautions in order to minimise exposure to the electromagnetic fields (EMF) generated by the welding circuit::
- position the welding cables together – if possible, attach them;
- keep your head and torso as far as possible from the welding circuit;
- never enroll the cables around your body;
- never position your body between the welding cables. Hold both welding cables on the same side of your body;
- connect the earth clamp as close as possible to the area being welded;
- do not work too close to, do not lean and do not sit on the welding machine
- do not weld when you’re carrying the welding machine or its wire feeder.
People wearing pacemakers are advised to consult their doctor before using this device.
Exposure to electromagnetic fields while welding may have other health effects which are not yet known.
RECOMMENDATIONS TO ASSESS THE WELDING AREA AND WELDING INSTALLATION
Overview
The user is responsible for installing and using the arc welding equipment in accordance with the manufacturer’s instructions. If electromagnetic disturbances are detected, it is the responsibility of the user of the arc welding equipment to resolve the situation with the manufacturer’s technical assistance. In some cases, this remedial action may be as
simple as earthing the welding circuit. In other cases, it may be necessary to construct an electromagnetic shield around the welding power source and around the entire piece by fitting input filters. In all cases, electromagnetic interferences must be reduced until they are no longer bothersome.
Welding area assessment
Before installing the machine, the user must evaluate the possible electromagnetic problems that may arise in the area where the installation is planned.
In particular, it should consider the following:
a) the presence of other power cables (power supply cables, telephone cables, command cable, etc…)above, below and on the sides of the arc welding machine.
b) television transmitters and receivers ;
c) computers and other hardware;
d) critical safety equipment such as industrial machine protections;
e) the health and safety of the people in the area such as people with pacemakers or hearing aids;
f) calibration and measuring equipment
g)The isolation of the equipment from other machinery.
The user will have to make sure that the devices and equipments that are in the same room are compatible with each other. This may require extra precautions;
h) make sure of the exact hour when the welding and/or other operations will take place.
The surface of the area to be considered around the device depends on the the building’s structure and other activities that take place there. The area taken in consideration can be larger than the limits determined by the companies.
Welding area assessment
Besides the welding area, the assessment of the arc welding systems intallation itself can be used to identify and resolve cases of disturbances. The assessment of emissions must include in situ measurements as specified in Article 10 of CISPR 11. In situ measurements can also be used to confirm the effectiveness of mitigation measures.
RECOMMENDATION ON METHODS OF ELECTROMAGNETIC EMISSIONS REDUCTION
a. National power grid: The arc welding machine must be connected to the national power grid in accordance with the manufacturer’s recommendation. If interferences occur, it may be necessary to take additional preventive measures such as the filtering of the power suplly network. Consideration should be given to shielding the power supply cable in a metal conduit. It is necessary to ensure the shielding’s electrical continuity along the cable’s entire length. The shielding should be connected to the welding current’s source to ensure good electrical contact between the conduct and the casing of the welding current source.
b. Maintenance of the arc welding equipment: The arc welding machine should be be submitted to a routine maintenance check according to the manufacturer’s recommendations. All accesses, service doors and covers should be closed and properly locked when the arc welding equipment is on.. The arc welding equipment must not be modified in any way, except for the changes and settings outlined in the manufacturer’s instructions. The spark gap of the arc start and arc stabilization devices must be adjusted and maintained according to the manufacturer’s recommendations.
c. Welding cables: Cables must be as short as possible, close to each other and close to the ground, if not on the ground.
d. Electrical bonding : consideration shoud be given to bonding all metal objects in the surrounding area. However, metal objects connected to the workpiece increase the riskof electric shock if the operator touches both these metal elements and the electrode. It is necessary to insulate the operator from such metal objects.
e. Earthing of the welded part : When the part is not earthed – due to electrical safety reasons or because of its size and its location (which is the case with ship hulls or metallic building structures), the earthing of the part can, in some cases but not systematically, reduce emissions It is preferable to avoid the earthing of parts that could increase the risk of injury to the users or damage other electrical equipment. If necessary, it is appropriate that the earthing of the part is done directly, but in some countries that do not allow such a direct connection, it is appropriate that the connection is made with a capacitor selected according to national regulations.
f. Protection and plating : The selective protection and plating of other cables and devices in the area can reduce perturbation issues. The protection of the entire welding area can be considered for specific situations.
TRANSPORT AND TRANSIT OF THE WELDING MACHINE
The machine is fitted with handle(s) to facilitate transportation. Be careful not to underestimate the machine’s weight. The handle(s) cannot be used for slinging.
Do not use the cables or torch to move the machine. The welding equipment must be moved in an upright position.
Do not place/carry the unit over people or objects.
Never lift the machine while there is a gas cylinder on the support shelf. A clear path is available when moving the item.
EQUIPMENT INSTALLATION
- Put the machine on the floor (maximum incline of 10°.)
- Ensure the work area has sufficient ventillation for welding, and that there is easy access to the control panel.
- The machine must not be used in an area with conductive metal dusts.
- The machine must be placed in a sheltered area away from rain or direct sunlight.
- The machine protection level is IP21, which means :
– Protection against acess to dangerous parts from solid bodies of a ≥12.5mm diameter and,
– Protection against vertically falling drops.
The manufacturer does not incur any responsability regarding damages to both objects and persons that result from an incorrect and/or dangerous use of the machine.
MAINTENANCE / RECOMMENDATIONS
- Maintenance should only be carried out by a qualified person. Annual maintenance is recommended.
- Ensure the machine is unplugged from the mains, and wait for two minutes before carrying out maintenance work. DANGER High Voltage and Currents inside the machine.
- Remove the casing 2 or 3 times a year to remove any excess dust. Take this opportunity to have the electrical connections checked by a qualified person, with an insulated tool.
- Regularly check the condition of the power supply cable. If the power cable is damaged, it must be replaced by the manufacturer, its after sales service or an equally qualified person.
- Ensure the ventilation holes of the device are not blocked to allow adequate air circulation.
- Do not use this equipment to thaw pipes, to charge batteries, or to start any engine.
INSTALLATION – PRODUCT OPERATION
Only qualified personnel authorized by the manufacturer should perform the installation of the welding equipment.
During set up, the operator must ensure that the machine is unplugged. Connecting generators in a series or a parallel circuit is forbidden. It is recommended to use the welding cables supplied with the unit in order to obtain the optimum product settings.
HARDWARE DESCRIPTION
These welding are, Inverter, portable welder, for covered electrode and TIG Lift in DC. It allows welding with rutiles, basic, stainless steel. In TIG, it allows to weld most of metals except aluminium and alloys. It is protected for a use on electric generators (Alim 230 V AC).
POWER SUPPLY – START UP
This machine is fitted with a 16A socket type CEE7/7 which must be connected to a single-phase 230V (50 – 60 Hz) power supply fitted with three wires and one earthed neutral.
The absorbed effective current (I1eff) is displayed on the machine, for optimal use. Check that the power supply and its protection (fuse and/or circuit breaker) are compatible with the current needed by the machine. In some countries, it may be necessary to change the plug to allow the use at maximum settings.
- The start-up is done by pressing «
»
The device turns into protection mode if the supply voltage is over 265V for the single-phase products (the sсreen displays
).
Normal operation will resume when the voltage has returned to its nominal range.
CONNECTION ON A GENERATOR
The machine can work with generators as long as the auxiliary power matches these requirements :
– The voltage must be AC, always set as specified, and the peak voltage below 400V,
– The frequency must be between 50 and 60 Hz.
It is imperative to check these requirements as several generators generate high voltage peaks that can damage these machines.
MMA WELDING (ELECTRODE)
CONNECTION AND ADVICE
- Leave the machine connected to the supply after welding in order to let it cool down.
- Thermal protection: thermal protection indicator turns on and the cooling time is about 2 to 5 min according to external temperature.
- Your machine is equipped with 3 specific functions to Inverters :
– The Hot Start increases the current at the beginning of the welding.
– The Arc Force increases the current in order to avoid the sticking when electrode enters in melted metal.
– The Anti Sticking allows you to easily withdraw your electrode without damaging it in case of sticking.
Selection of MMA Mode and intensity setting:
– Select the MMA position (2) with the selector (5).
(Press 3 seconds to switch from TIG to MMA)
– Adjust the wished current (display (1)) using the key (4).
| PROGYS 200A PFC | |
| HOT START | 0 > 90% |
| ARC FORCE | Automatic |
Advice: :
Low Hot Start: for thin metal sheets
High Hot Start for metals that are difficult to weld (dirty or oxidized parts)
To set the Hot Start, follow these steps :

Press the switch (5).
«H» (Hot Start) blinks and a number is displayed.
Set the desired percentage (display (1)) using the (4) keys.
Validate by pressing the switch (5).
TUNGSTEN ELECTRODE WELDING WITH INERT GAS (TIG MODE)
The DC TIG welding requires a protective gas (argon)
Follow the steps as below :

- Connect the earth clamp on the positive pole (+).
- Connect a torch «valve» negative polarity (-).(Ref. 044425)
- Connect the pipe gas torch on the gas cylinder
- Select the TIG position (3) using the selector button (5) (press and hold for 3 sec).
- Adjust the wished current (display (1)) using the keys (4).
Advice : Take 30A/mm as a default setting and adjust according to the part to weld. - Set the gas flow on flewmeter of the gas cylinder, and then open the valve of the torch.
- To boot : Touch the electrode on the welding part
- At end of welding: Up 2 times the arc (up-down-up-down) to trigger the automatic fade (see paragraph below). This movement must be performed in less than 4 sec, at a height of 5 to 10 mm. Then close the valve to stop the torch gas after cooling of the electrode.
Automatic Arc slope with time adjustable
Function activation:
This corresponds to the end of welding time required for the gradual decline in the welding current until the stop of the arc. This function helps to avoid cracks and craters at end of welding.

- Press the selector switch (5)
- Set the automatic arc slope you wish from 1 to 10 sec (display(1)) using key
- Validate the required figure by pressing the selector button (5).
Recommended combinations / Electrode grinding
| Current (A) | Ø Electrode (mm) = Ø wire (filler metal) | Ø Nozzle (mm) | Flow rate (Argon L/mn) | |
| 0,5-5 | 10-130 | 1,6 | 9,8 | 6-7 |
| 4-8 | 130-200 | 2,4 | 11 | 7-8 |
To optimize the working, you have to use an electrode grinded as below: L = 2,5 x d.

TROUBLESHOOTING
| Anomalies | Causes | Remedies | |
| MMA-TIG | The device does not deliver any current and the yellow indicator lamp of thermal defect (6) lights up. | The welder thermal protection has turned on. | Wait for the end of the cooling time, around 2 minutes. The indi- cator lamp (7) turns off. |
| The display is on but the device does not deliver any current. | The cable of the earth clamp or electrode holder is not connected to the welder. | Check the connections. | |
| If, when the unit is on and you put your hand on the welding unit’s body, you feel tingling sensation. | The welding unit is not correctly connected to the earth. | Check the plug and the earth of your electrical network. | |
| The display is on but the device does not deliver any current. | The cable of the earth clamp or electrode holder is not connected to the welder. | Check the connections. | |
| When starting up, the display indicates | The voltage is not included in the range 230V +/- 15% | Have the electrical installation checked. | |
| TIG | Instable arc | Default coming from the tungsten electrode | Use a tungsten electrode with the adequate size |
| Use a well prepared tungsten electrode | |||
| Too important gas flow rate | Reduce gas flow rate | ||
| The tungsten electrode gets oxidised and tern at the end of welding. | Welding zone | Protect welding zone against air flows | |
| Default coming from post-gas or the gas has been stopped prema- turely. | Check and tighten all gas connec- tions. Wait until the electrode cools down before stopping the gas. | ||
| The electrode melts | Polarity error | Check that the earth clamp is really connected to + | |
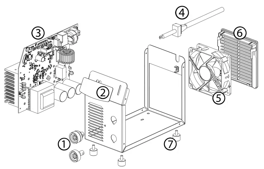
SPARE PARTS

| DESIGNATION | 200A PFC | |
| 1 | Connectors | 51469 |
| 2 | Display | 51924Ind1 |
| 3 | Electronic card | 97143C |
| 4 | Power cord | 21487 |
| 5 | Fan | 51021 |
| 6 | Protective screen | 51010 |
| 7 | Feets | 71140 |
CIRCUIT DIAGRAM

INTERFACE

| 1 | Display |
| 2 | Mode indicator « electrode welding » (MMA) |
| 3 | Mode indicator « non consumable electrode welding» (TIG) |
| 4 | Select button « – or + » |
| 5 | Button selection-validation |
| 6 | Thermal protection indicator |
| 7 | Button on-stand by |
WARRANTY
The warranty covers faulty workmanship for 2 years from the date of purchase (parts and labour).
The warranty does not cover:
- Transit damage.
- Normal wear of parts (eg. : cables, clamps, etc..).
- Damages due to misuse (power supply error, dropping of equipment, disassembling).
- Environment related failures (pollution, rust, dust).
In case of failure, return the unit to your distributor together with:
– The proof of purchase (receipt etc …)
– A description of the fault reported
TECHNICAL SPECIFICATIONS
| PROGYS 200A PFC | |||
| Primary | |||
| Power supply voltage | 230 V +/- 15% | ||
| Mains frequency | 50 / 60 Hz | ||
| Number of phases | 1 | ||
| Fuse | 16 A | ||
| Maximum effective supply current I1eff | 16 A | ||
| Maximum supply current I1max | 33 A | ||
| Mains cable section | 3 x 1.5 mm² | ||
| Maximum active power consumed | 6,4 kW | ||
| Idle consumption | 6.16 W | ||
| Efficiency at I2max | 84 % | ||
| Power factor at I2max (λ) | 0.99 | ||
| EMC class | A | ||
| Secondary | MMA | TIG | |
| No load voltage | 96 V | ||
| Type of welding current | DC | ||
| Welding modes | MMA, TIG (LIFT) | ||
| Minimum welding current | 10 A | ||
| Normal current output (I2) | 10 200 A | 10 200 A | |
| Conventional voltage output (U2) | 20.4 28 V | 10.4 18 V | |
| Norme EN60974-1. Duty cycle at 40°C (10 min)* Standard EN60974-1. Einschaltdauer @ 40°C (10 min)* EN60974-1 -Norm. Ciclo de trabajo a 40°C (10 min)* Norma EN60974-1 | Imax | 20 % | 27 % |
| 60% | 120 A | 145 A | |
| 100% | 90 A | 115 A | |
| Functionning temperature | -10°C +40°C | ||
| Storage temperature | -20°C +55°C | ||
| Protection level | IP21 | ||
| Minimum coil insulation class | B | ||
| Dimensions (Lxlxh) | 27 x 21 x 14 cm | ||
| Weight | 5.5 kg | ||
*The duty cycles are measured according to standard EN60974-1 à 40°C and on a 10 min cycle.
While under intensive use (> to duty cycle) the thermal protection can turn on, in that case, the arc swictes off and the indicator
switches on.
Keep the machine’s power supply on to enable cooling until thermal protection cancellation.
The welding power source describes an external drooping characteristic.
SYMBOLS
| – Caution ! Read the user manual. | |
| – Single phase inverter, converter-rectifier | |
| – Electrode welding (MMA – Manual Metal Arc) | |
| – welding (Tungsten Inert Gas) | |
| – Adapted for welding in environments with increased risk of electrical shock. However, the welding machine should not be placed in such places. | |
![]()
| – Welding direct current |
Uo | – Rated no-load voltage |
X(40°C) | – Duty cycle according to standard EN 60974-1 (10 minutes – 40°C). |
I2 | – I2 : corresponding conventional welding current |
A | – Amps |
U2 | – U2 : conventional voltages in corresponding load |
V | Volt |
Hz | – Hertz |
| – Single phase power supply 50 or 60Hz | |
U1 | – rated supply voltage |
I1max | – Rated maximum supply current (effective value) |
I1eff | – Maximum effective supply current |
| – The device complies with European Directive. The certificate of compliance is available on our website. | |
| – Equipment in compliance with British requirements. The British Declaration of Conformity is available on our website (see home page). | |
| – Equipment in conformity with Moroccan standards. The declaration Cم (CMIM) of conformity is available on our website (see cover page). | |
EN60974-1 EN60974-10 Class A | – The device complies with EN60974-1, EN60974-10, Class A standard relative to welding units |
| – Separate collection required | |
| – Conformity mark EAC (Eurasian Economic Commission) | |
| – Thermal protection information | |
| – standby/On | |
| – The mains disconnection mean is the mains plug in combination with the house installation. Accessibility of the plug must be guaranteed by user. | |
| – Number of standardized electrodes weldable over 1 hour of continuous work, divided by the number of electrodes weldable in the same conditions without thermal shutdown. | |
| – Number of standardized electrodes weldable during 1 hour at 20°C, with a delay of 20 s. between each electrode. | |
| Ventilated | |
| – This product should be recycled appropriately |
GYS SAS
1, rue de la Croix des Landes
CS 54159
53941 SAINT-BERTHEVIN Cedex
France
www.gys.fr

















