I0000951 Ecmcs Current Switches
Instructions
I0000951 Ecmcs Current Switches
PRECAUTIONS
- This product is not intended to be used for Life or Safety applications.
- This product is not intended for use in any hazardous or classified locations.
- The ECM Current Switches must be used on Insulated Conductors Only!
HIGH VOLTAGE
- Disconnect and lock out all power sources before installation as severe injury or death may result from electrical shock due to contact with high voltage wires.
GENERAL INFORMATION
ACI ECMCS split-core current switches are designed for use in electronically commutated motor (ECM) applications in which you are looking for status for a particular piece of equipment. ECMs have a unique operating profile that includes a small standby current when the motor is powered but not actively spinning compared to no current draw of traditional PSC motors.
The ECMCS switches do not require external power, since the power for the current switch is induced from the conductor being monitored. ACI’s ECMCS switch has an adjustable trip level to set the desired trip level for proper motor status indication in most ECM applications. ACI offers a calibration tool that will help assist the installation process by implementing a visual indication of the state of the output switch to the installer.
The ECM current switch can be secured to the monitored cable using a cable tie and the integrated cable tie anchor feature of the housing. The ECMCS switch also comes with an attachable mounting foot that allows the unit to be mounted in any position using one Tek screw or snapped directly on a 35mm DIN rail.
Note: The ECM switch is not intended to monitor status in VFD motor applications.
FIGURE 1: ENCLOSURE DIMENSIONS
BEFORE INSTALLATION
- The ECM current switch is set to its maximum trip level by the factory.
INSTALLATION INSTRUCTIONS
Make sure that all installations are in compliance with all national and local electrical codes. Only qualified individuals that are familiar with codes, standards, and proper safety procedures for highvoltage installations should attempt installation. The current switches will not require external power, since the power for the current switch is induced from the conductor being monitored.
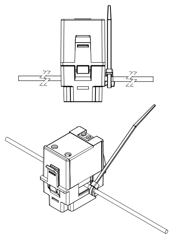
The ECM switch has multiple mounting options. The ECM current switch enclosure has a plastic feature that allows for the monitored current wire to be cable tied to the enclosure for free hanging installation applications – See Figure 4 (pg. 2). This will be the preferred method for most installations.
Alternatively, the current switch product comes
FIGURE 2: DIN RAIL INSTALLATION
with a detached mounting foot. With the mounting foot attached to the ECM switch main body, the enclosure may be mounted in any position using the one #8 x 3/4” Tek screw through the hole in the mounting foot. The mounting clip must be snapped into position- See Figure 3. Align the front of the ECM Switch (latch) with the front of the mounting clip (screw mount). Insert the ECM Switch unit at a slight angle, with the back of the unit leading down, and push down to snap into place. Additionally, the enclosure may be snapped directly on a 35mm DIN rail – See Figure 2 (pg. 2). Leave a minimum distance of 1” (3 cm) between the current switch and any other magnetic devices such as contactors and transformers.
LATCH OPERATION FOR ECM SERIES
Press down on the side tab and swing the top of the unit up to open the split core current switch. Press down firmly on the cover to close the current switch. An audible “click” will be heard as the tab slides over the tongue on the base.
CAUTION
Mating surfaces of the magnetic core are exposed when the sensor is open. Operation can be impaired if anything prevents good contact between pole pieces. Visually check the mating parts of the core before closing the current sensor.
FIGURE 3: MOUNTING FOOT ATTACHMENT
FIGURE 4: WIRE MOUNTING
FIGURE 5: DIGITAL CIRCUIT
WIRING INSTRUCTIONS
ACI recommends the use of a two conductor 16 to 22 AWG shielded cable or twisted pair copper wire only for all current switch applications.
Note: When using a shielded cable, be sure to connect only (1) end of the shield to ground at the controller. Connecting both ends of the shield to ground may cause a ground loop. When removing the shield from the sensor end, make sure to properly trim the shield to prevent any chance of shorting.
The current switch output terminals represent a solid-state switch for controlling both AC and DC loads and are not polarity sensitive. Tighten the screws at the terminal block connections to the recommended torque of 0.5 to 0.6 Nm (4.43 to 5.31 in-lbs.). The aperture (hole) of the current switch will handle 10 AWG to 14 AWG wire sizes.
Figure 5 is showing the use of the Go/No Go Current Switch as a Digital Input to your DDC Controller.
CHECKOUT
Note: The ECM current switch is set to its maximum trip level by the factory.
With the ECM current switch installed, turn on the power source to the ECM and verify that the ECM current switch has a closed output switch function when the motor is spinning and an open output switch function when the motor is in standby operation—not spinning.
CALIBRATION
If the ECM current switch status indication does not correctly indicate motor status, use the following steps to perform the calibration of the status indication. For switch status indication, ACI recommends the ECM Trip Adjust Tool be installed on the switch terminal block. The Trip Adjust Tool will give LED indication of a closed switch.
If the Trip Adjust Tool is unavailable, direct connection to the BMS(Building Management System) is recommended. Note that the BMS usually has a slight delay in response time. Response time must be taken into consideration when calibrating.
Note: ACI recommends to calibrate the switch with the EC motor in standby mode.
Clockwise = Decrease Trip Point
Counterclockwise = Increase Trip Point
Set the motor to operate in standby mode (EC motor is powered, but the motor is not spinning). If the ECM current switch indicates a standby status (open output switch):
- Rotate the trip level adjustment screw Clockwise slowly for the ECM current switch to respond. Once the ECM current switch changes to the motor spinning status (closed output switch), stop rotating.
- Then rotate the adjustment screw very slowly Counterclockwise until switch changes to the standby status (open output switch). Try not to overshoot the rotation at this point.
- Verify correct operation of the ECM current switch by alternating between motor spinning and motor standby operation. If you need to repeat the trip level adjustment, set the motor to operate in the standby mode again and rotate the pot CW until the switch changes to the motor spinning status (closed output switch), and then very slowly rotate the pot CCW until the switch changes to the standby status (open output switch).
Calibration is now complete.
PRODUCT SPECIFICATIONS
| Monitored Current Type: | AC Current |
| Maximum AC Voltage: | 600 VAC |
| Operating Frequency Range: | 50/60 Hz |
| Core Style: | Split-Core |
| Sensor Power: | Induced from the Monitored Conductor (Use Insulated Conductors only) |
| Amperage Range: | 0 to 25 A |
| Insulation Class: | 600 VAC |
| Trip Point Style | Adjustable Trip Point Range: Hysteresis: | Adjustable Trip Point | 0.075 A to 0.50 A |
| Hysteresis: | 10% of Trip Level Current, Typical |
| Contact Type: | Normally-Open “N/O” |
| Contact Rating: | 100 mA Continuous @ 30 VAC/VDC |
| Contact “On” Resistance | “Off” Resistance: | < 10 Ohms (when tripped) | > 1 Meg Ohms (Open) |
| Response Time: | < 5 Seconds Typical |
| Aperture Size (Diameter) | Wire Size: | 0.20”(5.0mm) x 0.49”(12.5mm) | Fits 10 AWG to 14 AWG THHN Insulated Wire |
| DIN Rail Size: | 35 mm |
| Operating Temperature | Humidity Range: | 32°F to 140°F (0°C to 60°C) | 10 to 90%, non-condensing |
| Storage Temperature | RH Range: | 41 to 95°F (5 to 35°C) | 40% to 85% RH, non-condensing |
| Enclosure Material | Flammability Rating: | PC/ABS (Polycarbonate/ABS Blend) | UL94-V0 |
| Wiring Connections: | 2 Position Screw Terminal Block (Not Polarity Sensitive) |
| Wire Size: | 16 to 22 AWG (1.31 mm² to 0.33 mm²) Copper Wires Only |
| Terminal Block Torque Rating: | 4.43 to 5.31 in-lbs. (0.5 to 0.6 Nm) |
| Minimum Mounting Distance: | 1” (2.6 cm) between current switch & other magnetic devices (Relays, Contactors, Transformers) |
| Agency Approvals: | UL/CUL US Listed (UL 916) Energy Management Equipment (File # E334792), CE, UKCA, RoHS, WEEE, CAN ICES-3 / NMB-3 |
| Pollution Degree: | 2 |
| Environmental: | Indoor |
| Product Dimensions (L x W x H): | 1.93″ (48.99 mm) x 1.31″ (33.17 mm) x 2.18″ (55.37 mm) |
WARRANTY
The ACI ECM Current Switch Series are covered by ACI’s Five (5) Year Limited Warranty, which is located in the front of ACI’S SENSORS & TRANSMITTERS CATALOG or can be found on ACI’s website: www.workaci.com.
W.E.E.E. DIRECTIVE
At the end of their useful life the packaging and product should be disposed of via a suitable recycling centre. Do not dispose of with household waste. Do not burn.
FCC Compliance Statement
This device complies with part 15 of the FCC Rules. Operation is subject to the following two conditions: (1) This device may not cause harmful interference, and (2) this device must accept any interference received, including interference that may cause undesired operation.
![]()
Automation Components, Inc.
2305 Pleasant View Road
Middleton, WI 53562
Phone: 1-888-967-5224
Website: workaci.com
Version: 2.0
I0000951


















