WYZE Cam OG Outdoor Camera

INTRODUCTION
Read this manual carefully and save it for future reference.
GET BETTER SECURITY WITH
Cam Plus
Record Full-Length Videos
Get unlimited full-length video recordings.
Smart A.I. Detection
Detect people, packages, vehicles, and more.
Back-to-Back Event Recording
Capture everything without 5-minute gaps.
Exclusive Discounts
Get exclusive discounts on Wyze products.
Subscribe or learn more at services.wyze.com.
IN THE BOX
Wyze Cam OG x1
USB Cable x1
Wall Plate x1
Indoor Power Adapter x1
Wall Anchors x1
Mounting Screw x2
Quick Start Guide x2

- White LED Light
- Lens
- Status Light
- Microphone

- Speaker
- Power Cable
- Wall Plate

- MicroSD Card Slot (MicroSD Card not included)
- SETUP Button
SETUP
- Download the Wyze app and sign in or create an account.


- Connect the camera to a power outlet and wait for 20 seconds or until the status light flashes red.

- Press and release the SETUP button, then wait 3-5 seconds until there is a voice prompt.
- Open the Wyze app and tap the + sign in the top left corner of the Home tab. Tap Add Device > Cameras>Wyze Cam OG and then follow the instructions.
Only use the power supply provided.
LIGHT INDICATORS DURING INSTALLATION
Solid red light
The device is powered on a nd initializing
Flashing red light
The device is ready to connect
Flashing red & blue lights
Connection is in progress
Flashing blue light
The device is connected and finishing setup
Solid blue light
The device is working properly
LIGHT INDICATORS AFTER SETUP
Solid red light
Live stream is being viewed or a recording is in progress
Quickly flashing red light
Siren is in use
Solid blue light
The device is working properly and no operations are running.
INSTALLATION
Screw the base stand into the bottom of the camera.
Rotate the locking pad clockwise to lock in the camera. Then plug the power into the camera.
CEILING MOUNT
- Use the included screws ( ~5 mm diameter, ~ 30 mm length) to screw the wall plate into the ceiling.

- Insert the camera base stand into the wall plate and push until you feel it is tightened into place. To remove, pull the base away from the wall plate.

WALL MOUNT
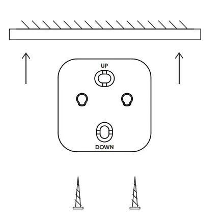
- Use the included wall plate to locate the position of the holes and use a 13/ 64 drill bit to drill holes on the wall. The diameter of each drilled hole should be ~5 mm, and the depth of the hole ~30 mm. Please ensure that the wall can withstand more than three times the total weight of the camera, and be sure to fix it firmly to avoid accidental injury.

- Insert the wall anchor into the hole. Use the included screws to screw the wall plate into the wall anchor. Make sure the UP sign is pointing up.

- Insert the camera’s base stand into the wall plate and push down. You will feel increased friction when it is locked in place. To remove, pull it up.

FCC WARNING
Any changes or modifications not expressly approved by the party responsible for compliance could void the user’s authority to operate this equipment. This device complies with part 15 of the FCC Rules. Operation is subject to the following two conditions: (1) This device may not cause harmful interference, and (2) This device must accept any interference received, including interference that may cause undesired operation. This equipment has been tested and found to comply with the limits for a Class B digital device, pursuant to Part 15 of the FCC Rules. These limits are designed to provide reasonable protection against harmful interference 1n a residential installation. This equipment generates, uses, and can radiate radio frequency energy and, if not installed and used in accordance with the instructions, may cause harmful interference to radio communications. However, there is no guarantee that interference will not occur in a particular installation. If this equipment does cause harmful interference to radio or television reception, which can be determined by turning the equipment off and on, the user is encouraged to try to correct the interference by one or more of the following measures:
- Reorient or relocate the receiving antenna.
- Increase the separation between the equipment and receiver.
- Connect the equipment into an outlet on a circuit different from that to which the receiver is connected.
- Consult the dealer or an experienced radio/ TV technician for help.
FCC RADIATION EXPOSURE STATEMENT
This equipment complies with FCC radiation exposure limits set forth for an uncontrolled environment. This equipment should be installed and operated with minimum distance 20 cm between the radiator & your body. This transmitter must not be co-located or operating in conjunction with any other antenna or transmitter.
ISED RSS WARNING
This device complies with ISEDC licence-exempt RSS standard(s). Operation is subject to the following two conditions: (1) this device may not cause interference, and (2) this device must accept any interference, including interference that may cause undesired operation of the device.
ISED RADIATION EXPOSURE STATEMENT
This equipment complies with ISEDC RF radiation exposure limits set forth for an uncontrolled environment. This transmitter must not be co-located or operating in conjunction with any other antenna or transmitter. This equipment should be installed and operated with a minimum distance of 20 cm between the radiator and your body. Only use the power supply provided. Any changes or modifications not expressly approved by the party responsible for compliance could void the user’s authority to operate the equipment.
WARRANTY
Your Wyze product is covered by a one-year limited warranty.
You can view the limited warranty terms at https://wyze.com/return-warranty-policy or request a copy by contacting Wyze at + 1 (206} 339-9646.
NEED HELP?
Contact our Support Team:
https://wyze.com/support
Join the Community:
https://wyze.com/community
Wyze and Wyze Cam OG are trademarks of Wyze Labs, Inc.
Disclaimer: The products, accessories, user interfaces, etc. illustrated in this guide are intended for reference only. Due to product updates, the actual product and the illustrations in this guide may vary.






























