21-0903 Wesley Media Console
Instruction Manual
21-0903 Wesley Media Console
Let’s build the
Wesley Media Console
Ok, let’s get rolling
This should be easy, just follow our instructions and you will be back to Netflix in no time.
Estimated time for assembly
45:00
What you need
- Some of your favourite bubbly or your preferred relaxant
- Use the packaging carton as a working surface to prevent product damage during assembly
- Phillips head screwdriver
Do not use a drill ![]()
Weight Limitation
| 220 lbs table top | 22 lbs per shelf |
Toll-free at 1-866-619-1004
[email protected]
Nathanjames.com/help
What’s included
| Description | Qty |
| A Cam Bolt | 8 |
| B Cam Lock | 8 |
| C Screw M4x35MM | 12 |
| D Screw M4x40MM | 10 |
| E Screw M4x25MM | 16 |
| F Bolt M6x60MM | 8 |
| G Magnetic Cabinet Catcher | 2 |
| H Wooden Dowel M6x30MM | 28 |
| I Allen Key | 1 |
| J Metal Pin Hinge | 4 |
| K Screw M3x14MM | 4 |
| L Screw M3x10MM | 4 |
The goods
IMPORTANT
- Do not tighten bolts / screws completely until all bolts / screws are lined up and inserted into holes.
- Do not over tighten screws and bolts to avoid stripping.
- Please use hand tools to assemble this product. Do not use power tools.
What’s included
| Description | Qty |
| 1 Top Panel | 1 |
| 2 Bottom Panel | 1 |
| 3 Left Side Panel | 1 |
| 4 Right Side Panel | 1 |
| 5 Back Panel | 1 |
| 6 Middle Shelf | 1 |
| 7 Left Cabinet Panel | 1 |
| 8 Right Cabinet Panel | 1 |
| 9 Left Cabinet Door | 1 |
| 10 Right Cabinet Door | 1 |
| 11 Feet | 4 |
| 12 Front & Back Apron Panels | 2 |
| 13 Apron Side Panels | 2 |
| 14 Apron Corner Supports | 4 |
The goods
Step 1
How much wood could a woodchuck chuck? … I apologize, please insert wooden dowels into side panels. 
Step 2
Let’s get the shelf set up, you’re doing great!
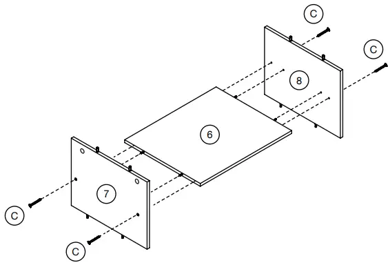
Step 3
Roll out those wrists, because it’s screwdriver time.
Step 4
Am I pumping you up too much? Reality is… if you were able to believe in Santa for 8 years, you can believe in yourself to finish this assembly.
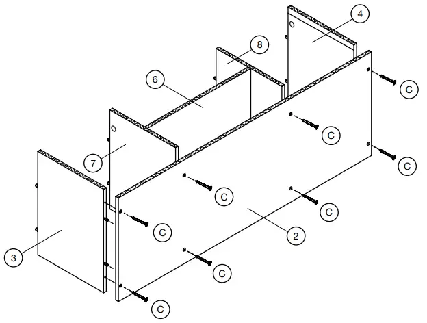
Step 5
This is the final step for the body of the TV stand and then you’re on to the base!
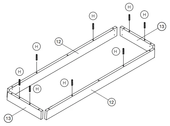
Step 6
You’re over halfway done! Wooden dowel time.
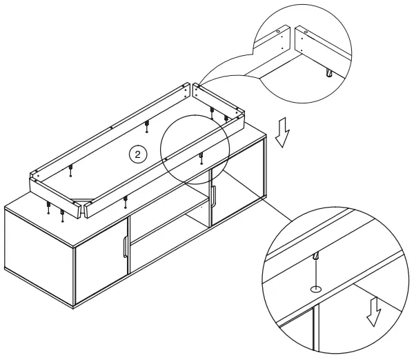
Step 7
If not pizza, then Uber Eats? You’ve worked hard enough today.
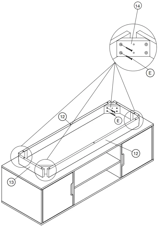
Connect the apron to the body of the TV stand, paying extra attention to line up the wooden dowels with the holes on the base of the TV stand.
Note: The hole position should be pointed inward.
Step 8
Secure the apron to the body of the TV stand.
Step 9
Secure the Apron Corner Supports (14) to the apron.
Step 10
Last but not least, attach the feet and you’re done! Time to go enjoy your well deserved slice & Netflix episode!
No heartburn, when we handle the return
Give us a call 1-866-619-1004 or shoot us a message at [email protected] we will issue you a free replacement with zero hassle.
Our way
| Give us a call | |
| Replacement | |
| You |
Their way
| Re-package item | |
| Schedule pick up | |
| Track package | |
| Replacement | |
| You |
We really don’t want you to go through the hassle of re-packaging your item and sending it back, because let’s be honest…nobody has time for that.
Safety first, fun later
We want your Wesley Media Console to last as long as possible, so we recommend that you tighten the screws 2 weeks after assembly and for added safety check the tightness of all screws every 2 months. For proper care and treatment of wood please check our website at NathanJames.com/products
Safe use of this product starts with you.
Use this Nelson Bar Stool responsibly with the primary concern for your safety. Follow assembly instructions carefully and inspect product upon receipt and each use.
Nathan James and its parent companies cannot be held legally responsible for any injuries or death resulted from failure to follow instructions or improper use of this product.
Do not modify the structure of this product in any way.
Our products have been tested to meet specific safety measures as they were originally intended to be sold. Any modifications will present the risk of creating significant afety
issues which NJ will not be responsible for.
Proper use
- DO NOT use for commercial purposes
- DO NOT frolic on media console
- DO NOT use console as foot stool
- DO NOT leave spilled liquid on console top
- DO NOT use console if damaged
- DO NOT make temporary repairs
- DO NOT use outdoor
We are only in business if you’re happy
For starters, thanks for being you.
Toll-free at 1-866-619-1004
[email protected]
NathanJames.com/help
We do our best to ensure your furniture arrives without any problems, but occasionally mistakes happen—as humans we are imperfect beings. In the event that a part is damaged or missing, we will be more than happy to provide you with replacement part(s) for free.
Warranty
This product comes with a lifetime warranty from the date of purchase. Please use your phone to scan the QR code to register your product or visit https://goo.gl/i9dk3q
Did we do alright? Please spread the love!
If you are happy with your product, tell your friends and family about us or even better leave us a review online. Spreading the word gives us the opportunity to make more people happy and keep our prices low for your next purchase.
Scan me!
Inspiration
Digital Instructions
Free Lifetime Warranty
https://qrcodes.pro/bGQtsi![]()
Founder, Nathan James
















