nathan james 71201 Enloe Storage Unit

Enloe Storage Unit
SKU 71201
The Enloe Storage Unit is a durable and stylish storage solutionfor any home. With a weight limitation of 90 lbs for the top panel and 20 lbs per shelf, this unit provides ample space for all your storage needs. The product comes with free lifetime warranty.
What’s included
| Description | Qty |
|---|---|
| Top Panel | 1 |
| Shelf | 2 |
| Bottom Panel | 1 |
| Left Side Panel | 1 |
| Right Side Panel | 1 |
| Back Vertical Stretcher | 1 |
| Back Panel | 1 |
| Left Door | 1 |
| Right Door | 1 |
| Metal Frame | 2 |
| Back Metal Stretcher | 2 |
| Center Metal Stretcher | 1 |
| Stretcher | 1 |
What you need
- A working surface to prevent product damage during assembly
- Hand tools to assemble this product. Do not use power tools.
- Your preferred relaxant
Product Usage Instructions
- Step 1
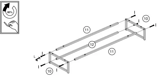
Lay down packaging carton or use carpet as a working surface. Attach the Back Metal Stretcher (11) and Center Metal Stretcher (12) to the Metal Frames (10) using the M6*40mm Bolts (I). Tighten using the provided Allen Key (L). - Step 2
First, attach the Anti-Tip Bracket (N) to the Top Panel (1) using a M4*14mm Screw (M). Next, attach the Magnetic Door Catches (E) to the Top Panel (1) and Bottom Panel (3) using the M3*14mm Screws (R). Lastly, screw four of the M6*35mm Cam Bolts (A) into the corners of the Top Panel (1), and one of the M6*35mm Cam Bolts (A) into both the Right Side Panel (5) and Left Side Panel (4). - Step 3
First, attach Part (Q) to the top and bottom corners of the Left Door (8) and Right Door (9) using the M3*12mm Screws (J). Then, attach the Hinges (F) to the doors using two of the M4*14mm Screws (H) per hinge. Lastly, attach the Handles (O) to the doors using two of the M3*12mm Screws (J) per handle. - Step 4
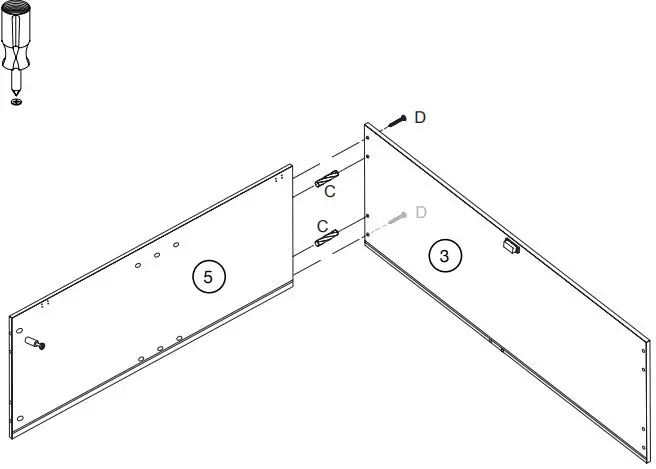
Insert Wooden Dowels (C) into the side of the Right Side Panel (5). Align the Dowels with the corresponding holes in the Bottom Panel (3) and slide together. Secure using the M4*35mm Screws (D). - Step 5
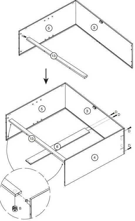
First, attach the Stretcher (13) to the Right Side Panel (5) by aligning the hole in the Stretcher (13) with the cam bolt you previously inserted in the Right Side Panel (5). Next, attach the
Left Side Panel (4) to the rest of the cabinet by aligning it with the cam bolts and wooden dowels you previously inserted.

Ok, let’s get rolling
This should be easy, just follow our instructions and you will be back to Netflix in no time.
Estimated time for assembly

What you need
- Some of your favourite bubbly or your preferred relaxant
- Use the packaging carton as a working surface to prevent product damage during assembly
Weight Limitation

Toll-free at 1-866-619-1004 [email protected] Nathanjames.com/help
The goods

IMPORTANT
- Do not tighten bolts / screws completely until all bolts / screws are lined up and inserted into holes.
- Do not over tighten screws and bolts to avoid stripping.
- Please use hand tools to assemble this product. Do not use power tools.
TOOLS

INSTALLATION
- Step 1
Let’s get this thing fired up! Lay down packaging carton or use carpet as a working surface.
Attach the Back Metal Stretcher (11) and Center Metal Stretcher (12) to the Metal Frames (10) using the M6*40mm Bolts (I). Tighten using the provided Allen Key (L).
- Step 2
First, attach the Anti-Tip Bracket (N) to the Top Panel (1) using a M4*14mm Screw (M).
Next, attach the Magnetic Door Catches (E) to the Top Panel (1) and Bottom Panel (3) using the M3*14mm Screws (R). You’ll need two screws per catch.
Lastly, screw four of the M6*35mm Cam Bolts (A) into the corners of the Top Panel (1), and one of the M6*35mm Cam Bolts (A) into both the Right Side Panel (5) and Left Side Panel (4).
- Step 3
Let’s get started on the doors!
First, attach Part (Q) to the top and bottom corners of the Left Door (8) and Right Door (9) using the M3*12mm Screws (J).
Then, attach the Hinges (F) to the doors using two of the M4*14mm Screws (H) per hinge.
Lastly, attach the Handles (O) to the doors using two of the M3*12mm Screws (J) per handle.
- Step 4
Insert Wooden Dowels (C) into the side of the Right Side Panel (5). Align the Dowels with the corresponding holes in the Bottom Panel (3) and slide together. Secure using the M4*35mm Screws (D).
- Step 5
First, attach the Stretcher (13) to the Right Side Panel (5) by aligning the hole in the Stretcher (13) with the cam bolt you previously inserted in the Right Side Panel (5).
Next, attach the Left Side Panel (4) to the rest of the cabinet by aligning it with the cam bolts and wooden dowels you previously inserted.
Secure the Stretcher (13) to Side Panels (4 & 5) using 15x10mm Cam Locks (B), then secure to the Bottom Panel (3) using two of the M4*35mm Screws (D).
Next, align the Back Vertical Stretcher (6) with the holes in
the top of the Bottom Panel (3). Ensure the side of the Back Vertical Stretcher (6) with the holes is facing the floor. Secure using two of the M4*35mm Screws (D).
Whew! That was a lot.
Drink break? We think so, too.
- Step 6
Now, carefully flip the cabinet upright and slide in the Back Panel (7). Stay strong, you’re over halfway there!
- Step 7
Now would be a good time to order that pizza you’ve been thinking about since Step 1.
Okay, time to attach the top panel that you completed in Step 2.
First, insert the M6*30mm Wooden Dowels (C) into the corresponding holes in the top of the Left Side Panel (4) and Right Side Panel (5). Once inserted, align the Top Panel (1) and place on top of the cabinet. Secure using the 15x10mm Cam Locks (B).
- Step 8
Carefully flip the unit over and attach the base that you completed from Step 1 to the Bottom Panel (3) using eight of the M6*30mm Bolts (K). Tighten using the provided Allen Key (L).
Next, secure the Stretcher (13) to the Top Panel (1) using two of the M4*35mm Screws (D).
- Step 9
Flip the unit over again so that it’s right-side up (we promise this is the last time) and then it’s time to attach the doors!
Attach the doors (8) by securing the Hinges (F) to the cabinet using the M4*14mm Screws (H). You’ll need four screws per hinge, for a total of 16.
Is your cabinet door looking crooked or unevenly spaced?
Then you’ve come to the right place. Follow the illustrations below to get your cabinet door aligned and ready for action.

Is your cabinet door looking crooked or unevenly spaced? (Cont.)
If you’re still having trouble lining everything up, your next step should be to try to adjust the feet slightly to square up the cabinet & doors. Follow the illustrations below:
- If the right door appears to be hanging low, you can adjust the adjustable leveler on the front right until the door is better aligned.

- If the left door appears to be hanging low, you can adjust the adjustable leveler on the front left until the door is better aligned.

- Step 10
Twist on the Metal Pins (G) at your desired height and slide the Shelf (2) in the unit.
- Step 11
Safety first! Use the wall anchors to attach your storage unit to the wall.
First, insert the Wall Anchor (P) into the wall, then secure the Anti-Tip Bracket (N) to the wall using a M4*35mm Screw (D).
No heartburn, when we handle the return
Give us a call 1-866-619-1004 or shoot us a message at [email protected] we will issue you a free replacement with zero hassle.

We really don’t want you to go through the hassle of re-packaging your item and sending it back, because let’s be honest…nobody has time for that.
Safety first, fun later
We want your Enloe Storage Unit to last as long as possible, so we recommend that you tighten the screws 2 weeks after assembly and for added safety check the tightness of all screws every 2 months.
For proper care and treatment of wood and metal please check our website at NathanJames.com/products
Safe use of this product starts with you.
Use this storage unit responsibly with the primary concern for your safety. Follow assembly instructions carefully and inspect product upon receipt and each use.
Nathan James and its parent companies cannot be held legally responsible for any injuries or death resulted from failure to follow instructions or improper use of this product.
Do not modify the structure of this product in any way.
Our products have been tested to meet specific safety measures as they were originally intended to be sold. Any modifications will present the risk of creating significant safety issues which NJ will not be responsible for.
Proper use
- DO NOT use for commercial purposes
- DO NOT climb on storage unit
- DO NOT exceed weight limit
- DO NOT leave spilled liquid on storage unit
- DO NOT use if storage unit is damaged or broken
- DO NOT make temporary repairs
- DO NOT use outdoors
We are only in business if you’re happy
For starters, thanks for being you.
- Toll-free at 1-866-619-1004
- [email protected]
- NathanJames.com/help
We do our best to ensure your furniture arrives without any problems, but occasionally mistakes happen—as humans we are imperfect beings. In the event that a part is damaged or missing, we will be more than happy to provide you with replacement part(s) for free.
Warranty
This product comes with a lifetime warranty from the date of purchase. Please use your phone to scan the QR code to register your product or visit https://goo.gl/i9dk3q
Did we do alright? Please spread the love!
If you are happy with your product, tell your friends and family about us or even better leave us a review online. Spreading the word gives us the opportunity to make more people happy and keep our
prices low for your next purchase.

Brooklyn Burdon
Founder, Nathan James

















