Pynsseu E26 Pendant Bulb Lamp Frame Weight

Product Information
- Product Name: Chandelier
- Model Number: Not Provided
- Brand: Not Provided
- Warranty: 2 years from the date of purchase
- Parts Included: Frame parts, Power Cord, Wire connector, Mounting bracket, Screw, Plastic bracket, Metal Canopy, Wire lock, Metal Cup, Lampshade
Product Usage Instructions
Step 1: Check Parts
- Use the parts list to ensure that all parts are included in the package.
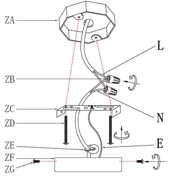
Step 2: Canopy Installation Instructions
- Connect the black wire from the ceiling (junction box) to the Lwire from the fixture.
- Connect the white wire from the ceiling (junction box) to the Nwire from the fixture.
- Attach the E wire from the fixture to the mounting bracket and secure an additional E wire from the mounting bracket to the junction box.
- Secure the mounting bracket to the junction box and insert screws into the side of the top unit of the mounting bracket.
Step 3: Frame Assembly Instructions
- Fix the mounting bracket (01) to the ceiling.
- Fix the lamp body (02) to the mounting bracket (01) with screws (03)
- Install bulbs (04, not included) into the lamp fixture.
Cleaning and Maintenance Instructions
- To clean the chandelier frame, use a clean, soft, dry cloth. Do not use any metal polishes, cleaners, abrasives, or any substance that could remove the protective finish.
- To clean the crystals, wet a soft cotton fabric in clean warm water and wipe gently. Then polish with a dry soft cotton fabric.
Warranty Information
The finish and frame of the chandelier or fixture are warranted for a period of two (2) years from the date of purchase. Our company will at its option, repair or replace any frame that has a defect in the material or workmanship during the warranty period. All crystals are guaranteed for their original quality during the life of the chandelier. Breakage is not covered by this warranty.
Thank you for choosing our exquisite chandelier. We are providing the finest quality crystal chandelier for our customers. Our master designers and craftsmen intend to give professional insight into lighting design and product quality. Prompt and efficient services are our priority. We enclosed detail instructions on how to install your light fixture properly. Please read all instructions carefully and thorough thoroughly.
SAFETY
Warning: MAKE SURE THE ELECTRICITY TO THE WIRES YOU ARE WORKING ON IS SHUT OFF. BY EITHER REMOVING THE FUSE OR TURNING OFF THE CIRCUIT BREAKER.
CAUTION
- Before assembling the lighting fixture, please read all instructions carefully.
- All frame & crystal components are fragile, please handle them with care.
- Required supply circuit: 110 – 130V/60Hz
- Labeled wires are “L” for live wire, “N” for neutral wire, and “E” for the ground wire.
- Never install fixtures on the damp ceiling, the room should be dry and well ventilated
- All electrical components must be installed by a licensed electrician and in accordance with the National Electrical Code and the appropriate local electrical codes.
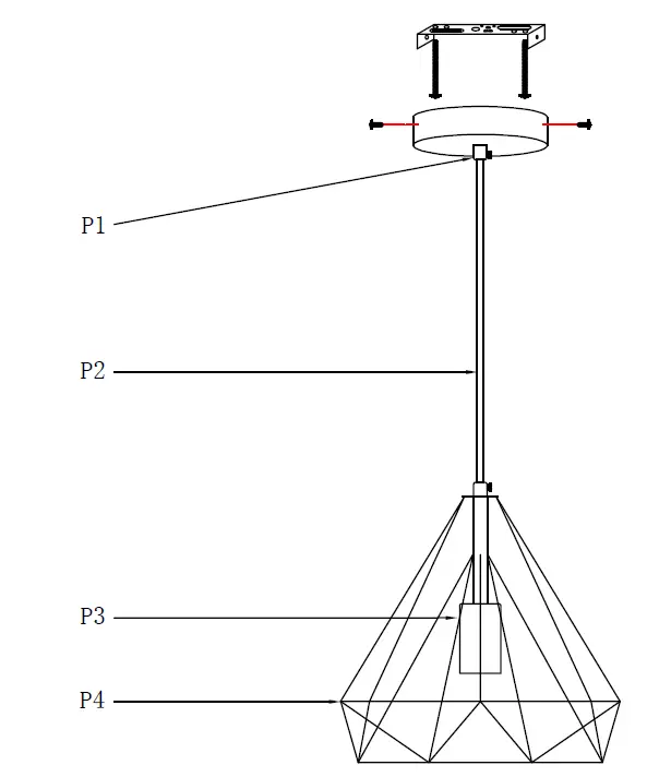
Frame Parts List

Step 1
Please use the parts list to ensure you are not missing any parts
Step 2
Canopy installation instructions
“L” = Live wire
“N” = Neutral wire
“E” = Ground wire
Important: This product must be installed in accordance with the local installation codes by a person familiar with the construction and operation of this product and the hazards involved.
- Black wire from the ceiling(junction box) attaches to the “L” wire from the fixture.
- White wire from the ceiling((junction box) attaches to the “N” wire from the fixture.
- “E” wire from the fixture is attached to the mounting bracket and an additional “E” wire from the mounting bracket must be secured to the junction box.
- Secure the mounting bracket to the junction box.
- Insert screws in the side of the top unit of the mounting bracket.
Frame Assembly Diagram

Step 3
Frame Assembly Instructions
Installation:
Please read all instructions carefully.
Before you proceed to install, make sure that the power supply is turned off and remains off until installation is complete. Please note that each part has been assigned a number. Please proceed in numerical order.
- Fix the mounting bracket(01) to the ceiling.
- Fix the lamp body(02) to the mounting bracket(01) with a screw(03).
- Install the bulbs(04, not included) into the lamp fixture.
Congratulations !
You are now done installing your fixture. Sit back and admire each crystal as it will become the statement piece for your room/house.
Thank you.
Cleaning and Maintenance of the Chandelier Frame
The finish on our chandelier frames and fixture frames is protected by a durable coating of lacquer. To clean, use a clean, soft, dry cloth. Do not use any metal polishes, cleaners, abrasives, or any substance which could remove the protective finish. Failure to follow these instructions automatically voids the guarantee.
Cleaning and Maintenance of Crystals
Wet a soft cotton fabric in clean warm water and wipe gently, then polish with a dry soft cotton fabric.
Warranty
The finish and frame of your new chandelier or fixture are warranted for a period of two(2)years from the date of purchase. Our company will at its option, repair or replace any frame that has a defect in the material or workmanship during the warranty period. All crystals are guaranteed for their original quality during the life of the chandelier. Breakage is not covered by this warranty.
Returns and Conditions of Warranty
Returns must be pre-authorized by contacting our customer service department at the address on the reverse side. Returns will only be accepted with a written return merchandise authorization and return shipping charges pre-paid. We reserve the right to inspect all returned merchandise to fully determine the nature of any defect. This guarantee shall not apply to any product that has been changed, altered, or otherwise modified, nor shall it apply to any product that has been repaired or altered by anyone other than a pre-authorized facility. We will not be responsible for any breakage or damages incurred during transit, nor for crystal parts or metal frame parts that have been subject to misuse, negligence, accident or inappropriate handling. Also, we will not be held responsible for damage incurred during improper installation or wiring by others,nor for damages resulting from a failure to follow the recommended maintenance or installation procedures.This guarantee is issued in lieu of any and all other guaranteed or warrantee, whether written or implied and any and all other obligations or liabilities. Further,we neither authorize nor permit any other person or firm to assume for us,any liability in connection with the sale of our products.

















