KOSPEL SVK Buffer Tank for Heat Pump

Product Information
The SVK buffer tank is a black steel sheet tank designed for heating water and/or cold storage with cooperation with central heating boilers and heat pumps. The tank can also function as a divider (hydraulic clutch), hydraulic separator, and heating circuit from the boiler room. The inner surface of the tank is raw steel, and the tank has thermal insulation. The maximum working pressure of the buffer tank is 0.6MPa.
Technical Specifications
- Nominal capacity: 100l
- Nominal tank pressure: 0.6MPa
- Nominal temperature: 95°C
- Minimum temperature for chilled water: 6°C
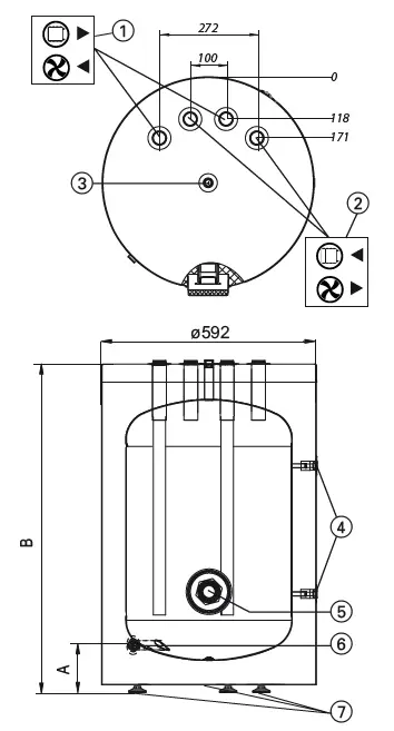
- Dimensions A: 127mm
- Dimensions B: 906mm
- Weight without water: 48kg
| CH buffer tank | SVK 100 | ||
| Storage capacity | l | 100 | |
| Rated pressure storage | MPa | 0,6 | |
| Rated temperature | °C | 6 – 95 | |
| Minimum temp. of chilled water | °C | 6 | |
|
Dimensions | A |
mm | 127 |
| B | 906 | ||
| Weight (empty) | kg | 48 | |
The manufacturer reserves the right to make changes to the product which are not present in this manual instruction
Product Usage Instructions
Before using the SVK buffer tank, make sure that it has been installed correctly and all connections are secure. Follow these instructions to ensure safe and reliable operation:
- Read and strictly follow the assembly and operating instructions provided by the manufacturer.
- Do not install or use the buffer tank in any way that is not described in the instruction manual as it may result in damage to the product and void the warranty.
- Have a qualified installer perform the installation, initial start-up, and all hydraulic work.
- Install the buffer tank in a standing vertical position using three feet.
To start the buffer tank:
- Visually inspect the tank to ensure proper installation.
- Check the tightness of all connections.
- Check the safety valve operation according to the manufacturer’s instructions.
If there is a leak from the buffer tank, close the installation valves and contact a service technician immediately. If there is excessive pressure in the tank, close the CO connection valves and contact a service technician immediately. When disposing of the buffer tank, follow local regulations for recycling and disposal.
Application
SVK buffer tank is intended for heating water and/or cold storage with co-opeartion with central heating boilers and heat pumps. Additionally, buffer tanks may also perform the following function: divider (hydraulic clutch), hydraulic seperator, heating circuit from the boiler room. A buffer tank is made of black steel sheet, the inner surface of the tank is a raw steel. SVK buffer tank has a thermal insulation. The maximum working pressure of buffer tank is 0,6MPa.
Assembly and operating instructions
- Read and strictly follow this assembly and operating instructions to ensure a long life and reliable buffer tank operation.
- The manufacturer of this buffer tank will not be liable for any damages due to the failure to follow this assembly and operating instructions.
- The buffer tank must not be installed in rooms where the temperature may drop below 0°C.
- The buffer tank installation and initial start-up as well as all hydraulic work must be performed by a quailified installer.
- The buffer tank is designed for standing vertical installation – screw on three feet.
- Connections with water installation must be made in accordance with the legally binding standards.
- Rated temperature of water in the buffer tank should not exceed 95°C!
- All issues should be reported to the service department.
The buffer tank is suitable for fitting an immersion heater with thermostat (GRW 1.4, GRW 2.0). The immersion heater must be fitted in cork 1 1/2’’. A maximum length of immersion heater: 360mm
Construction

Buffer tank SVK 100

- CH return (1″)
- HP return (1”)
- CH feed (1”)
- HP feed (1”)
- Air vent connection (1/2″)
- Sensor pipe
- immersion heat connection (cork 1 1/2’’)
- drainage (1/2’’)
- feet
Installation
- Buffer tank is designed for vertical mounting only (screw feet).
- Buffer tank can be installed in the following central heating systems:
- open system, in accordance with legally binding requirements,
- closed system, in accordance with legally binding requirements.
- Buffer tank must be mounted in the place and in such a way to avoid room flooding caused by leaking tank or connectors.
Start-up
Check out the pipe connections and make sure that you observe the connection diagrams before start-up. Check out for water leaks. Check out the safety valve performance in accordance to valve manufacturer’s instruction
Recycling and waste disposal
Removal of product and equipment:
Do not dispose of the product or equipment with household waste. Make sure that the product and all equipment is disposed of properly. Observe all applicable regulations.
Decommissioning
Used product must not be treated as a household waste. By disposing of this product correctly you will help to prevent potential negative consequences for the environment that could otherwise arise through inappropriate waste handling. For more detailed information about recycling of this product, please contact your local authority waste management service.
How to deal with damage or irregularities
| Irregularity | Instructions for conduct |
| Leakage of water from the tank | turn off the CH cut-off valves and contact the service |
| Excessive pressure increase in the tank |

















