C7089A Outdoor Sensor
INSTALLATION INSTRUCTIONS
This is a legacy product document supported by Resideo. It is no longer manufactured
![]()
APPLICATION
The C7089 Outdoor Sensor is used with the PC8900 Perfect Climate Comfort Center™ Control System and the W8900 Remote Module. It senses the outdoor temperature for display on the PC8900 at the touch of a key.
The sensor is encapsulated to protect against water and contaminants, and includes 60 in. leadwires.
SPECIFICATIONS
Operating Ambient Temperature Range:
-40 to 128°F (-40 to 53°C)
Operating Relative Humidity:
5% to 95% noncondensing
Dimensions in inches (millimeters):
2-1/4 (57) x 3/8 (10) with 60 (1524) leadwires
INSTALLATION
When Installing this Product…
- Read these instructions carefully. Failure to follow them could damage the product or cause a hazardous condition.
- Check the ratings given in the instructions and on the product to make sure the product is suitable for your application.
- Installer must be a trained, experienced service technician.
- After installation is complete, check out product operation as provided in these instructions.
CAUTION
Disconnect power supply before connecting wiring to prevent electrical shock or equipment damage.
Location and Mounting (Fig. 1)
Mount the sensor where:
- setting can not be tampered with.
- there is good air circulation.
- it can measure the true outdoor ambient temperature.
- surface is flat.
- the wire distance between the C7089 and W8900 is less than 200 feet.
Do not mount the sensor:
- in the direct sunlight.
- where hot or cold air blows on the sensor. Discharge line from an outdoor compressor unit, vent or fan will cause inaccurate temperature readings.
- where snow, ice or debris can cover it.
Use the following steps to mount the sensor:
- Remove the sensor from the mounting clip.
- Mark the area on the surface where the C7089 mounting clip will be mounted.
- Mount the clip.

Fig. 1. Typical locations for outdoor sensor.
Wiring
CAUTION
Keep wiring at least one foot away from large inductive loads such as motors, line starters, lightning ballasts, and large power distribution panels. Failure to follow these wiring practices can introduce electrical interference (noise), which can cause erratic system operation. Use shielded cable to reduce interference when rerouting is not possible. Ground the shielded cable to the GND terminal on the W8900.
IMPORTANT
Erratic temperature readings from a sensor can occur as a result of any of the wiring practices described below. These practices must be avoided to assure proper operation. Use shielded cable to reduce interference when rerouting of sensor wiring is not possible.
a. Do not route temperature sensor wiring with building power wiring, next to control contactors or near light dimming circuits, electric motors or welding equipment.
b. Avoid poor wiring connections.
c. Avoid intermittent or missing building earth ground.
CAUTION
Disconnect the power supply before connecting the wiring to prevent electrical shock or equipment damage.
Wiring must comply with applicable codes, ordinances and regulations.
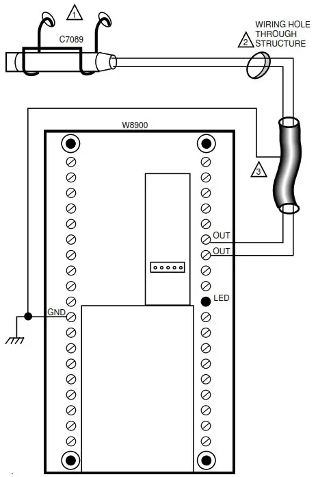
- Wire the C7089 Outdoor Sensor to the terminals marked OUT on the W8900 Remote Module. If the leadwire provided with the C7089 is not long enough, run cable to a hole at the selected C7089 location. Color-coded, 18-gauge thermostat wire is recommended. For an example of general wiring of the C7089, see Fig. 2. Pigtail wiring can be used.
- Mount the C7089 in its mounting clip.
- Plug wiring hole using nonhardening caulk or putty.

- USE APPROPRIATE MOUNTING MEANS FOR THE TYPE OF STRUCTURE.
- PLUG WIRING HOLE WITH NONHARDENING CAULK OR PUTTY.
- IF SHIELDED CABLE IS REQUIRED, GROUND TO GND TERMINAL ON W8900.
M4457
Fig. 2. Wiring diagram for the C7089 Outdoor Sensor to the W8900 Remote Module.
OPERATION
The C7089 Outdoor Sensor converts outdoor ambient temperature to a resistance that the W8900 Remote Module can interpret. The W8900 Remote Module in turn sends a signal to the PC8900 where the outdoor temperature is displayed when the CHECK key is pressed. The C7089 has a positive temperature coefficient (PTC), which means that the resistance increases as the temperature increases. Fig. 3 shows the resistance characteristics of the C7089 Sensor.
RESISTANCE INCREASES 4.84 OHMS PER 1°F CHANGE OR 8.7 OHMS PER 1°C CHANGE.
| OUTDOOR TEMPERATURE | OHMS OF RESISTANCE | |
| °F | °C | |
| -40 | -40 | 2929 to 2905 |
| -35 | -37.2 | 2953 to 2929 |
| -30 | -34.4 | 2978 to 2953 |
| -25 | -31.7 | 3002 to 2978 |
| -20 | -28.9 | 3026 to 3002 |
| -15 | -26.1 | 3050 to 3026 |
| -10 | -23.3 | 3074 to 3050 |
| -5 | -20.6 | 3099 to 3074 |
| 0 | -17.8 | 3123 to 3099 |
| 5 | -15 | 3147 to 3123 |
| 10 | -12.2 | 3171 to 3147 |
| 15 | -9.4 | 3195 to 3171 |
| 20 | -6.7 | 3220 to 3195 |
| 25 | -3.9 | 3244 to 3220 |
| 30 | -1.1 | 3268 to 3244 |
| 35 | 1.7 | 3292 to 3268 |
| 40 | 4.4 | 3316 to 3292 |
| 45 | 7.2 | 3341 to 3316 |
| 50 | 10 | 3365 to 3341 |
| 55 | 12.8 | 3389 to 3365 |
| 60 | 15.6 | 3413 to 3389 |
| 65 | 18.3 | 3437 to 3413 |
| 70 | 21.1 | 3462 to 3437 |
| 75 | 23.9 | 3486 to 3462 |
| 80 | 26.7 | 3510 to 3486 |
| 85 | 29.4 | 3534 to 3510 |
| 90 | 32.2 | 3558 to 3534 |
| 95 | 35 | 3583 to 3558 |
| 100 | 37.8 | 3607 to 3582 |
| 105 | 40.6 | 3631 to 3607 |
| 110 | 43.3 | 3655 to 3631 |
| 115 | 46.1 | 3679 to 3655 |
| 120 | 48.9 | 3703 to 3679 |
| 120 | 51.7 | 3728 to 3703 |
| 130 | 54.4 | 3752 to 3728 |
| 135 | 57.2 | 3776 to 3752 |
| 140 | 60 | 3800 to 3776 |
| 145 | 62.8 | 3824 to 3800 |
| 150 | 65.6 | 3849 to 3824 |
Fig. 3. C7089A sensor resistance vs. temperature performance characteristics.
CHECKOUT
Allow the C7089 Outdoor Sensor to soak in the outdoor air for a minimum of five minutes before taking a reading. With an accurate thermometer (±1°F [0.5°C]), measure the temperature at the sensor location, allowing time for the thermometer to stabilize before reading. Press the CHECK key on the PC8900 until the display shows OUT followed by the temperature reading. See Fig. 4. The PC8900 reading should match the reading taken outdoors.
To verify the resistance of the sensor, remove one wire from one of the C7089 wiring terminals. Use an ohmmeter to measure the resistance across the sensor. Then verify sensor accuracy with the temperature/resistance curve of Fig. 3.
CALIBRATION
The C7089 Outdoor Sensor is calibrated in the factory and cannot be recalibrated in the field.

Fig. 4. Outdoor temperature display on the PC8900.
®U.S. Registered Trademark
Copyright © 1995 Honeywell Inc. • All Rights Reserved
69-0896-1

| Home and Building Control Honeywell Inc. 1985 Douglas Drive Golden Valley, MN 55422 | Home and Building Control Honeywell Limited-Honeywell Limitée 740 Ellesmere Road Scarborough, Ontario M1P 2V9 |
69-0896—1 69-0896—1 J.H. Rev. 6-95 Printed in Mexico


















