Nowodvorski BRAZOS I, III Instruction Manual
TOOLS REQUIRED

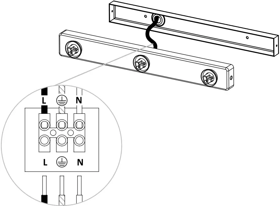
INSTALLATION INSTRUCTION








Nowodvorski BRAZOS I, III Instruction Manual









Download manual
Here you can download full pdf version of manual, it may contain additional safety instructions, warranty information, FCC rules, etc.